一种手术衣折边机构的制作方法

本技术涉及手术衣加工,具体为一种手术衣折边机构。
背景技术:
1、众所周知,在医生做手术的过程中需要穿戴手术衣,手术衣作为手术过程中必要的防护服装,用于降低医务人员接触病原微生物的风险,同时也能降低病原微生物在医务人员与患者之间相互传播的风险,是手术操作中无菌区域的安全屏障,在手术衣加工的过程中一般需要使用到折边机构对手术衣的衣边进行折叠,将手术衣的衣边隐藏到内部,保证手术衣的美观性和自身的生产质量,现有的折边机构一般是折边拉筒式的,将手术衣布料沿着折边拉筒的沟槽穿过,然后可以通过拉动实现连续的折边,一般通过人工拉动,人工负担较大,也有双辊对夹驱动布料移动的,折边后的布料比另一侧的单层布料厚,进而驱动的过程中只能对折边后的多层布料进行驱动,一般不能对单层的布料进行驱动,容易将布料拉斜,影响手术衣的折边质量。
技术实现思路
1、本实用新型要解决的技术问题是克服现有的缺陷,提供一种手术衣折边机构,可以同时对折边后的多层布料以及单层的布料进行驱动,可以避免布料的倾斜,保证了折边质量,同时减轻了生产人员的劳动负担,提升了生产效率,可以有效解决背景技术中的问题。
2、为实现上述目的,本实用新型提供如下技术方案:一种手术衣折边机构,包括底板和驱动组件;
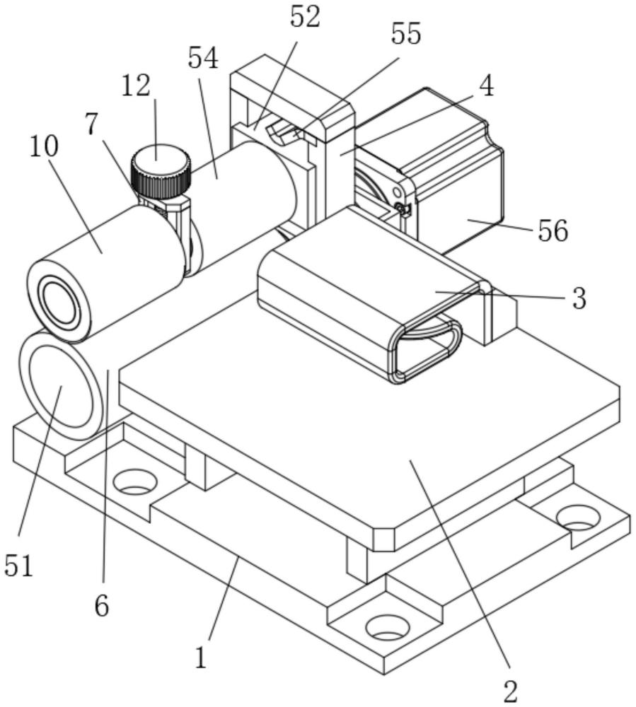
3、底板:其上表面的右侧通过支撑条设有工作台面,工作台面上表面的后侧设有折边拉筒,底板上表面的左后侧设有支撑座;
4、驱动组件:其包括驱动辊、滑块、压轴一和压管一,所述驱动辊的后端通过轴承与支撑座前侧面下端的安装孔转动连接,支撑座的上端滑动连接有滑块,滑块前侧面设有压轴一,压轴一的外弧面通过轴承转动连接有压管一,对手术衣折边的过程中,可以带动手术衣布料连续的向左移动,进而在折边拉筒作用下可以进行连续的折边,减轻了生产人员的劳动负担,并且有助于提升生产效率,并且可以同时对折边后的多层布料以及单层的布料进行驱动,可以避免布料的倾斜,保证了折边质量。
5、进一步的,所述驱动组件还包括弹簧片,所述弹簧片设置于支撑座内部的上端,弹簧片的下端与滑块配合设置,给滑块提供了向下的压力。
6、进一步的,所述驱动组件还包括电机,所述电机设置于支撑座后侧面的下端,电机的输出轴与驱动辊的后端固定连接,电机的输入端电连接外部控制器的输出端,给驱动辊的旋转提供了动力。
7、进一步的,所述驱动辊的外弧面固定套设有橡胶套,增大了驱动辊表面的摩擦力。
8、进一步的,所述压轴一的前端设有滑座,滑座的内部滑动连接有梯形滑块,梯形滑块的前侧面设有压轴二,压轴二的外弧面通过轴承转动连接有压管二,方便单层布料的驱动。
9、进一步的,所述滑座的上端通过轴承转动连接有丝杆,丝杆的下端与梯形滑块中部的螺纹孔螺纹连接,方便调节压管二与压管一偏心的距离。
10、进一步的,所述丝杆的上端设有旋钮,方便控制丝杆的旋转。
11、与现有技术相比,本实用新型的有益效果是:本手术衣折边机构,具有以下好处:
12、1、调控外部控制器,电机运转,电机的输出轴带动驱动辊进行逆时针旋转,驱动辊带动橡胶套旋转,橡胶套在上方压管一和压管二的作用下,驱动手术衣布料向左移动,手术衣布料在折边拉筒内部向左移动,折边拉筒给手术衣布料进行导向实现连续的折边,对手术衣折边的过程中,可以带动手术衣布料连续的向左移动,进而在折边拉筒作用下可以进行连续的折边,减轻了生产人员的劳动负担,并且有助于提升生产效率。
13、2、使用时将底板安装到手术衣加工设备上,将需要折边的手术衣布料从工作台面上表面从前至后插入到折边拉筒前端的下方,然后将手术衣布料的后端向上翻折到折边拉筒的内部,然后手术衣布料沿着折边拉筒壁体移动绕至折边拉筒的中部,进而将手术衣边布料折叠成三层,然后将手术衣布料从左侧拉出,并将折叠后的便从压管一和橡胶套之间穿过,同时将手术衣布料从压管二和橡胶套之间穿过,弹簧片给滑块施加向下的作用力,滑块通过压轴一对压管一产生向下的作用力,压管一将下方折边好的手术衣压紧,同时压管二对单层的手术衣压紧,同时可以根据手术衣布料的厚度,对压管二与压管一之间的偏心距进行调节,调节的过程中,可以旋转旋钮,旋钮带动丝杆旋转,丝杆带动梯形滑块沿滑座进行竖向的滑动,梯形滑块通过压轴二带动压管二进行竖向移动,在驱动手术衣布料移动的过程中,可以同步对单层的布料进行压紧同步进行驱动,并且可以根据手术衣布料厚度的不同对压管二与压管一之间的偏心距进行调节,进而对手术衣布料有良好的驱动效果避免拉斜,保证有良好的折边效果。
技术特征:
1.一种手术衣折边机构,其特征在于:包括底板(1)和驱动组件(5);
2.根据权利要求1所述的一种手术衣折边机构,其特征在于:所述驱动组件(5)还包括弹簧片(55),所述弹簧片(55)设置于支撑座(4)内部的上端,弹簧片(55)的下端与滑块(52)配合设置。
3.根据权利要求1所述的一种手术衣折边机构,其特征在于:所述驱动组件(5)还包括电机(56),所述电机(56)设置于支撑座(4)后侧面的下端,电机(56)的输出轴与驱动辊(51)的后端固定连接,电机(56)的输入端电连接外部控制器的输出端。
4.根据权利要求1所述的一种手术衣折边机构,其特征在于:所述驱动辊(51)的外弧面固定套设有橡胶套(6)。
5.根据权利要求1所述的一种手术衣折边机构,其特征在于:所述压轴一(53)的前端设有滑座(7),滑座(7)的内部滑动连接有梯形滑块(8),梯形滑块(8)的前侧面设有压轴二(9),压轴二(9)的外弧面通过轴承转动连接有压管二(10)。
6.根据权利要求5所述的一种手术衣折边机构,其特征在于:所述滑座(7)的上端通过轴承转动连接有丝杆(11),丝杆(11)的下端与梯形滑块(8)中部的螺纹孔螺纹连接。
7.根据权利要求6所述的一种手术衣折边机构,其特征在于:所述丝杆(11)的上端设有旋钮(12)。
技术总结
本技术公开了一种手术衣折边机构,包括底板和驱动组件;底板:其上表面的右侧通过支撑条设有工作台面,工作台面上表面的后侧设有折边拉筒,底板上表面的左后侧设有支撑座;驱动组件:其包括驱动辊、滑块、压轴一和压管一,所述驱动辊的后端通过轴承与支撑座前侧面下端的安装孔转动连接,支撑座的上端滑动连接有滑块,滑块前侧面设有压轴一,压轴一的外弧面通过轴承转动连接有压管一,该手术衣折边机构,可以带动手术衣布料连续的向左移动,减轻了生产人员的劳动负担,提升了生产效率,并且可以同时对折边后的多层布料以及单层的布料进行驱动,可以避免将布料拉斜,保证了折边质量。
技术研发人员:王广军,周昕
受保护的技术使用者:河南健威医疗器械有限公司
技术研发日:20231118
技术公布日:2024/7/11
技术研发人员:王广军,周昕
技术所有人:河南健威医疗器械有限公司
备 注:该技术已申请专利,仅供学习研究,如用于商业用途,请联系技术所有人。
声 明 :此信息收集于网络,如果你是此专利的发明人不想本网站收录此信息请联系我们,我们会在第一时间删除
