一种卡扣的活动结构的制作方法

本技术涉及活动结构领域,具体涉及一种卡扣的活动结构。
背景技术:
1、目前,市面上的活动结构繁多,普遍存在的活动结构虽活动柔软效果好,但其设计造型上缺乏设计感,其组合形成的产品款式形态变化单一。
2、随着科技的不但发展,人们对于项链、手链等产品的要求不断提高,希望产品形态可呈现多样性变化,从而对构成该产品的活动结构提出了更多的要求并不断改进。而满足设计形态多元化的活动结构大多都需经过手工将活动单元件逐个组扣的方式连接在一起,制作较为繁琐耗时,而且,经过手工组扣得到的活动结构容易出现吻合活动性能较差的问题,而影响活动的顺畅性。
技术实现思路
1、为了克服现有技术的不足,本实用新型的目的在于提供一种卡扣的活动结构,其可提高制作效率,提高吻合活动性能,以提高活动的顺畅性。
2、本实用新型的目的采用以下技术方案实现:
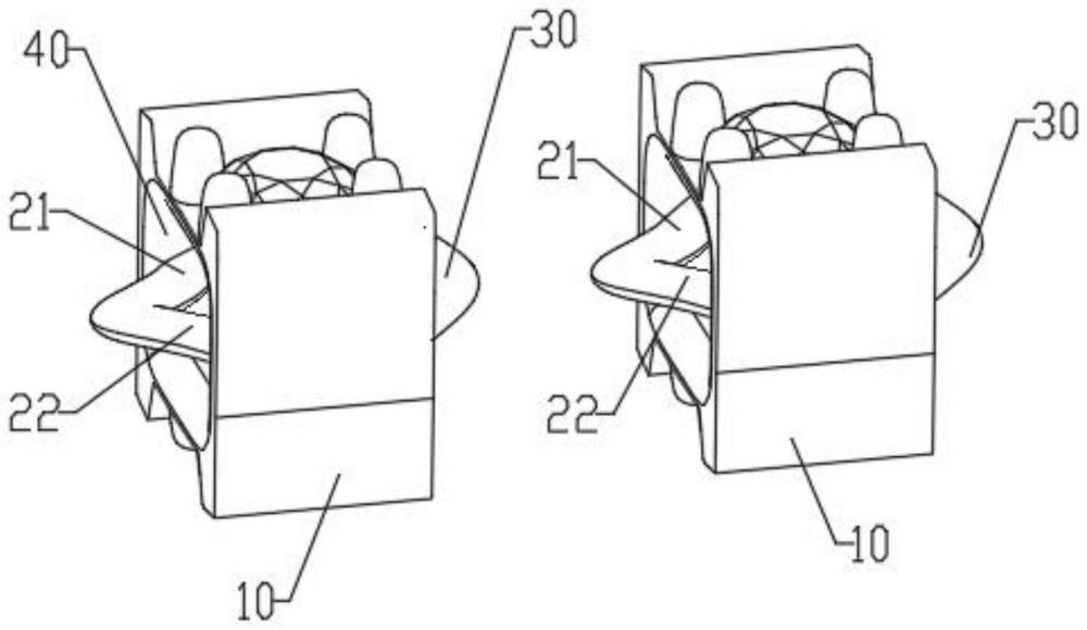
3、一种卡扣的活动结构,包括通过3d打印的方式一体成型并依次连接在一起的至少两活动单元件,任意相邻的两活动单元件之间通过扣接结构连接;所述扣接结构包括相互扣接的第一管扣和第二管扣;所述第一管扣包括第一扣接管段和第二扣接管段,所述第一扣接管段与第二扣接管段相连,并构成v字形;所述第一扣接管段远离第二扣接管段的一端形成为第一端,所述第二扣接管段远离第一扣接管段的一端形成为第二端;所述第二管扣包括第三扣接管段和第四扣接管段,所述第三扣接管段与第四扣接管段相连,并构成v字形;所述第三扣接管段远离第四扣接管段的一端形成为第三端,所述第四扣接管段远离第三扣接管段的一端形成为第四端,所述扣接结构的第一管扣的第一端和第二端设置在相邻的两活动单元件的其中之一上,所述扣接结构的第二管扣的第三端和第四端设置在相邻的两活动单元件的另一上。
4、所述第一管扣的第一扣接管段和第二扣接管段的横截面均呈椭圆形状。
5、所述第一管扣在第一扣接管段和第二扣接管段相连的部位的横截面直径大于第一管扣其余部位的横截面直径。
6、所述第二管扣的第三扣接管段和第四扣接管段的横截面均呈椭圆形状。
7、所述第二管扣在第三扣接管段和第四扣接管段相连的部位的横截面直径大于第二管扣其余部位的横截面直径。
8、所述第一管扣的第一扣接管段与第二扣接管段相连的点形成为第一点,第二管扣的第三扣接管段与第四扣接管段相连的点形成为第二点,所述扣接结构的第一点、第二点呈相对设置。
9、与扣接结构的第一点与第二点的连线垂直的面构成参照面,所述扣接结构的第一扣接管段、第二扣接管段、第三扣接管段、第四扣接管段在该扣接结构的参照面上的投影绕该扣接结构的第一点在该扣接结构的参照面上的投影呈圆周排列。
10、所述扣接结构的第一管扣呈横向设置,所述扣接结构的第二管扣呈纵向设置。
11、所述活动单元件上设置有空腔。
12、各活动单元件的空腔的其中一侧设置有所述第一管扣,另一侧设置有所述第二管扣。
13、相比现有技术,本实用新型的有益效果在于:
14、本实用新型提供的一种卡扣的活动结构,由于其将至少两活动单元件通过3d打印一体成型并依次连接在一起,从而无需人工手动组扣活动单元件,可减少制作时间,提高制作效率,而且,通过合理设置第一管扣和第二管扣的结构,可简化其结构,方便于形成,并可提高吻合活动性能,以提高活动的顺畅性。
技术特征:
1.一种卡扣的活动结构,其特征在于:包括通过3d打印的方式一体成型并依次连接在一起的至少两活动单元件,任意相邻的两活动单元件之间通过扣接结构连接;所述扣接结构包括相互扣接的第一管扣和第二管扣;所述第一管扣包括第一扣接管段和第二扣接管段,所述第一扣接管段与第二扣接管段相连,并构成v字形;所述第一扣接管段远离第二扣接管段的一端形成为第一端,所述第二扣接管段远离第一扣接管段的一端形成为第二端;所述第二管扣包括第三扣接管段和第四扣接管段,所述第三扣接管段与第四扣接管段相连,并构成v字形;所述第三扣接管段远离第四扣接管段的一端形成为第三端,所述第四扣接管段远离第三扣接管段的一端形成为第四端,所述扣接结构的第一管扣的第一端和第二端设置在相邻的两活动单元件的其中之一上,所述扣接结构的第二管扣的第三端和第四端设置在相邻的两活动单元件的另一上。
2.如权利要求1所述的卡扣的活动结构,其特征在于:所述第一管扣的第一扣接管段和第二扣接管段的横截面均呈椭圆形状。
3.如权利要求2所述的卡扣的活动结构,其特征在于:所述第一管扣在第一扣接管段和第二扣接管段相连的部位的横截面直径大于第一管扣其余部位的横截面直径。
4.如权利要求1所述的卡扣的活动结构,其特征在于:所述第二管扣的第三扣接管段和第四扣接管段的横截面均呈椭圆形状。
5.如权利要求4所述的卡扣的活动结构,其特征在于:所述第二管扣在第三扣接管段和第四扣接管段相连的部位的横截面直径大于第二管扣其余部位的横截面直径。
6.如权利要求1所述的卡扣的活动结构,其特征在于:所述第一管扣的第一扣接管段与第二扣接管段相连的点形成为第一点,第二管扣的第三扣接管段与第四扣接管段相连的点形成为第二点,所述扣接结构的第一点、第二点呈相对设置。
7.如权利要求6所述的卡扣的活动结构,其特征在于:与扣接结构的第一点与第二点的连线垂直的面构成参照面,所述扣接结构的第一扣接管段、第二扣接管段、第三扣接管段、第四扣接管段在该扣接结构的参照面上的投影绕该扣接结构的第一点在该扣接结构的参照面上的投影呈圆周排列。
8.如权利要求1所述的卡扣的活动结构,其特征在于:所述扣接结构的第一管扣呈横向设置,所述扣接结构的第二管扣呈纵向设置。
9.如权利要求1所述的卡扣的活动结构,其特征在于:所述活动单元件上设置有空腔。
10.如权利要求9所述的卡扣的活动结构,其特征在于:各活动单元件的空腔的其中一侧设置有所述第一管扣,另一侧设置有所述第二管扣。
技术总结
本技术公开了一种卡扣的活动结构,包括通过3D打印的方式一体成型并依次连接在一起的至少两活动单元件,任意相邻的两活动单元件之间通过扣接结构连接;所述扣接结构包括相互扣接的第一管扣和第二管扣;所述第一管扣包括第一扣接管段和第二扣接管段,所述第一扣接管段与第二扣接管段相连,并构成V字形;所述第二管扣包括第三扣接管段和第四扣接管段,所述第三扣接管段与第四扣接管段相连,并构成V字形;所述扣接结构的第一管扣的第一端和第二端设置在相邻的两活动单元件的其中之一上,所述扣接结构的第二管扣的第三端和第四端设置在相邻的两活动单元件的另一上。本技术可提高制作效率,提高吻合活动性能,以提高活动的顺畅性。
技术研发人员:王超怡,湛振铭,冼冬梅,曹丽思,潘展昭
受保护的技术使用者:广州迪迈智创科技有限公司
技术研发日:20240124
技术公布日:2024/8/27
技术研发人员:王超怡,湛振铭,冼冬梅,曹丽思,潘展昭
技术所有人:广州迪迈智创科技有限公司
备 注:该技术已申请专利,仅供学习研究,如用于商业用途,请联系技术所有人。
声 明 :此信息收集于网络,如果你是此专利的发明人不想本网站收录此信息请联系我们,我们会在第一时间删除
