首页  专利技术  电子电路装置的制造及其应用技术

游泳池水面漂浮物聚拢装置的制作方法

2025-12-05 10:20:03 54次浏览
游泳池水面漂浮物聚拢装置的制造方法

本实用新型具体涉及一种游泳池水面漂浮物聚拢装置。



背景技术:

目前,在一些小区、学校、体育馆、会所等机构的游泳池,夏天是可供人们消暑,其他时节是也可妆点环境;游泳池(尤其是露天游泳池)水面上时常有灰尘、落叶等漂浮物,当游泳池水面面积较大时,很难对远离岸边的漂浮物进行清洁,所以急需一种游泳池水面漂浮物聚拢装置以解决这一问题。



技术实现要素:

本实用新型的目的在于针对现有技术的不足,提供一种游泳池水面漂浮物聚拢装置,该游泳池水面漂浮物聚拢装置可以很好地解决上述问题。

为达到上述要求,本实用新型采取的技术方案是:提供一种游泳池水面漂浮物聚拢装置,该游泳池水面漂浮物聚拢装置包括漂浮部件、设置在漂浮部件两端的两个主连接管及辅两个助连接管;漂浮部件为球状腔体结构,漂浮部件外部套设有密封层,漂浮部件内部设置有振动电机;漂浮部件右侧的主连接管内部设置有第二供电部件,主连接管右端通过转轴与第二配重腔体连接,第二配重腔体通过第二连接转轴与设置在漂浮部件右端的辅助连接管连接,第二配重腔体内部设置有第二配重块;漂浮部件左侧的主连接管内部设置有第一供电部件,主连接管左端通过转轴与第一配重腔体连接,第一配重腔体通过第一连接转轴与设置在漂浮部件左端的辅助连接管连接,第一配重腔体内部设置有第一配重块;第二供电部件与设置在漂浮部件右端的辅助连接管的末端的插座电连接,插座外部套设有第二密封连接腔体,第二密封连接腔体的外端面设置有第二连接部,第二密封连接腔体的外端面上设有密封盖,密封盖与第二密封连接腔体通过螺纹连接;第一供电部件与设置在漂浮部件左端的辅助连接管的末端的插头电连接,插头外部套设有第一密封连接腔体,第一密封连接腔体的外端面设置有第一连接部,第一密封连接腔体的外端面上设有密封盖,密封盖与第一密封连接腔体通过螺纹连接。

该游泳池水面漂浮物聚拢装置具有的优点如下:

(1)通过设置漂浮部件、密封层及振动电机可以使该游泳池水面漂浮物聚拢装置漂浮在水面上,并可以在振动电机震动时在水面产生水波从而使水面的悬浮物在水波的作用下聚拢以便于收集清理。

(2)通过设置第一连接部、插头、第一密封连接腔体、插座、第二密封连接腔体及第二连接部可以将多个该游泳池水面漂浮物聚拢装置收尾相接,使前一个游泳池水面漂浮物聚拢装置的插头插入到后一游泳池水面漂浮物聚拢装置的插座中并利用第一密封连接腔体和第二密封连接腔体实现密封,从而改变产生水面波纹的范围,以适应不同的水面环境。

(3)通过设置第一转轴、第一上拉把手、第二上拉把手及第二转轴可以在平时将第一上拉把手和第二上拉把手旋转入辅助连接管中,在需要打捞该游泳池水面漂浮物聚拢装置时将其转出以方便拿去。

(4)通过设置第一配重腔体、第一配重块、第一连接转轴、第二配重腔体、第二配重块及第二连接转轴可以对该游泳池水面漂浮物聚拢装置的整体重量进行调节,以增大漂浮部件沉入水面的高度,从而使振动电机在震动时产生更大的波纹。

附图说明

此处所说明的附图用来提供对本申请的进一步理解,构成本申请的一部分,在这些附图中使用相同的参考标号来表示相同或相似的部分,本申请的示意性实施例及其说明用于解释本申请,并不构成对本申请的不当限定。在附图中:

图1示意性地示出了根据本申请一个实施例的游泳池水面漂浮物聚拢装置的结构示意图。

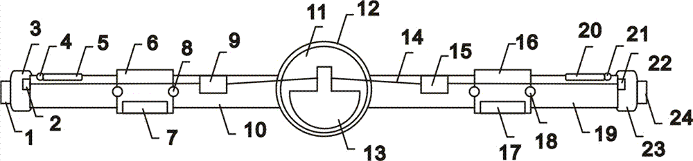
其中:1、第一连接部;2、插头;3、第一密封连接腔体;4、第一转轴;5、第一上拉把手;6、第一配重腔体;7、第一配重块;8、第一连接转轴;9、第一供电部件;10、主连接管;11、漂浮部件;12、密封层;13、振动电机;14、电线;15、第二供电部件;16、第二配重腔体;17、第二配重块;18、第二连接转轴;19、辅助连接管;20、第二上拉把手;21、第二转轴;22、插座;23、、第二密封连接腔体;24、第二连接部。

具体实施方式

为使本申请的目的、技术方案和优点更加清楚,以下结合附图及具体实施例,对本申请作进一步地详细说明。

在以下描述中,对“一个实施例”、“实施例”、“一个示例”、“示例”等等的引用表明如此描述的实施例或示例可以包括特定特征、结构、特性、性质、元素或限度,但并非每个实施例或示例都必然包括特定特征、结构、特性、性质、元素或限度。另外,重复使用短语“根据本申请的一个实施例”虽然有可能是指代相同实施例,但并非必然指代相同的实施例。

为简单起见,以下描述中省略了本领域技术人员公知的某些技术特征。

根据本申请的一个实施例,提供一种游泳池水面漂浮物聚拢装置,如图1所示,包括漂浮部件11、设置在漂浮部件11两端的两个主连接管10及辅两个助连接管19。

根据本申请的一个实施例,该游泳池水面漂浮物聚拢装置的漂浮部件11为球状腔体结构,漂浮部件11外部套设有密封层12,漂浮部件11内部设置有振动电机13。

根据本申请的一个实施例,该游泳池水面漂浮物聚拢装置的漂浮部件11右侧的主连接管10内部设置有第二供电部件15,主连接管10右端通过转轴与第二配重腔体16连接,第二配重腔体16通过第二连接转轴18与设置在漂浮部件11右端的辅助连接管19连接,第二配重腔体16内部设置有第二配重块17。

根据本申请的一个实施例,该游泳池水面漂浮物聚拢装置的漂浮部件11左侧的主连接管10内部设置有第一供电部件9,主连接管10左端通过转轴与第一配重腔体6连接,第一配重腔体6通过第一连接转轴8与设置在漂浮部件11左端的辅助连接管19连接,第一配重腔体6内部设置有第一配重块7。

根据本申请的一个实施例,该游泳池水面漂浮物聚拢装置的第二供电部件15与设置在漂浮部件11右端的辅助连接管19的末端的插座22电连接,插座22外部套设有第二密封连接腔体23,第二密封连接腔体23的外端面设置有第二连接部24,第二密封连接腔体23的外端面上设有密封盖,密封盖与第二密封连接腔体23通过螺纹连接。

根据本申请的一个实施例,该游泳池水面漂浮物聚拢装置的第一供电部件9与设置在漂浮部件11左端的辅助连接管19的末端的插头2电连接,插头2外部套设有第一密封连接腔体3,第一密封连接腔体3的外端面设置有第一连接部1,第一密封连接腔体3的外端面上设有密封盖,密封盖与第一密封连接腔体3通过螺纹连接。

根据本申请的一个实施例,该游泳池水面漂浮物聚拢装置的第二供电部件15和第一供电部件9均为蓄电池。

根据本申请的一个实施例,该游泳池水面漂浮物聚拢装置的第二连接部24为设有内螺纹的管状结构,第一连接部1为设有外螺纹的管状结构。

根据本申请的一个实施例,该游泳池水面漂浮物聚拢装置的第一供电部件9和第二供电部件均通过电线14与振动电机13电连接。

根据本申请的一个实施例,该游泳池水面漂浮物聚拢装置通过设置漂浮部件11、密封层12及振动电机13可以使该游泳池水面漂浮物聚拢装置漂浮在水面上,并可以在振动电机13震动时在水面产生水波从而使水面的悬浮物在水波的作用下聚拢以便于收集清理;通过设置第一连接部1、插头2、第一密封连接腔体3、插座22、第二密封连接腔体23及第二连接部24可以将多个该游泳池水面漂浮物聚拢装置收尾相接,使前一个游泳池水面漂浮物聚拢装置的插头2插入到后一游泳池水面漂浮物聚拢装置的插座22中并利用第一密封连接腔体3和第二密封连接腔体23实现密封,从而改变产生水面波纹的范围,以适应不同的水面环境;通过设置第一转轴4、第一上拉把手5、第二上拉把手20及第二转轴21可以在平时将第一上拉把手5和第二上拉把手20旋转入辅助连接管19中,在需要打捞该游泳池水面漂浮物聚拢装置时将其转出以方便拿去;通过设置第一配重腔体6、第一配重块7、第一连接转轴8、第二配重腔体16、第二配重块17及第二连接转轴18可以对该游泳池水面漂浮物聚拢装置的整体重量进行调节,以增大漂浮部件11沉入水面的高度,从而使振动电机13在震动时产生更大的波纹。

根据本申请的一个实施例,该游泳池水面漂浮物聚拢装置在管状绳索上,设置有若干个浮子,浮子可以是球状,也可以是椭圆方形等形状,浮子中装有振动电机,两浮子间采用柔性塑胶管状绳索连接,每段管状绳索的中间位置,内置金属配重。使用时,可由两个保洁员分别牵着绳索的两端,然后开动振动马达,就可以在水面产生定向振动水波了,震动水波可以将水面上的漂浮物聚拢到一处便于统一清洁。

以上所述实施例仅表示本实用新型的几种实施方式,其描述较为具体和详细,但并不能理解为对本实用新型范围的限制。应当指出的是,对于本领域的普通技术人员来说,在不脱离本实用新型构思的前提下,还可以做出若干变形和改进,这些都属于本实用新型保护范围。因此本实用新型的保护范围应该以所述权利要求为准。

文档序号 : 【 11175265 】

技术研发人员:陈伟
技术所有人:成都航空职业技术学院

备 注:该技术已申请专利,仅供学习研究,如用于商业用途,请联系技术所有人。
声 明此信息收集于网络,如果你是此专利的发明人不想本网站收录此信息请联系我们,我们会在第一时间删除
陈伟成都航空职业技术学院
水面滑行昆虫水面承载力的测量装置的制造方法 户外游泳池水面漂浮物清理系统的水流循环装置的制造方法
相关内容