一种真三轴多场耦合试验装置及试验方法

本发明属于岩石力学检测,具体涉及一种真三轴多场耦合试验装置及试验方法。
背景技术:
1、煤与瓦斯突出是一种类型的瓦斯特殊涌出的现象,即在压力作用下,破碎的煤与瓦斯由煤体内突然向采掘空间大量喷出的现象,具有极大的破坏性。煤与瓦斯突出是内、外应力的循环作用下使煤体产生剪切破坏的过程,即因采矿活动影响,导致地应力场、煤岩结构和瓦斯状态与流动的变化而诱发的内、外应力作用下使煤体发生局部断裂破坏形成突出源时,产生一定强度的振动形成周期应力波反复作用于煤体上,最终诱发煤与瓦斯突出发生。综合作用假设认为煤与瓦斯突出是由地应力、瓦斯与煤岩体物理力学性质之间的相互耦合作用形成的。
2、水力压裂技术来源于石油行业,其基本原理为:将高压流体注入煤岩层中,从而产生裂缝或使天然裂缝扩展,形成人工裂缝网络,从而达到改造岩层结构,达到煤层或储层增透、煤矿坚硬顶板治理、切顶卸压、冲击地压防治等目的。与传统爆破技术相比,水力压裂技术具备着工程量小、安全性高、污染小、成本低、作业场地需求小等优点,不仅在油气开采、地应力测量、地热资源开发等领域广泛使用,也逐渐在矿业工程中推广使用。现有的水力压裂技术会导致地下工况面临地下水压裂环境,加剧煤与瓦斯突出风险。
3、室内煤岩试验通过模拟煤岩在地下所处的高温、应力、地下水压裂等环境,对煤岩力学、结构等特性进行测定和分析,以减少采矿风险。
4、专利cn213209758u公开了一种可以实现动静组合加载、快速卸载的真三轴岩体加载装置,专利cn112881151a公开了一种静力、渗流场耦合的真三轴加载装置,cn117569788a公开的真三轴加载装置可以实现静态加载和压裂的耦合。但是地下工况往往面临静载、扰动、高温、地下水压裂所形成的复杂多场环境,上述专利提供的试验装置均无法完整地模拟真实工况,从而无法准确模拟对煤与瓦斯突出过程,因此,本技术设计了一种能够模拟真实工况的真三轴力学装置,同时能够实现应力场、温度场、渗流场三场耦合实验。
技术实现思路
1、本发明的目的就在于为解决现有技术的不足而提供一种真三轴多场耦合试验装置及试验方法。
2、本发明的目的是以下述技术方案实现的:
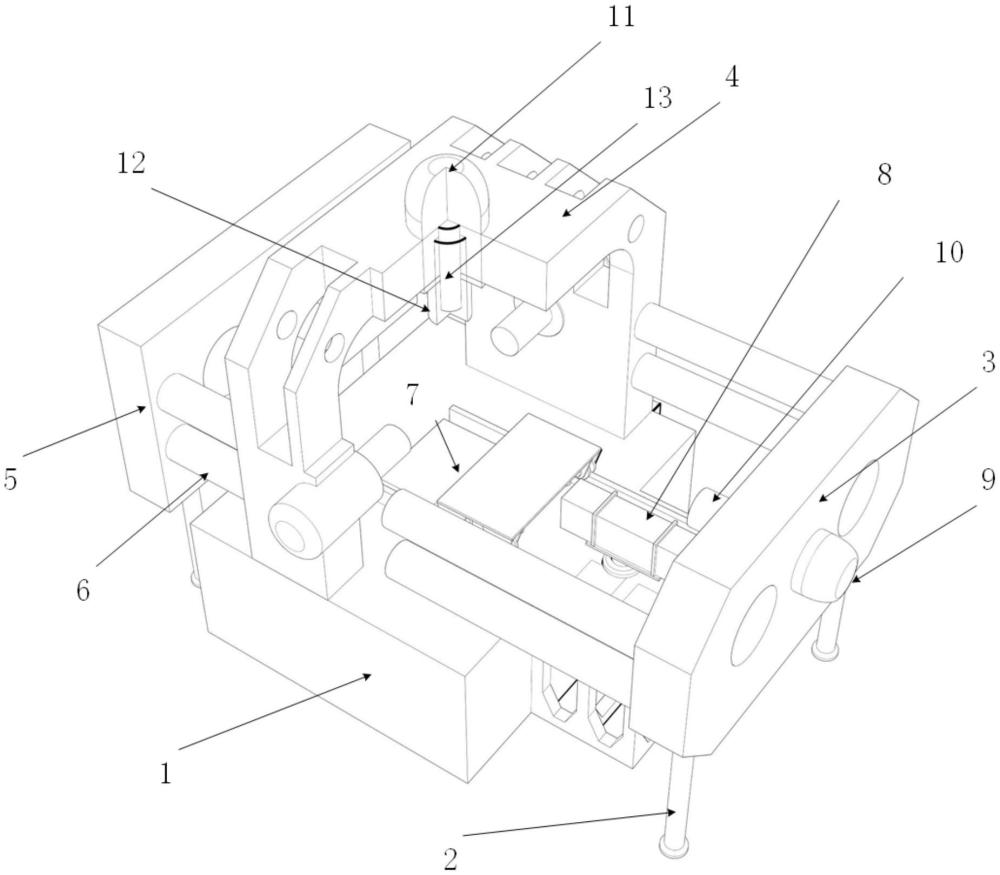
3、一种真三轴多场耦合试验装置,包括法向加载装置和水平围压装置,还包括试样盒、法向加载板、注射端子以及受压密封板;
4、所述试样盒包括试样盒主体以及加热系统;所述试样盒主体内设有4个水平加载板,4个所述水平加载板组合形成用于放置试样的试样腔;所述加热系统用于对试样加热,实现高温试验;
5、所述法向加载装置包括静载加载机构和动载加载机构,分别用于通过所述法向加载板对试样施加法向静载和法向动载,所述水平围压装置用于通过所述水平加载板对试样施加水平围压,实现动静载真三轴加载试验;
6、所述法向加载板上设有压裂液流通通道;
7、所述受压密封板上设有供所述注射端子穿过的通孔;
8、通过将所述受压密封板置于试样上方,将注射端子的底端穿过所述受压密封板置于试样内,将所述法向加载板置于所述注射端子的顶部,所述压裂液流通通道与所述注射端子的内部连通;分别通过所述法向加载装置、所述水平围压装置施加法向压力和水平围压,所述受压密封板受压延伸将所述注射端子附近密封,将试样顶部密闭,所述水平加载板在围压下将试样四周密闭,此时通过所述压裂液流通通道及所述注射端子向密闭试样内部注射压裂液,实现压裂试验。
9、优选地,所述加热系统包括依次设于所述试样盒主体内侧的隔热板和加热盒;所述加热盒内设有发热元件。
10、优选地,所述法向加载装置包括法向压力缸、以及与所述法向压力缸连接的法向静轴加载杆和法向动轴加载杆。
11、优选地,所述法向加载板上设有与所述压裂液流通通道连通的压裂泵接口,所述压裂泵接口用于与外部压裂液源连接。
12、优选地,所述受压密封板采用铜板。
13、优选地,所述法向加载板上设有与所述注射端子的上端连接的连接机构。
14、优选地,所述水平围压装置包括4个与4个所述水平加载板一一对应的水平围压加载模块;
15、每个所述水平加载板连接有一个穿过所述试样盒主体侧壁的水平推动柱;
16、各个所述水平围压加载模块通过驱动相对应的所述水平推动柱和所述水平加载板移动,对试样形成围压。
17、优选地,所述水平围压加载模块包括水平压力缸以及与所述水平压力缸连接的水平加载杆。
18、优选地,如上所述的真三轴多场耦合试验装置,还包括反力框架体系;
19、所述反力框架体系包括底座、位于所述底座上y方向的主体反力框架、以及相对设于所述底座x方向外侧的两个水平反力板,所述水平反力板底部通过外部支腿支撑,侧面通过水平反力梁与所述主体反力框架连接;
20、所述法向加载装置设于所述主体反力框架上;
21、2个所述水平围压加载模块设于所述主体反力框架y方向的两侧,另外2个所述水平围压加载模块对应设于x方向的两个所述水平反力板上。
22、优选地,如上所述的真三轴多场耦合试验装置,还包括装卸装置;
23、所述底座主体上且所述主体反力框架的正下方设有试样基座;
24、所述装卸装置包括2个导轨、沿所述导轨移动的滑轮、滑动平板、位于所述滑轮和滑动平板之间的第一升降装置、连接杆、以及位于所述连接杆底部的第二升降装置;
25、2个所述导轨的一端设于所述试样基座两侧,另一端延伸至所述主体反力框架的外侧;靠近2个所述导轨另一端的所述水平反力板与所述底座之间具有一定的空间,所述连接杆和所述第二升降装置设于所述空间内;
26、当装卸试样时,通过所述第一升降装置将所述滑动平板抬高至高出所述试样基座,通过所述第二升降装置将所述连接杆降低至低于所述试样基座,将所述滑动平板移动至所述主体反力框架和所述试样基座的外侧,向所述滑动平板上放置试样盒或取出试验完成的试样盒;
27、当进行试验时,将承载了试样盒的所述滑动平板移动至所述试样基座上方,然后通过所述第一升降装置将所述滑动平板降低,直至所述滑动平板落于所述试样基座的表面,通过所述第二升降装置将所述连接杆升起,直至对准所述试样盒与所述水平围压加载模块,将该侧所述水平围压加载模块和所述试样盒受力连接。
28、本发明还提供了一种如上所述的真三轴多场耦合试验装置的试验方法,包括以下步骤:
29、s1.制备试样:根据试验目的制备试样a或试样b,当进行压裂试验时,制备所述试样a,当不进行所述压裂实验时,制备所述试样b;当进行高温试验时,制备试样后进行步骤s2,当不进行所述高温试验时,制备试样后直接进行步骤s3;
30、所述试样a通过以下步骤制备获得:
31、在试样上钻孔,置于所述试样盒主体内,将所述注射端子底部穿过所述受压密封板置于所述试样钻取的孔内,然后将所述法向加载板置于所述受压密封板的上方,使所述法向加载板的压裂液流通通道与所述注射端子的内部连通;
32、所述试样b通过以下步骤制备获得:将试样置于所述试样盒主体内,然后将所述法向加载板置于所述试样上方;
33、s2.对试样升温:当进行高温试验时,通过所述加热系统对试样进行升温,然后进行步骤s3;
34、s3.实施预压:通过所述法向加载装置对所述试样施加预压;
35、s4.实施围压:通过所述水平围压装置对所述试样施加围压,并按设定目标值保持围压直至试验结束;
36、s5.实施法向静压:通过所述法向加载装置对所述试样施加法向静压,并按设定目标值保持法向静压直至试验结束;当进行法向动载试验时,继续进行步骤s6;
37、s6.实施法向动载:通过所述法向加载装置对所述试样施加法向动载,并按设定目标值保持法向动载直至试验结束;当进行压裂试验时,继续进行步骤s7;
38、s7.实施压裂:通过所述法向加载板的压裂液流通通道,向所述试样内部注入压裂液体,直至压裂压强值达到设定值或者将所述试样压裂,结束压裂实验。
39、本技术提供的真三轴多场耦合试验装置,能够有效解决高温下压裂液的密封问题,能够实现包括应力场、温度场、渗流场的多场耦合条件下的对煤岩体或混凝土等矿石材料的力学特性研究,能够有效模拟地下工况面临的静载、扰动、高温、地下水压裂所形成的复杂多场环境,能够完整地模拟真实工况和煤与瓦斯突出过程,为减少采矿风险提供理论依据。
技术研发人员:高明涛,卜昌森,周辉,李利平,陈绍杰,胡振华,孟祥旭,黄万朋,汤建泉,张洲,王思远,郭成阳,李敏慧,郭子豪
技术所有人:华北科技学院(中国煤矿安全技术培训中心)
备 注:该技术已申请专利,仅供学习研究,如用于商业用途,请联系技术所有人。
声 明 :此信息收集于网络,如果你是此专利的发明人不想本网站收录此信息请联系我们,我们会在第一时间删除
