一种组合式流化床反应器的制作方法

本实用新型涉及一种流化床反应器,具体涉及一种组合式流化床反应器。
背景技术:
厌氧好氧反应器广泛用于高浓度有机废水或难降解有机物废水的处理。通过厌氧微生物的作用,一方面截留污水中非溶解态有机物,使之逐步转变为溶解态有机物,另一方面将难生化降解的大分子有机污染物转化为易生物降解的小分子有机物,提高废水的可生化性;好氧微生物则可以充分利用厌氧处理后的有机物,使污染物得到彻底降解。对于高浓度有机废水或难降解有机废水而言,厌氧好氧组合处理可以有效提高处理效率,降低废水处理成本。
目前,工程上应用较多的厌氧好氧水解反应器主要包括2类:一为分体式反应器,二为合体式反应器。分体式厌氧好氧反应器普遍存在能耗大,占地面积大等缺点;合体式厌氧好氧反应器存在抗冲击负荷能力低,泥水分离困难,布水系统复杂,造价昂贵等缺点。随着我国水环境污染问题日趋严重,越来越多的高浓度和难降解有机废水排入水环境中,这也给厌氧好氧反应器的研究、改进、应用带来了较大的机遇。据文献报道,迄今为止我国环保科技工作者已经开发了一系列一体化厌氧好氧反应器。例如重庆大学Zhang等研究开发了一种厌氧/好氧一体化MBR,反应器下部为厌氧区,接种厌氧颗粒污泥,完成大部分的COD降解;反应器上部为好氧区,内置膜主件和曝气装置,然而生物膜存在易堵塞、清洗难度大等缺点,上下结构造型也使得建造困难,限制处理能力。
技术实现要素:
本实用新型所要解决的技术问题是针对现有技术的不足,提供一种新型组合式厌氧/好氧(A/O)流化床反应器,所述反应器为同心圆结构的组合式池体,包括内圆池体和外圆池体,内圆池体为厌氧区,外圆池体为好氧区;
所述好氧区通过4个隔板平均分割为第一分区、第二分区、第三分区和第四分区四个扇形区域,其中第一分区和第二分区之间的隔板下部开有第一过水孔,第二分区和第三分区之间的隔板上部开有第二过水孔,第三分区和第四分区之间的隔板下部开有第三过水孔,第四分区和第一分区之间的隔板无过水孔;
好氧区上部设有输气管,输气管与设置于好氧区下部的曝气管相连接,曝气管底部交错斜向下开孔,好氧区中部设有好氧穿孔挡板,好氧穿孔挡板上承接高效好氧填料;
所述厌氧区包括厌氧穿孔挡板、厌氧填料、厌氧过水孔、厌氧进水管、回流管和布水管,所述厌氧穿孔挡板设置于厌氧区中部,厌氧穿孔挡板上承接厌氧填料,所述厌氧过水孔设置于厌氧区与第一分区相对应的位置上部,其中布水管包括两个以上的支管,各支管底部交错斜向下开孔;
本实用新型按逆时针方向依次设置第一分区、第二分区、第三分区和第四分区。
所述曝气管包括4个支管,分别位于第一分区、第二分区、第三分区和第四分区。
本实用新型所述第四分区包括沉淀区。
所述沉淀区中设有滗水器和出水管,滗水器和出水管位于第四分区上部,滗水器与出水管相连。
本实用新型所述滗水器背部设有靠板,滗水器两侧底部设有滗水器进水管,滗水器进水管向上弯曲。
本实用新型所述靠板上设置有用于将滗水器固定于反应器上的挂钩。
本实用新型所述滗水器下部为漏斗形状并设置开口,泥水分离后的污泥由此回到好氧区,开口下部设有小型三角椎体,三角椎体与滗水器下部漏斗体交错设置。
输气管和曝气管组成曝气系统,其中曝气管分别位于好氧区4个分区的底部;位于厌氧区底部的穿孔布水管组成布水系统。
本实用新型所述反应器处理过程如下:废水由进水管进入布水管,到达厌氧区,穿过厌氧填料,经过位于厌氧区上部的过水孔后,进入第一分区,通过各分区间的隔板折流经过好氧填料,由曝气管提供好氧污泥所需要的氧气,废水到达第四分区底部后,通过滗水器底部的滗水器进水管进入沉淀区,最终通过出水管排出。
有益效果:处理过程方面:1、厌氧区、好氧区采用流化床结构,设置挡板和填料,一方面为微生物提供稳定生存环境,提高处理能力,另一方面可以有效的防止堵塞,增强泥水混合效果;
2、好氧区设置4个分区,使得废水折流行进,可以延长废水随停留时间,提高反应器抗冲击负荷能力;
3、在实际工程中,新型滗水器可使得沉淀区域与反应区域实现合建,滗水器两侧进水管向上弯曲,可以有效减小滗水器外部水流扰动对沉淀效果的影响,下部开口与小型三角椎体的设置可以在剧烈的环境中分隔出相对稳定的区域,实现较好的泥水分离效果;
4、出水管可与回流管相连,视处理效果决定是否回流。
投资运行方面:1、新型组合式厌氧/好氧(A/O)流化床反应器,结构紧凑简单,土建成本低;
2、新型组合式厌氧/好氧(A/O)流化床反应器厌氧区、好氧区均设置高效生物填料,有效降低剩余污泥产生量;
3、无须机械搅拌,动力消耗小,运行成本低。
附图说明
下面结合附图和具体实施方式对本实用新型做更进一步的具体说明,本实用新型的上述或其他方面的优点将会变得更加清楚。
图1是本实用新型反应器剖面图。
图2是本实用新型反应器俯视图。
图3为滗水器主视图。
图4为滗水器剖面图。
图5为滗水器俯视图。
具体实施方式
下面将结合附图对本实用新型作详细说明。
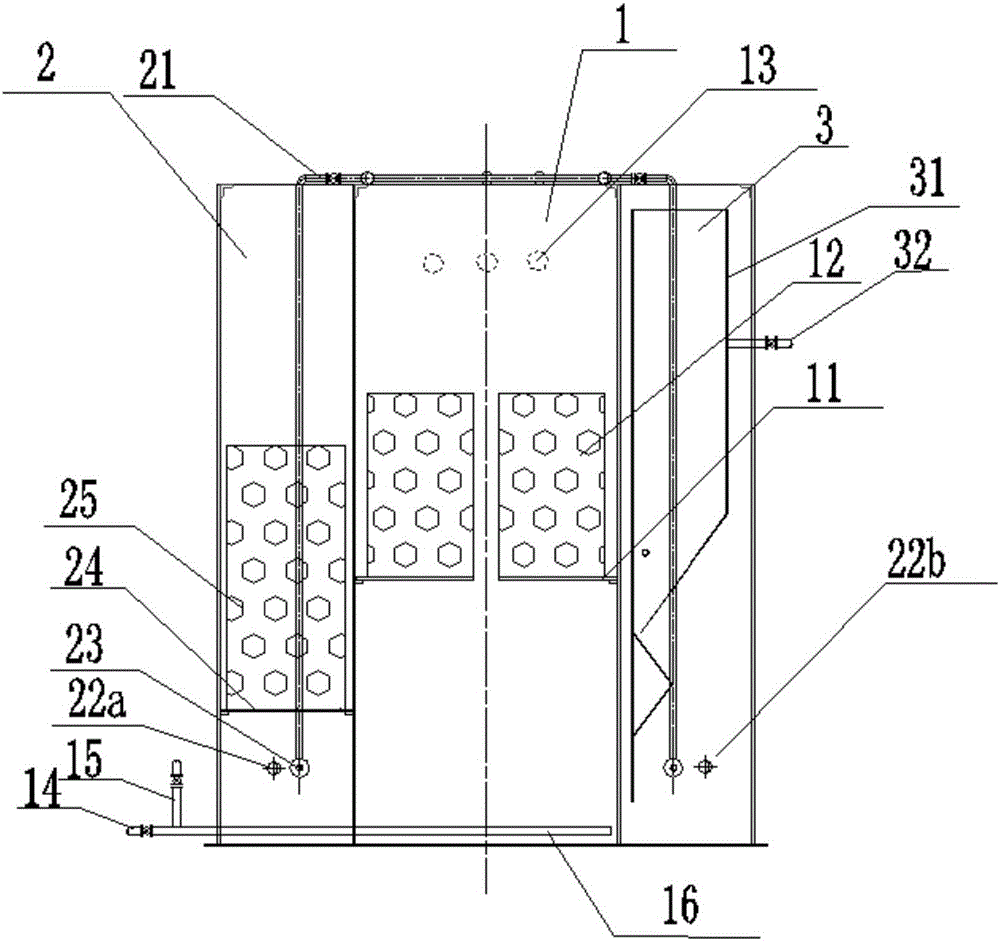
如图1所示,本实用新型所述反应器为同心圆结构的组合式池体,包括内圆池体和外圆池体,内圆池体为厌氧区1,外圆池体为好氧区2;
如图2所示,好氧区2通过4个隔板26平均分割为第一分区、第二分区、第三分区和第四分区四个扇形区域,其中第一分区和第二分区之间的隔板下部开有第一过水孔22a,第二分区和第三分区之间的隔板上部开有第二过水孔(该过水孔在附图中对应的位置不可见),第三分区和第四分区之间的隔板下部开有第三过水孔22b,第四分区和第一分区之间的隔板无过水孔;
好氧区2上部设有输气管21,输气管21与设置于好氧区2下部的曝气管23相连接,曝气管23交错斜向下开孔,好氧区2中部设有好氧穿孔挡板24,好氧穿孔挡板24上承接高效好氧填料25;
所述厌氧区1包括厌氧穿孔挡板11、厌氧填料12、厌氧过水孔13、厌氧进水管14、回流管15和布水管16,所述厌氧穿孔挡板11设置于厌氧区1中部,穿孔挡板11上承接厌氧填料12,所述厌氧过水孔13设置于厌氧区1与第一分区相对应的位置上部,其中布水管16包括两个以上的支管,各支管交错斜向下开孔。厌氧过水孔13的位置高于好氧穿孔挡板24,第一过水孔22a的位置低于好氧穿孔挡板24,第二过水孔的位置高于好氧穿孔挡板24,第三过水孔22b的位置低于好氧穿孔挡板24。
本实用新型按逆时针方向依次设置第一分区、第二分区、第三分区和第四分区。所述曝气管23共有4个,分别位于第一分区、第二分区、第三分区和第四分区。
本实用新型所述第四分区包括沉淀区3。
所述沉淀区3中设有滗水器31和出水管32,滗水器31和出水管32位于第四分区上部,滗水器31与出水管32相连。
如图3所示,本实用新型所述滗水器31背部设有靠板311,滗水器31两侧底部设有滗水器进水管312,滗水器进水管312向上弯曲。
如图4所示,本实用新型所述靠板311上设置有用于将滗水器31固定于反应器上的挂钩315。
如图4和图5所示,本实用新型所述滗水器31下部为漏斗形状并设置开口314,作为污泥沉降的出泥通道,开口314下部设有小型三角椎体313,三角椎体313与滗水器下部漏斗体交错设置,在污泥流出时,三角椎体313可以阻挡滗水器31外部水流扰动对出泥的影响。
本实用新型所述反应器处理过程如下:废水由进水管14进入布水管16,到达厌氧区1,穿过厌氧填料12,经过位于厌氧区1上部的过水孔13后,进入第一分区,折流经过各分区好氧填料(25),同时曝气管道(23)提供好氧污泥所需氧气,废水到达第四分区后,通过滗水器(31)底部的滗水器进水管(312)进入沉淀区(3),上清液通过出水管(32)排出,污泥经开口(314)返回外部反应区。
实施例1
某机械制造综合废水,含有废乳化液和切割液,经过格栅和初沉调节池之后,通过泵进入布水系统,将废水注入厌氧区底部,均匀布水,且废水上升过程中,与厌氧污泥填料充分混合反应,出水经过过水孔进入好氧区,折流通过好氧填料后进入沉淀区,随后出水。工程实践结果表明,废水中污染物得到有效降解,同时取得较好的泥水分离效果。
经过本实用新型所述反应器处理效果如下:进水COD为2000mg/L,NH3-N为33mg/L,pH为7.5-8.7。经本实用新型所述的厌氧水解反应器处理之后,出水COD为144mg/L,NH3-N为13mg/L,pH为7.5。
实施例2
某染料生产废水,经企业预处理达到三级接管标准进入园区污水处理厂,废水内主要含有苯类物质。
经过本实用新型所述反应器处理效果如下:进水COD为1010mg/L,NH3-N为175mg/L,苯胺为88.5mg/L。经本实用新型所述的厌氧水解反应器处理之后,出水COD为402mg/L,NH3-N为50mg/L,苯胺为31mg/L。
本实用新型提供了一种新型组合式厌氧/好氧(A/O)流化床反应器,具体实现该技术方案的方法和途径很多,以上所述仅是本实用新型的优选实施方式,应当指出,对于本技术领域的普通技术人员来说,在不脱离本实用新型原理的前提下,还可以做出若干改进和润饰,这些改进和润饰也应视为本实用新型的保护范围。本实施例中未明确的各组成部分均可用现有技术加以实现。
技术研发人员:田爱军,吴海锁,程伟,吴云波,吴伟,谢祥峰,朱洪标,陈晨,王小祥,孟元慧
技术所有人:江苏环保产业技术研究院股份公司
备 注:该技术已申请专利,仅供学习研究,如用于商业用途,请联系技术所有人。
声 明 :此信息收集于网络,如果你是此专利的发明人不想本网站收录此信息请联系我们,我们会在第一时间删除
