首页  专利技术  医药医疗技术的改进;医疗器械制造及应用技术

上肢骨折麻醉用固定装置的制作方法

2025-12-01 16:00:08 119次浏览
上肢骨折麻醉用固定装置的制造方法

本实用新型涉及一种麻醉用固定装置,尤其是涉及一种上肢骨折特别是肘部骨折麻醉用固定装置。



背景技术:

目前,在进行骨折治疗时,一般采用的方法是先对创伤部位进行局部麻醉,之后再采用外科方法将患者骨折的部位恢复到正常状态后加以固定。在进行麻醉时,麻醉药物注射的部位有着特殊的要求,需要按照患者骨折的具体部位确定麻醉实施的具体部位,同时需要患者在注射麻醉药物时保持特定施术体位,否则无法达到预期麻醉效果以完成手术。有一类骨折的情况,即肘关节骨折的患者,注射麻醉药物的部位是在腋窝顶,注射时需要患者将上臂外展与肩关节水平,同时前臂需要旋后与上臂垂直,只有在这一特定体位下方可在腋窝顶进行麻醉药物的注射操作。然而,由于骨折部位就在肘部,由于骨折错位造成的剧烈疼痛患者无法自行摆出并保持这一体位,因此在进行注射时,除了麻醉医师之外还需要配置额外一名医护人员握住病人的骨折上肢并使其保持上述的体位,这种情况导致在对这类患者进行麻醉药物注射时需要增加额外的人员,且人的力量有大有小,有时仅凭医护人员一个人很难保持上述施术体位。因此需要设计一种用于上肢骨折尤其是肘部骨折麻醉用固定装置,用以在进行麻醉药物注射时无需增加人员而可以直接将患者上肢固定并保持麻醉体位,提高施术效果,节约人力成本。



技术实现要素:

为实现本实用新型之目的,采用以下技术方案予以实现:

一种上肢骨折麻醉用固定装置,包括底座、固定架和支撑杆,其中:底座为条型槽结构,固定架为条型槽结构,固定架与底座枢轴连接,支撑杆一端在底座后部与底座枢轴连接。

所述的上肢骨折麻醉用固定装置,其中: 底座包括底面以及从底面两相对的长边分别向上垂直延伸的壁部;固定架包括底面以及从固定架底面两相对的长边分别向上垂直延伸的壁部;固定架两壁部分别具有一个连接臂,固定架的连接臂分别在底座中部与底座的两壁部枢轴连接。

所述的上肢骨折麻醉用固定装置,其中: 在底座尾部设置一分别连接底座两壁部的连杆,支撑杆的一端设置有空心圆环,套在连杆上;或者该支撑杆的一端直接铰接于底座的底面上。

所述的上肢骨折麻醉用固定装置,其中:固定架底面背面设置有多个沿着固定架轴线间隔排列的盲孔,支撑杆在支撑固定架时,所述支撑杆另一端插入盲孔中。

所述的上肢骨折麻醉用固定装置,其中:在固定架的两壁部上分别设置有一条或多条绑扎带。

所述的上肢骨折麻醉用固定装置,其中:固定架的底部为凹弧形。

所述的上肢骨折麻醉用固定装置,其中:固定架的两壁部为凹弧形。

所述的上肢骨折麻醉用固定装置,其中:底座包括第一底座和第二底座,其中固定架在第一底座后部与第一底座枢轴连接;第二底座在第一底座后部与第一底座枢轴连接;支撑杆的一端与第二底座的底部铰接连接。

所述的上肢骨折麻醉用固定装置,其中:固定架通过其两连接臂分别在第一底座后部与第一底座的两壁部枢轴连接;第二底座通过第二底座上的两壁部向外延伸出的两连接臂分别在第一底座的后部与第一底座的两壁部枢轴连接。

所述的上肢骨折麻醉用固定装置,其中:固定架的两连接臂设置在第一底座的两壁部内侧以及第二底座的两连接臂设置在第一底座的两壁部外侧;或者固定架的两连接臂设置在第一底座的两壁部外侧以及第二底座的两连接臂设置在第一底座的两壁部内侧。

附图说明

图1a为上肢骨折麻醉用固定装置实施例1示意图;

图1b为上肢骨折麻醉用固定装置实施例1示意图;

图1c为上肢骨折麻醉用固定装置实施例1示意图;

图2a为上肢骨折麻醉用固定装置实施例2示意图;

图2b为上肢骨折麻醉用固定装置实施例2示意图。

具体实施方式

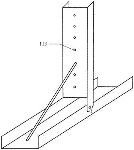
实施例1:如图1a所示,上肢骨折麻醉用固定装置包括底座101、固定架102、支撑杆104。其中底座101为条型槽结构,底座包括平面底面106,从底面106两相对的长边分别向上垂直延伸的壁部107和108,两壁部的高度相同;固定架102也为条型槽结构,包括固定架平面底面109,从固定架底面109两相对的长边分别向上垂直延伸的壁部110和111,两壁部的高度相同,固定架102与底座102枢轴连接,具体的,固定架两壁部110和111分别具有一个延伸超过固定架底面109同一长度方向的连接臂112,该两个连接臂112分别通过铰接轴103与底座102的两壁部107和108枢轴连接,连接点位于底座101的中部;支撑杆104一端与底座101后部枢轴连接,另一端在使用时,支撑在固定架底面109的背面,其中支撑杆104一端与底座101后部枢轴连接的可选方式是,在底座101后部设置一连接底座两壁部的连杆105,支撑杆的一端设置有空心圆环,套在连杆上,且可以自由转动,该支撑杆104亦可直接铰接于底座的底面上,例如图2。所述底座、固定架、支撑杆的材料均可为金属、塑料等材质。

如图1b所示,在固定架底面109背面设置有多个沿着固定架轴线间隔排列的盲孔113,支撑杆104在支撑固定架时109,可在固定架109角度确定后,将支撑杆104的自由端插入合适的盲孔113中,即可实现固定。

该固定装置,在使用时,将固定架102抬起,将患者上臂放入底座101的凹槽中,调整固定架102的角度,将患者前臂放入固定架102的凹槽中,用支撑杆105支撑固定架102背面,将患者前臂绑扎在固定架102上,如图1c所示,在固定架102的两壁部上分别设置有一条或多条绑扎带113,该绑扎带可以是松紧带、尼龙搭扣带等。通过以上方式即可实现肘部骨折麻醉体位的固定,医生可以在此种情况下,仅需一人即可进行腋下麻醉剂的注射。

实施例2,如图2a所示,为上肢骨折麻醉用固定装置的另一实施例,其相同的部分在实施例1中已经进行了说明,不再重复。该装置包括第一底座201、第二底座203、固定架202、支撑杆212。固定架202通过其两连接臂208分别在第一底座201后部与第一底座201的两壁部205枢轴连接;第二底座203设置在第一底座201后部,通过第二底座203上的两壁部210向外延伸出的两连接臂211分别在第一底座201的后部与第一底座201的两壁部205枢轴连接。支撑杆212的一端与第二底座203的底部209铰接连接。固定架202的两连接臂208设置在第一底座201的两壁部内侧;第二底座203的两连接臂211设置在第一底座201的两壁部外侧,亦可相反。

该固定装置的使用方式,与实施例1相同;不用时,固定架202、第二底座203均可折叠于第一底座201之上,节省存储空间。

如图2b所示,为了适应人体上肢的自然曲线,图2b中固定架202的底部206为凹弧形,两壁部207亦可为凹弧形,以更好的容纳患者的前臂。

通过本实用新型,在对肘关节骨折的患者进行麻醉药物注射时无需增加人员而可以直接将患者上肢固定并保持麻醉体位,固定效果好,还能够提高施术效果,节约人力成本。另外本实用新型对于前臂骨折等患者进行麻醉注射时,也可作为固定装置使用,应用范围较广。

文档序号 : 【 11355901 】

技术研发人员:胡焱,袁亮婧,王庚,田伟
技术所有人:北京积水潭医院

备 注:该技术已申请专利,仅供学习研究,如用于商业用途,请联系技术所有人。
声 明此信息收集于网络,如果你是此专利的发明人不想本网站收录此信息请联系我们,我们会在第一时间删除
胡焱袁亮婧王庚田伟北京积水潭医院
一种放射科上肢固定装置的制作方法 返回列表
相关内容