一种建筑工程用气体净化除尘设备的制作方法

本实用新型涉及气体净化除尘设备领域,具体为一种建筑工程用气体净化除尘设备。
背景技术:
城市建筑是构成城市的一个重要部分,而建筑不仅仅只是一个供人们住宿休息,娱乐消遣的人工作品,它从很大的方面上与我们的经济、文化和生活相关联。在今天,城市建筑以其独特的方式传承着文化,散播着生活的韵味,不断地渗透进人们的日常生活中,为人们营造一个和谐和安宁的精神家园。当前国家处于建设阶段,建筑行业的发展来势迅猛,如火如荼,遍及全国各个区域,建筑风格新颖多样。尤其是一些公共建筑,以其独特的造型和结构彰显出城市特有的个性与风采,也因此而成为了一个城市的地标性建筑物,形成了该地区经济与文化的独特魅力。建筑的发展也同时成为我国经济发展的重要支柱性作用。
在建筑行业通常会伴随着很多灰尘,在一些通风较差的环境,灰尘可能存在很长时间,目前没有针对性的设备用于除去建筑灰尘,这些灰尘多由水泥灰组成,不但对空气造成大面积污染,同时严重危害着施工人员的身体健康。
技术实现要素:
本实用新型为了解决建筑施工产生的大量灰尘容易造成空气污染以及损害施工人员身体健康的问题,提供了一种建筑工程用气体净化除尘设备。
本实用新型是通过如下技术方案实现的:一种建筑工程用气体净化除尘设备,包括设备主体,设备主体的底部设有底座,设备主体正面设有进风窗,设备主体背面设有排风窗,设备主体内部设有进风装置、净化装置和控制装置,进风装置包括设置在进风窗内侧的风叶轮、电机和固定板,电机装设在固定板上,固定板装设于风叶轮的下方,风叶轮的轮轴上连接有从动带轮,从动带轮通过皮带与电机轮连接;净化装置包括循环水箱和过滤板,循环水箱位于设备主体的底部,循环水箱上设有进水口、排水口,循环水箱内部连接有循环泵,循环泵上连接有循环管道,过滤板位于排风窗的内侧,过滤板的顶部设有喷头,喷头通过循环管道与循环泵连接,过滤板的底部设有集水槽,控制装置包括控制芯片和控制面板,控制装置通过线路分别与电机和循环泵连接,控制面板固定在设备主体外表面。
进风窗和排风窗相对设置。通过相对设置的进风窗和排风窗,使得气体经过滤后可及时有效的排放,提高除尘效率。
喷头设置有若干组,喷头均匀排布在过滤板的顶部。当尘土经过进风窗进入到达过滤板,通过喷头的喷水作用可有效降低灰尘的飘浮率。
集水槽为凹型水槽,集水槽通过软管与所述循环水箱连接。
使用时:通过电机驱动风叶轮转动,在风叶轮的转动下,含有灰尘的气体通过进风窗进入,从排风窗排除,排风窗设有水帘式的过滤板,过滤板在循环泵的作用下形成水过滤层,循环泵将循环水箱内的水泵出通过喷头均匀喷出,灰尘通过过滤板时被吸附加湿,含尘的水通过集水槽进入循环水箱进行循环利用,当水中含尘率较高时,可通过进水口或排水口对水进行更换。
与现有技术相比,本实用新型通过电机驱动风叶轮转动,在风叶轮的转动下,含有灰尘的气体由进风窗进入设备主体内部,再由牌风窗排出。由于排风窗上方水帘式的过滤板作用,过滤板在循环泵的作用下形成水过滤层,循环泵将循环水箱内的水泵出并通过喷头均匀喷洒,使得灰尘通过过滤板时被吸附加湿,含尘的水通过集水槽进入循环水箱进行循环利用,当水中普遍含粉尘较多时,可通过进水口、排水口对水进行更换,从而实现建筑工程中气体的净化除尘,降低了作业范围空气中灰尘的含量。本实用新型具有结构简单、使用方便、效果突出等优势,同时使用中不需要大功率的电机和循环泵进行作业即可达到很好的除尘效果,满足了节能优势,有利于施工的顺利进行。
附图说明
图1为本实用新型正面结构示意图;
图2为本实用新型的侧视结构示意图;
图3为本实用新型过滤板示意图。
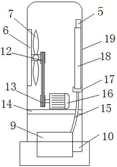
图中:1-底座,2-进水口,3-控制装置,4-设备主体,5-喷头,6-进风窗,7-风叶轮,8-循环管道,9-循环水箱,10-循环泵,11-排水口,12-从动带轮,13-电机轮,14-固定板,15-软管,16-电机,17-集水槽,18-过滤板,19-排风窗。
具体实施方式
结合附图1-3,本实用新型包括设备主体4,设备主体4的底部设有底座1,设备主体4正面设有进风窗6,设备主体4背面设有排风窗19,设备主体4内部设有进风装置、净化装置和控制装置3,进风装置包括设置在进风窗6内侧的风叶轮7、电机16和固定板14,电机16装设在固定板14上,固定板14装设于风叶轮7的下方,风叶轮7的轮轴上连接有从动带轮12,从动带轮12通过皮带与电机轮13连接;净化装置包括循环水箱9和过滤板18,循环水箱9位于设备主体4的底部,循环水箱9上设有进水口2、排水口11,循环水箱9内部连接有循环泵10,循环泵10上连接有循环管道8,过滤板18位于排风窗19的内侧,过滤板18的顶部设有喷头5,喷头5通过循环管道8与循环泵10连接,过滤板18的底部设有集水槽17,控制装置3包括控制芯片和控制面板,控制装置3通过线路分别与电机16和循环泵10连接,控制面板固定在设备主体4外表面。
进风窗6和排风窗19相对设置。
喷头5设有若干组,且喷头5均匀排布在过滤板18的顶部。
集水槽17为凹型水槽,集水槽17通过软管15与所述循环水箱9连接。
工作时,通过电机16驱动风叶轮7转动,在风叶轮7的转动下,含有灰尘的气体通过进风窗6进入,从排风窗19排除,排风窗19设有水帘式的过滤板18,过滤板18在循环泵10的作用下形成水过滤层,循环泵10将循环水箱9内的水泵出通过喷头5均匀喷出,灰尘通过过滤板18时被吸附加湿,含尘的水通过集水槽17进入循环水箱9进行循环利用,可通过进水口2、排水口11对水进行更换,该实用新型实现建筑工程用气体净化除尘,降低了气体中的灰尘具有结构简单、使用方便、使用效果好、节能、生产成本低等优点,有利于施工的顺利进行。
技术研发人员:周涛,何继川,陈玉达,郭志超
技术所有人:中铁十二局集团有限公司,中铁十二局集团第二工程有限公司
备 注:该技术已申请专利,仅供学习研究,如用于商业用途,请联系技术所有人。
声 明 :此信息收集于网络,如果你是此专利的发明人不想本网站收录此信息请联系我们,我们会在第一时间删除
