塑料管件注塑模具双层脱内螺纹机构的制作方法

本实用新型涉及塑料管件注塑模具,特别是涉及塑料管件注塑模具双层脱内螺纹机构。
背景技术:
注塑模具对塑料管件注塑成型后,若塑料管件的内壁制有内螺纹,已有技术通常采用电机带动主动轴,主动轴直接带动芯子齿轮,芯子齿轮带动动模芯子旋转脱出管件的内螺纹,该结构只能用于生产2—6个管件的模具,产品出数少,生产效率低。
技术实现要素:
本实用新型的目的是为了克服已有技术存在的缺点,提供一种结构简单,加工方便,节省时间,提高生产效率的塑料管件注塑模具双层脱内螺纹机构。
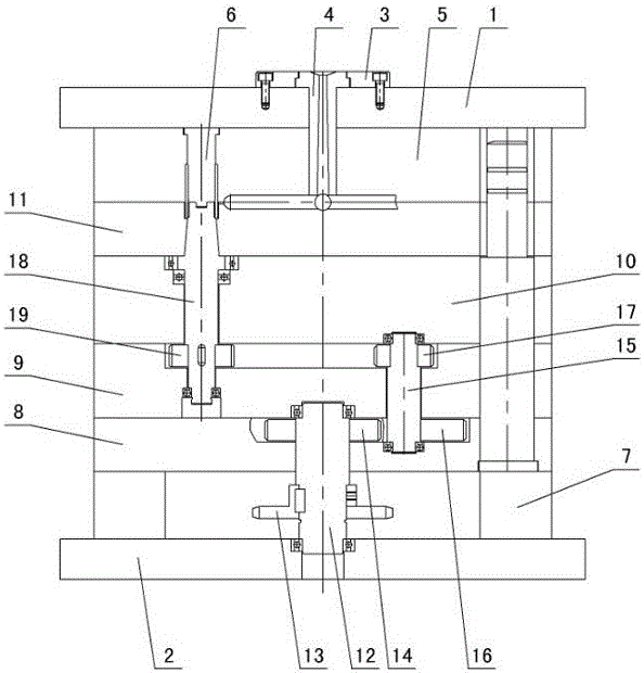
本实用新型塑料管件注塑模具双层脱内螺纹机构的技术方案是:其特征在于包括上复板和下复板,在上复板上设置定位圈和浇口套,上复板下设置定模板,定模板中设置定模芯子,在下复板上设置模脚,模脚上设置一层齿轮板,一层齿轮板上设置二层齿轮板,二层齿轮板上设置轴承板,轴承板上设置动模板,在下复板与二层齿轮板之间设置主动轴,主动轴上设置链轮和主动齿轮,链轮经电机带动,在一层齿轮板和轴承板之间设置从动轴,从动轴上设置一层从动齿轮和二层从动齿轮,一层从动齿轮与主动齿轮相啮合,在二层齿轮板与动模板之间设置动模芯子,动模芯子上设置芯子齿轮,芯子齿轮与二层从动齿轮相啮合。
本实用新型公开了一种塑料管件注塑模具双层脱内螺纹机构,当注塑模具对塑料管件注塑成型后,模具开模,此时由电机带动链轮旋转,链轮带动主动轴旋转,主动轴带动主动齿轮旋转,主动齿轮带动一层从动齿轮旋转,一层从动齿轮经从动轴带动二层从动齿轮旋转,二层从动齿轮带动芯子齿轮旋转,芯子齿轮带动动模芯子旋转脱出塑料管件的内螺纹。本方案塑料管件注塑模具双层脱内螺纹机构,通过设置从动轴,并在从动轴上设置上下两层从动齿轮,利用一个主动齿轮带动多个从动齿轮,再利用各从动齿轮分别带动多个动模芯子,从而使模具实现一出十六,甚至达到一出三十二,提高了生产效率,加工方便,节省时间。
本实用新型塑料管件注塑模具双层脱内螺纹机构,所述的一层齿轮板和轴承板之间设置2—6根从动轴,在二层齿轮板与动模板之间设置4—32根动模芯子。
附图说明
图1是塑料管件注塑模具双层脱内螺纹机构的结构示意图;
图2是主动齿轮经一层从动齿轮带动二层从动齿轮的仰视示意图。
具体实施方式
本实用新型涉及一种塑料管件注塑模具双层脱内螺纹机构,如图1—图2所示,其特征在于:包括上复板1和下复板2,在上复板上设置定位圈3和浇口套4,上复板下设置定模板5,定模板中设置定模芯子6,在下复板上设置模脚7,模脚上设置一层齿轮板8,一层齿轮板上设置二层齿轮板9,二层齿轮板上设置轴承板10,轴承板上设置动模板11,在下复板2与二层齿轮板9之间设置主动轴12,主动轴上设置链轮13和主动齿轮14,链轮经电机带动,在一层齿轮板8和轴承板10之间设置从动轴15,从动轴上设置一层从动齿轮16和二层从动齿轮17,一层从动齿轮与主动齿轮14相啮合,在二层齿轮板9与动模板11之间设置动模芯子18,动模芯子上设置芯子齿轮19,芯子齿轮与二层从动齿轮17相啮合。当注塑模具对塑料管件注塑成型后,模具开模,此时由电机带动链轮13旋转,链轮带动主动轴12旋转,主动轴带动主动齿轮14旋转,主动齿轮带动一层从动齿轮16旋转,一层从动齿轮经从动轴15带动二层从动齿轮17旋转,二层从动齿轮带动芯子齿轮19旋转,芯子齿轮带动动模芯子18旋转脱出塑料管件的内螺纹。本方案塑料管件注塑模具双层脱内螺纹机构,通过设置从动轴,并在从动轴上设置上下两层从动齿轮,利用一个主动齿轮带动多个从动齿轮,再利用各从动齿轮分别带动多个动模芯子,从而使模具实现一出十六,甚至达到一出三十二,提高了生产效率,加工方便,节省时间。所述的一层齿轮板8和轴承板10之间设置2—6根从动轴15,在二层齿轮板9与动模板11之间设置4—32根动模芯子18。
技术研发人员:张建均,冀雄,冀雨沐,郑靖,金瑶
技术所有人:永高股份有限公司
备 注:该技术已申请专利,仅供学习研究,如用于商业用途,请联系技术所有人。
声 明 :此信息收集于网络,如果你是此专利的发明人不想本网站收录此信息请联系我们,我们会在第一时间删除
