一种用于汽车零部件焊接工装的防叠料机构的制作方法

本技术涉及汽车零部件加工,具体为一种用于汽车零部件焊接工装的防叠料机构。
背景技术:
1、汽车零部件的各项加工工序中包括对汽车零部件进行焊接,工人在对板材进行焊接时,常规是对单片板材进行焊接,但在两片板材之间有油污的情况下,两片板材黏在一起,工人观察不到位,导致两片板材都焊接了,从而形成了废料,造成成本浪费。
2、故而提出一种用于汽车零部件焊接工装的防叠料机构来解决上述所提出的问题。
技术实现思路
1、针对现有技术的不足,本实用新型提供了一种用于汽车零部件焊接工装的防叠料机构,具备可防止两片板材之间叠料等优点,解决了现有汽车零部件板材在焊接过程中,两片板材容易因油污黏在一起,工人观察不到位,导致两片板材都焊接,从而形成废料,造成成本浪费的问题。
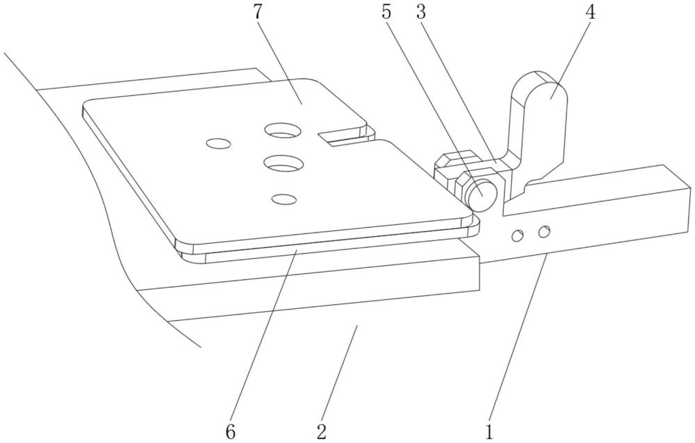
2、为实现上述目的,本实用新型提供如下技术方案:一种用于汽车零部件焊接工装的防叠料机构,包括限位座和支撑台,所述限位座上设置有防叠料块,所述防叠料块的右侧设置有配重块。
3、优选的,所述防叠料块的左侧开设有防叠料槽口。
4、优选的,所述限位座上开设有两个第一通孔,所述防叠料块上开设有第二通孔,所述限位座上的第一通孔和防叠料块上的第二通孔的内部转动连接有转轴,且限位座和防叠料块之间通过转轴转动连接。
5、优选的,所述支撑台的顶部设置有第一车件板材,所述第一车件板材的顶部设置有第二车件板材。
6、与现有技术相比,本申请的技术方案具备以下有益效果:
7、该用于汽车零部件焊接工装的防叠料机构,将支撑台上的第一车件板材和第二车件板材向右推动,第一车件板材卡进防叠料块的防叠料槽内,第二车件板材被阻挡在防叠料块的左侧,使得第一车件板材与第二车件板材分离,就可以起到可防止两片板材之间叠料的效果。
技术特征:
1.一种用于汽车零部件焊接工装的防叠料机构,包括限位座(1)和支撑台(2),其特征在于:所述限位座(1)上设置有防叠料块(3),所述防叠料块(3)的右侧设置有配重块(4)。
2.根据权利要求1所述的一种用于汽车零部件焊接工装的防叠料机构,其特征在于:所述防叠料块(3)的左侧开设有防叠料槽口(301)。
3.根据权利要求1所述的一种用于汽车零部件焊接工装的防叠料机构,其特征在于:所述限位座(1)上开设有两个第一通孔(101),所述防叠料块(3)上开设有第二通孔(302),所述限位座(1)上的第一通孔(101)和防叠料块(3)上的第二通孔(302)的内部转动连接有转轴(5),且限位座(1)和防叠料块(3)之间通过转轴(5)转动连接。
4.根据权利要求1所述的一种用于汽车零部件焊接工装的防叠料机构,其特征在于:所述支撑台(2)的顶部设置有第一车件板材(6),所述第一车件板材(6)的顶部设置有第二车件板材(7)。
技术总结
本技术涉及一种用于汽车零部件焊接工装的防叠料机构,包括限位座和支撑台,所述限位座上设置有防叠料块,所述防叠料块的右侧设置有配重块。该用于汽车零部件焊接工装的防叠料机构,将支撑台上的第一车件板材和第二车件板材向右推动,第一车件板材卡进防叠料块的防叠料槽内,第二车件板材被阻挡在防叠料块的左侧,使得第一车件板材与第二车件板材分离,就可以起到可防止两片板材之间叠料的效果。
技术研发人员:张寅州
受保护的技术使用者:上海联明机械股份有限公司
技术研发日:20231204
技术公布日:2024/8/20
技术研发人员:张寅州
技术所有人:上海联明机械股份有限公司
备 注:该技术已申请专利,仅供学习研究,如用于商业用途,请联系技术所有人。
声 明 :此信息收集于网络,如果你是此专利的发明人不想本网站收录此信息请联系我们,我们会在第一时间删除
