一种农产品自动化生产加工装置的制作方法

本发明涉及农业加工,特别是涉及一种农产品自动化生产加工装置。
背景技术:
1、农业是利用动植物的生长发育规律,通过人工培育来获得产品的产业。农业属于第一产业,研究农业的科学是农学。农业的劳动对象是有生命的动植物,获得的产品是动植物本身。农业是提供支撑国民经济建设与发展的基础产业。农产品加工是用物理、化学和生物学的方法,将农业的主、副产品制成各种食品或其他用品的一种生产活动。是农产品由生产领域进入消费领域的一个重要环节。主要包括粮食加工、饲料加工、榨油、酿造、制糖、制茶、烤烟、纤维加工以及果品、蔬菜、畜产品、水产品等的加工。
2、一些农产品部位,例如柿蒂、石斛等等,在当做药用时,常常需要进行捣碎处理,在捣碎处理之前会进行清洗,清洗之后表皮带水的农产品如果直接放入容器捣碎,容易使水中带有的污垢带入容器,影响捣碎后农产品的质量,现有的设备往往使用传送带送料,不能将多余水分剔除,由于农产品的外形坑洼不平,虽然经过清洗但捣碎前不能保证农产品外表的洁净,所以现在亟需一种加工效率高,保证农产品加工前洁净的农产品自动化生产加工装置。
技术实现思路
1、本发明要解决的技术问题是提供一种加工效率高,保证农产品加工前洁净的农产品自动化生产加工装置。
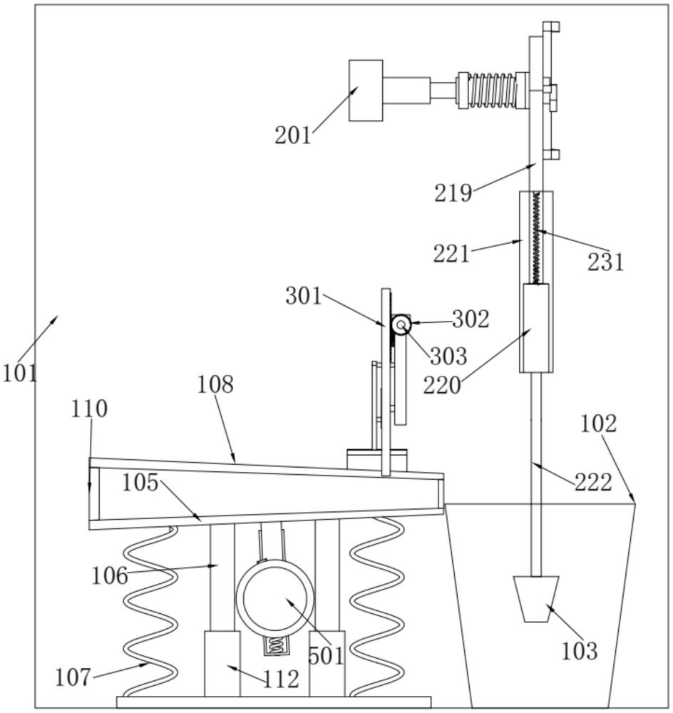
2、本发明一种农产品自动化生产加工装置,包括机体,其固定有容器,所述容器内盛放待加工农产品;
3、输送板,其能够运输农产品;
4、振动机构,其通过第一电机驱动圆滑块皮带机构使输送板上下振动送料。
5、本发明一种农产品自动化生产加工装置,其中所述所述振动送料机构包括第一电机、第一电机输出轴、第一转动盘、第一导向滑块、第一导向轨道、第二导向滑块、第二导向轨道、第二转动盘、第六转轴、配重块、第三滑块、第一支撑框、第一弹簧、第二弹簧、第三支撑杆、第一固定板、导向柱、第三弹簧、导向套;
6、所述机体与所述第一电机固定连接,所述第一电机的所述第一电机输出轴与所述第一转动盘同轴固定,所述第一转动盘的表面固定有所述第一导向滑块,所述第一导向滑块沿所述第一导向轨道移动,所述第一导向轨道与所述第二导向轨道垂直固定连接,所述第二导向轨道内有沿其移动的所述第二导向滑块,所述第二导向滑块固定在所述第二转动盘的表面;
7、所述第二转动盘与所述第六转轴的一端同轴固定,所述第六转轴非同轴固定有配重块,所述第六转轴与所述第三滑块轴承连接,所述第三滑块沿所述第一支撑框的内壁移动,所述第一支撑框与机体固定连接,所述第三滑块的一侧与所述第一弹簧的一端固定连接,所述第一弹簧的另一端与所述第一支撑框内壁的顶部固定连接,所述第三滑块的另一侧与所述第二弹簧的一端固定连接,所述第二弹簧的另一端与所述第一支撑框内壁的底部固定连接;
8、所述第三滑块与所述第三支撑杆的一端固定连接,所述第三支撑杆的另一端与所述第一固定板固定连接,所述第一固定板倾斜设置,所述第一固定板的底部固定有所述导向柱的一端,所述导向柱的另一端套装在所述导向套内并沿其移动,所述导向套与机体固定连接,所述第一固定板底部固定有所述第三弹簧的一端,所述第三弹簧的另一端与机体固定连接,所述第一固定板与所述连接杆的一端固定连接,所述连接杆的另一端与倾斜设置的输送板固定连接。
9、本发明一种农产品自动化生产加工装置,其中所述输送板还驱动有第一清扫机构,所述第一清扫机构包括第一齿条、第一齿轮、丝杠、第一螺母、第二螺母、第三导轨、第四支撑杆、清洁毛刷;
10、所述输送板与所述第一齿条的一端固定,所述第一齿条与所述第一齿轮啮合连接,所述第一齿轮与所述丝杠的一端同轴固定,所述丝杠的另一端与机体轴承连接,所述丝杠与所述第一螺母和所述第二螺母螺纹连接,所述述第一螺母和所述第二螺母沿所述第三导轨移动,所述第三导轨与机体固定连接,所述第二螺母与所述第四支撑杆的一端固定连接,所述第四支撑杆的另一端与所述清洁毛刷连接,所述清洁毛刷能够与农作物的表面搭接;
11、两组所述第四支撑杆、清洁毛刷组成的第二结构体关于所述丝杠的中心对称设置,对称后的第一结构体的所述第四支支撑杆与所述第一螺母固定连接。
12、本发明一种农产品自动化生产加工装置,其中所述输送板表面均匀开设多个通孔。
13、本发明一种农产品自动化生产加工装置,其中所述输送板从左上到右下倾斜设置。
14、本发明一种农产品自动化生产加工装置,其中两组所述导向柱、导向套、第三弹簧组成的第一结构体关于第一固定板的中心对称设置。
15、本发明一种农产品自动化生产加工装置,其中所述丝杠上设置有两段螺纹方向相反的螺纹。
16、本发明一种农产品自动化生产加工装置,其中所述第一螺母和所述第二螺母内螺纹方向相反,所述第一螺母和所述第二螺母的形状为方形。
17、本发明一种农产品自动化生产加工装置与现有技术不同之处在于本发明一种农产品自动化生产加工装置过撞振动机构)使第一电机驱动圆滑块皮带机构使输送板上下振动送料,将输送板上的农产品通过振动将水从农产品上振落,保证农产品进入容器之前表面没有水分,避免影响一些农产品例如石斛的药用价值,提高生产效率和产品质量。
18、下面结合附图对本发明的一种农产品自动化生产加工装置作进一步说明。
技术特征:
1.一种农产品自动化生产加工装置,其特征在于:包括
2.根据权利要求1所述的一种农产品自动化生产加工装置,其特征在于:所述振动送料机构(500)包括第一电机(501)、第一电机输出轴(502)、第一转动盘(505)、第一导向滑块(506)、第一导向轨道(507)、第二导向滑块(508)、第二导向轨道(520)、第二转动盘(509)、第六转轴(510)、配重块(511)、第三滑块(512)、第一支撑框(513)、第一弹簧(514)、第二弹簧(515)、第三支撑杆(516)、第一固定板(105)、导向柱(106)、第三弹簧(107)、导向套(112);
3.根据权利要求2所述的一种农产品自动化生产加工装置,其特征在于:所述输送板(108)还驱动有第一清扫机构(300),所述第一清扫机构(300)包括第一齿条(301)、第一齿轮(302)、丝杠(303)、第一螺母(304)、第二螺母(305)、第三导轨(306)、第四支撑杆(307)、清洁毛刷(308);
4.根据权利要求3所述的一种农产品自动化生产加工装置,其特征在于:所述输送板(108)表面均匀开设多个通孔(109)。
5.根据权利要求4所述的一种农产品自动化生产加工装置,其特征在于:所述输送板(108)从左上到右下倾斜设置。
6.根据权利要求5所述的一种农产品自动化生产加工装置,其特征在于:两组所述导向柱(106)、导向套(112)、第三弹簧(107)组成的第一结构体关于第一固定板(105)的中心对称设置。
7.根据权利要求6所述的一种农产品自动化生产加工装置,其特征在于:所述丝杠(303)上设置有两段螺纹方向相反的螺纹。
8.根据权利要求7所述的一种农产品自动化生产加工装置,其特征在于:所述第一螺母(304)和所述第二螺母(305)内螺纹方向相反,所述第一螺母(304)和所述第二螺母(305)的形状为方形。
技术总结
本发明一种农产品自动化生产加工装置包括机体(101),其固定有容器(102),所述容器(102)内盛放待加工农产品;输送板(108),其能够运输农产品;振动机构(500),其通过第一电机(501)驱动圆滑块皮带机构使输送板(108)上下振动送料。本发明通过撞振动机构(500))使第一电机(501)驱动圆滑块皮带机构使输送板(108)上下振动送料,将输送板(108)上的农产品通过振动将水从农产品上振落,保证农产品进入容器(102)之前表面没有水分,避免影响一些农产品例如石斛的药用价值,提高生产效率和产品质量。
技术研发人员:鲁树华
受保护的技术使用者:诸城市华邦机械有限公司
技术研发日:
技术公布日:2024/8/20
技术研发人员:鲁树华
技术所有人:诸城市华邦机械有限公司
备 注:该技术已申请专利,仅供学习研究,如用于商业用途,请联系技术所有人。
声 明 :此信息收集于网络,如果你是此专利的发明人不想本网站收录此信息请联系我们,我们会在第一时间删除
