一种底座可调的POS机检测装置的制作方法

本发明专利涉及pos机检测领域,具体涉及一种底座可调的pos机检测装置。
背景技术:
pos(pointofsales)机是一种配有条码或者ocr码(光字符码)的终端阅读器。pos机的工作原理是:通过其上设置的读卡器读取银行卡上的磁条信息,由pos机操作人员输入交易金额,持卡人输入个人识别信息(即密码),pos机把这些信息通过银联中心,上送发卡银行系统,完成联机交易,给出成功与否的信息,并打印相应的票据。pos机的应用实现了信用卡、借记卡等银行卡的联机消费,保证了交易的安全、快捷和准确,避免了手工查询黑名单和压单等繁杂劳动,提高了工作效率。
为了保证产品质量,需要对pos机进行产品质量检测,其中一项检测项目为通过测试卡(信用卡或者借记卡)对pos机进行磁条刷卡测试,此项检测要求pos机能够执行刷卡测------次数≥100万次(500次/天*365天*5)以上,即需要对pos机执行100万次以上的刷卡操作,5天即可完成。现有的pos机检测装置中用于装夹pos机的底座往往是固定的,由于不同的pos机大小不同、刷卡槽的位置也不同,固定式的底座无法适应不同型号的pos机。
技术实现要素:
针对现有技术中的不足,本发明提供了一种底座可调的pos机检测装置。
为了解决上述技术问题,本发明采用如下技术方案:
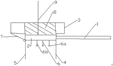
一种底座可调的pos机检测装置,包括基座,所述基座上设有支架,所述支架上设有滑杆,所述滑杆上设有可沿所述滑杆滑动的滑动器,所述滑动器上设有持卡器,所述基座上设有纵向滑轨,所述纵向滑轨上设有可沿所述纵向滑轨滑动的纵向移动板,所述纵向移动板上设有横向滑轨,所述横向滑轨上设有可沿所述横向滑轨移动的横向移动板,所述横向移动板上设有升降装置,所述升降装置的顶端设有pos机安装板,所述pos机安装板为方形,所述pos机安装板的四个侧面均设有凹槽,每个凹槽内均设有伸缩杆,所述伸缩杆的端部设有夹持固定板。
作为优选,还包括用以控制滑动器的滑动控制器,所述滑动控制器固定于所述基座上。
作为优选,所述支架上还设有光电感应器,所述基座上设有计数器,所述计数器与所述光电感应器相连接。
作为优选,所述计数器为数显计数器。
作为优选,所述滑动控制器包括开关控制装置及速率调节装置。
作为优选,所述纵向移动板上设有用于将纵向移动板固定在纵向滑轨上的纵向锁定装置。
作为优选,所述横向移动板上设有用于将纵向移动板固定在纵向滑轨上的横向锁定装置。
作为优选,所述升降装置包括固定在横向移动板上的支撑柱和套在所述支撑柱上的套筒,所述套筒的顶部与pos机安装板固定连接。
作为优选,所述套筒上设有高度锁定装置。
作为优选,所述pos机安装板的四周分别设有伸缩杆锁定装置。
本发明的有益效果是:
本发明通过设置横向滑轨、纵向滑轨和升降装置,使得pos机安装板在前后、左右以及高度方向上的位置均可调节,并且pos机安装板的四周设置了伸缩杆,通过调节伸缩杆,可以夹持固定不同形状、大小的pos机,方便灵活。当用以对pos机进行质量检测时,可将pos机固定于pos机安装板上,测试卡固定于持卡器上,通过滑动器带动持卡器滑动,从而带动测试卡对pos机进行磁条刷卡测试,检测所述pos机的质量。本发明结构简单、操作简便、适应性强,能够适应不同型号的pos机。
附图说明
图1是本发明的结构示意图。
附图标记列表:
1-基座;2-支架;3-滑杆;4-滑动器;5-持卡器;6-纵向滑轨;7-纵向移动板;8-横向滑轨,9-横向移动板;10-升降装置;11-pos机安装板;12-伸缩杆;13-夹持固定板;14-计数器;15-光电感应器;16-纵向锁定装置;17-横向锁定装置;18-高度锁定装置;19-伸缩杆锁定装置。
具体实施方式
下面结合附图和具体实施方式对本发明作进一步描述:
如图1所示,一种底座可调的pos机检测装置,包括基座1,基座1上设有支架2,支架2上设有滑杆3,滑杆3上设有可沿滑杆3滑动的滑动器4,滑动器4上设有持卡器5,基座1上设有纵向滑轨6,纵向滑轨6上设有可沿纵向滑轨6滑动的纵向移动板7,纵向移动板7上设有横向滑轨8,横向滑轨8上设有可沿横向滑轨8移动的横向移动板9,横向移动板9上设有升降装置10,升降装置10的顶端设有pos机安装板11,pos机安装板11为方形,pos机安装板11的四个侧面均设有凹槽,每个凹槽内均设有伸缩杆12,伸缩杆12的端部设有夹持固定版13。
还包括用以控制滑动器4的滑动控制器,滑动控制器固定于基座1上。
支架2上还设有光电感应器15,基座1上设有计数器14,计数器14与光电感应器15相连接。本例中的计数器14为数显计数器14。当滑动器4滑动时,光电感应器15能够检测出滑动器4经过滑动器4经过光电感应器15前方的信号,并将信号传递给计数器14,然后计数器14记录下滑动次数即刷卡次数,并显示出来。
滑动控制器包括开关控制装置及速率调节装置。开关控制装置用于控制所述滑动器4的启动与关闭;速率调节装置用于调节所述滑动器4的滑动速率,即控制所述持卡器5的滑动速度,由此,控制了对pos机的检测速度,对检测进行更智能化及高效地控制。
纵向移动板7上设有用于将纵向移动板7固定在纵向滑轨6上的纵向锁定装置16。纵向锁定装置16包括设置在纵向移动板7上的螺孔和穿过该螺孔的锁紧螺栓。
横向移动板9上设有用于将纵向移动板7固定在纵向滑轨6上的横向锁定装置17。横向锁定装置17包括设置在横向移动板9上的螺孔和穿过该螺孔的锁紧螺栓。
升降装置10包括固定在横向移动板9上的支撑柱和套在支撑柱上的套筒,套筒的顶部与pos机安装板11固定连接。套筒上设有高度锁定装置18。高度锁紧装置包括设置在套筒上的螺孔和穿过该螺孔的锁紧螺栓。
pos机安装板11的四周分别设有伸缩杆锁定装置19。伸缩杆锁定装置19包括设置在pos机安装板11上的螺孔和穿过该螺孔的锁紧螺栓。
本发明通过设置横向滑轨8、纵向滑轨6和升降装置10,使得pos机安装板11在前后、左右以及高度方向上的位置均可调节,并且pos机安装板11的四周设置了伸缩杆12,通过调节伸缩杆12,可以夹持固定不同形状、大小的pos机,方便灵活。当用以对pos机进行质量检测时,可将pos机固定于pos机安装板11上,测试卡固定于持卡器5上,通过滑动器4带动持卡器5滑动,从而带动测试卡对pos机进行磁条刷卡测试,检测所述pos机的质量。本发明结构简单、操作简便、适应性强,能够适应不同型号的pos机。
本发明方案所公开的技术手段不仅限于上述实施方式所公开的技术手段,还包括由以上技术特征任意组合所组成的技术方案。应当指出,对于本技术领域的普通技术人员来说,在不脱离本发明原理的前提下,还可以做出若干改进和润饰,这些改进和润饰也视为本发明的保护范围。
技术研发人员:杨俊民
技术所有人:苏州锟恩电子科技有限公司
备 注:该技术已申请专利,仅供学习研究,如用于商业用途,请联系技术所有人。
声 明 :此信息收集于网络,如果你是此专利的发明人不想本网站收录此信息请联系我们,我们会在第一时间删除
