一种颗粒机的制作方法

本实用新型涉及机械领域,特别是指一种颗粒机。
背景技术:
颗粒机是最常用制备颗粒的设备,市场上现有的颗粒机使用时存在以下缺点:
1.送料不均匀,导致成型颗粒大小不一;
2.搅拌不均匀,造成成型颗粒紧实程度不一;
以上两点造成了严重浪费,且严重影响了成型颗粒的质量及使用质量。
技术实现要素:
本实用新型提出一种颗粒机,通过使用自动分料结构,在自动分料结构中设置自动称重器及重量传感器,能够精确控制进入到制料箱中的物料的流速及重量,进而保证了成型颗粒大小的均匀性、使得成型颗粒紧实程度相同,进而提高了生产质量,保证了成型率,极大提高了企业效益。
本实用新型的技术方案是这样实现的:
一种颗粒机,包括:底架,所述底架上设有碎料结构、自动分料结构、搅拌箱及制料箱,所述碎料结构与所述自动分料结构连接,所述自动分料结构与所述搅拌箱连接,所述搅拌箱与所述制料箱连接;所述自动分料结构包括顺次连接的储料仓、出料槽、自动分料器,所述自动分料器与所述搅拌箱连接;所述自动分料器内设有自动称重器及重量传感器,所述重量传感器设于所述自动称重器底部;所述储料仓与所述出料槽的连接处设有可进行上下移动的辅助板,所述辅助板连接有自动控制系统,所述重量传感器及所述自动分料器均与所述自动控制系统连接。
进一步,所述搅拌箱内设有搅拌结构,所述搅拌结构包括搅拌轴及设于所述搅拌轴上的搅拌叶,所述搅拌轴设于所述搅拌箱的顶部,所述搅拌轴连接有驱动电机,所述搅拌箱顶部还设有压力传感器,所述驱动电机及所述压力传感器均与所述自动控制系统连接;所述搅拌箱的顶部设有搅拌进口,所述搅拌进口与所述出料槽连通;所述搅拌箱底部设有搅拌出口,所述搅拌出口与所述制料箱连通。
进一步,所述碎料结构包括底座及设于底座上的支架,所述支架上设有第一碎料辊及第二碎料辊,所述底座上设有碎料电机,所述碎料电机的输出轴上安装有第一驱动齿轮轴,所述第一驱动齿轮轴啮合有第二驱动齿轮轴,所述第一驱动齿轮轴与所述第一碎料辊连接,所述第二驱动齿轮轴与所述第二碎料辊连接;所述支架顶部设有上料结构,所述上料结构设于所述第一碎料辊及第二碎料辊的上方,所述碎料电机与所述自动控制系统连接;所述储料仓设于所述第一碎料辊及第二碎料辊的下方。
进一步,所述搅拌箱内还设有清洗结构,所述清洗结构包括清洗液冲洗管、清水冲洗管、出水管及清洁刷,所述清洗液冲洗管及清水冲洗管设于所述搅拌箱的顶部,所述出水管设于所述搅拌箱的侧面底部,所述清洁刷设于所述搅拌箱内部。
更进一步,所述制料箱内设有螺旋送料装置,所述螺旋送料装置连接有制料模具,所述制料箱上设有制料进口及制料出口,所述制料进口与所述搅拌出口连通,所述制料出口与所述制料模具连通。
本实用新型通过使用自动分料结构,在自动分料结构中设置自动称重器及重量传感器,能够精确控制进入到制料箱中的物料的流速及重量,进而保证了成型颗粒大小的均匀性、使得成型颗粒紧实程度相同,进而提高了生产质量,保证了成型率,极大提高了企业效益。
附图说明
为了更清楚地说明本实用新型实施例或现有技术中的技术方案,下面将对实施例或现有技术描述中所需要使用的附图作简单地介绍,显而易见地,下面描述中的附图仅仅是本实用新型的一些实施例,对于本领域普通技术人员来讲,在不付出创造性劳动性的前提下,还可以根据这些附图获得其他的附图。
图1为本实用新型具体实施例中一种颗粒机的整体结构示意图;
图2为图1所示的一种颗粒机的搅拌箱的结构示意图;
图3为图1所示的一种颗粒机的自动控制系统与各个结构之间的连接关系示意图。
具体实施方式
下面将结合本实用新型实施例中的附图,对本实用新型实施例中的技术方案进行清楚、完整地描述,显然,所描述的实施例仅仅是本实用新型一部分实施例,而不是全部的实施例。基于本实用新型中的实施例,本领域普通技术人员在没有作出创造性劳动前提下所获得的所有其他实施例,都属于本实用新型保护的范围。
在本实用新型的具体实施例中,见图1~图3,一种颗粒机,包括:底架1,底架1上设有碎料结构2、自动分料结构3、搅拌箱4及制料箱5,碎料结构2与自动分料结构3连接,自动分料结构3与搅拌箱4连接,搅拌箱4与所述制料箱5连接;自动分料结构3包括顺次连接的储料仓31、出料槽33、自动分料器34,自动分料器34与搅拌箱4连接;自动分料器34内设有自动称重器35及重量传感器36,重量传感器36设于自动称重器35底部;储料仓31与出料槽33的连接处设有可进行上下移动的辅助板32,辅助板32连接有自动控制系统6,重量传感器36及自动分料器34均与自动控制系统6连接。
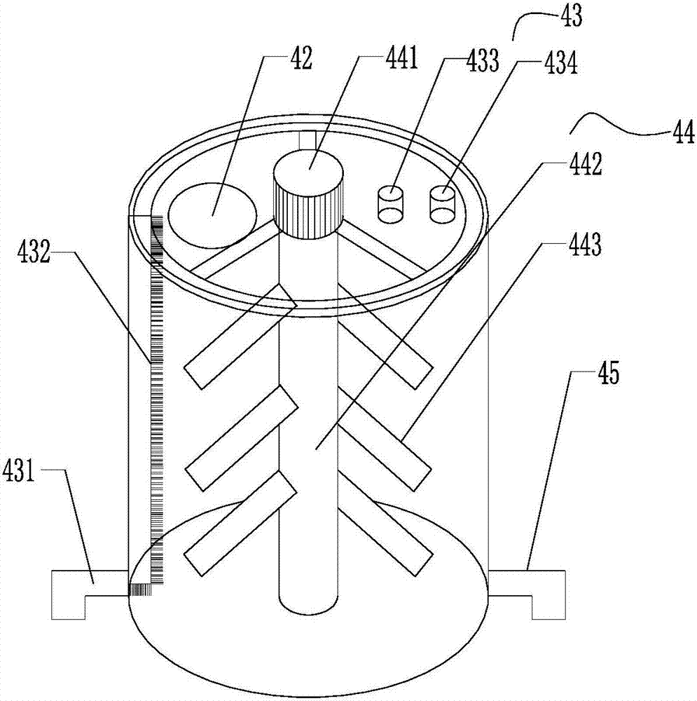
在本实用新型的具体实施例中,见图1~图3,搅拌箱4内设有搅拌结构44,搅拌结构44包括搅拌轴442及设于搅拌轴442上的搅拌叶443,搅拌轴442设于搅拌箱4的顶部,搅拌轴442连接有驱动电机441,搅拌箱4顶部还设有压力传感器444,驱动电机441及压力传感器444均与自动控制系统6连接;搅拌箱4的顶部设有搅拌进口42,搅拌进口42与出料槽33连通;搅拌箱4底部设有搅拌出口45,搅拌出口45与制料箱5连通。
在本实用新型的具体实施例中,见图1~图3,碎料结构2包括底座22及设于底座22上的支架25,支架25上设有第一碎料辊27及第二碎料辊26,底座22上设有碎料电机21,碎料电机21的输出轴上安装有第一驱动齿轮轴24,第一驱动齿轮轴24啮合有第二驱动齿轮轴23,第一驱动齿轮轴24与第一碎料辊27连接,第二驱动齿轮轴23与第二碎料辊26连接;支架25顶部设有上料结构,上料结构设于所述第一碎料辊27及第二碎料辊26的上方,碎料电机21与自动控制系统6连接;储料仓31设于第一碎料辊27及第二碎料辊26的下方。
在本实用新型的具体实施例中,见图1~图3,搅拌箱4内还设有清洗结构43,清洗结构43包括清洗液冲洗管434、清水冲洗管433、出水管431及清洁刷432,清洗液冲洗管434及清水冲洗管433设于搅拌箱4的顶部,出水管431设于搅拌箱4的侧面底部,清洁刷432设于搅拌箱4的内部。
在本实用新型的具体实施例中,见图1~图3,制料箱5内设有螺旋送料装置51,螺旋送料装置51连接有制料模具52,制料箱5上设有制料进口及制料出口,制料进口与搅拌出口45连通,制料出口与制料模具52连通。
在本实用新型的具体实施例中,见图1~图2,工作时,为了便于后续的颗粒容易成型,首先将物料送入碎料结构2的第一碎料辊27及第二碎料辊26间将物料粉碎,粉碎后的物料直接落入储料仓31内,此时辅助板32打开,物料沿着出料槽33输送到自动分料器34内进行分料,自动分料器34内这有自动称重器35及重量传感器36,当重量传感器36感受到自动称重器35上的重量达到设定值时,重量传感器36将信号传送到自动控制系统6,自动控制系统6控制辅助板32使其上升以阻止物料的输送,同时物料由自动分料器34落入搅拌箱4内进行搅拌,搅拌均匀的物料进入制料箱5内进行挤压成型,最后制得所需的成型颗粒;由于在搅拌箱4内侧安装了压力传感器444,当搅拌箱4内的压力过大时,压力传感器444将压力信号传送给自动控制系统6,自动控制系统6将控制搅拌电机411停止工作,以防止搅拌箱4爆炸;设备使用完成后,可以通过清洗液冲洗管434箱搅拌箱4内喷洒清洗液,同时通过清水冲洗管433向搅拌箱4内喷洒清水以将搅拌箱4冲洗干净,在搅拌箱4内设置的清洁刷432能够将搅拌箱4冲刷干净。
以上所述仅为本实用新型的较佳实施例而已,并不用以限制本实用新型,凡在本实用新型的精神和原则之内,所作的任何修改、等同替换、改进等,均应包含在本实用新型的保护范围之内。
技术研发人员:赵旭魁
技术所有人:青岛泰联新材料有限公司
备 注:该技术已申请专利,仅供学习研究,如用于商业用途,请联系技术所有人。
声 明 :此信息收集于网络,如果你是此专利的发明人不想本网站收录此信息请联系我们,我们会在第一时间删除