一种一体式升降的药材烘烤机的制作方法

本实用新型涉及一种药材烘烤机,具体是一种一体式升降的药材烘烤机。
背景技术:
目前,生产中药的过程中都需要对药物的原料进行烘干,蒸发出其中水分,这一过程一般都是通过干燥箱来实现的,但是目前用于药物的干燥箱一般采用蒸汽或者电加热的方式,结构单一而且效率低下,使用的灵活性不高。
现有的技术中,普通装置在放入物料时容易混杂,放料和取料时不够便利,特别是干燥烘烤后物料温度较高,容易对操作人员造成安全困扰;现有的技术中,一般装置都是采用转动式盖门,这样的结构容易使烘烤时的冷凝水大量漏出,影响加工环境的清理;现有的技术中,装置加工完成后内部清理不够便利,对于药材的加工来说,容易交叉污染,不利于控制药材品质。
技术实现要素:
本实用新型的目的在于提供一种一体式升降的药材烘烤机,以解决上述背景技术中提出的问题。
为实现上述目的,本实用新型提供如下技术方案:
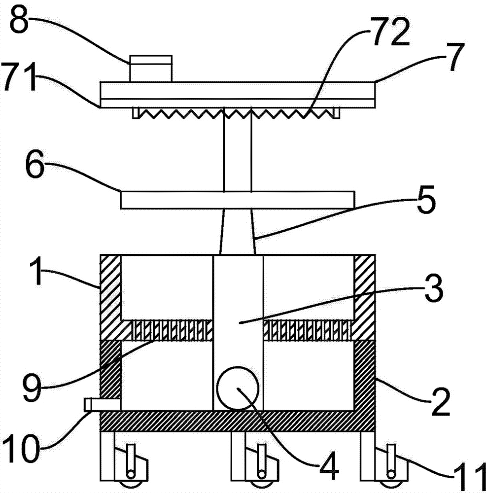
一种一体式升降的药材烘烤机,包括外壳、升降组件、升降杆、药品安置盘和保护盖,所述外壳下端焊接设置有底座,所述底座底部上端贯穿所述外壳下端设置有升降组件,所述升降组件内由转轴、飞轮和转动杆组成,所述底座底部位于所述升降组件正面连接设置有电机,所述升降组件上端连接设置有升降杆,所述升降杆外围中部连接设置有药品安置盘,所述药品安置盘内镶嵌设置有置物网板,所述升降杆上端焊接设置有保护盖,所述保护盖下端边缘连接设置有密封圈,所述保护盖下端位于所述升降杆周围连接设置有加热电阻丝,所述保护盖上端左侧连接设置有排气管,所述外壳底部位于所述升降组件周围贯穿设置有排水孔,所述底座左壁下部连接设置有清污管道,所述底座下端连接设置有万向轮。
作为本实用新型进一步的方案:所述外壳为上端开放的圆柱状筒体。
作为本实用新型进一步的方案:所述电机的外壳部分和所述底座连接固定,所述电机的输出端和所述升降组件的转轴连接固定。
作为本实用新型进一步的方案:所述升降杆为圆台形长杆,所述升降杆下端和所述升降组件内径尺寸相契合,所述升降杆下部位于所述升降组件内,所述升降杆下端和所述升降组件中的转动杆活动连接。
作为本实用新型进一步的方案:所述药品安置盘尺寸和所述外壳内壁尺寸相互契合,所述升降杆下部尺径大于所述升降杆和所述药品安置盘连接处的尺寸,当所述升降杆在所述升降组件的带动下收缩到所述升降组件内,所述药品安置盘落入所述外壳内,当所述升降杆在所述升降组件带动下上升,所述药品安置盘位于所述升降杆中部。
作为本实用新型进一步的方案:所述置物网板根据所述药品安置盘表面平均分为四部分。
作为本实用新型进一步的方案:所述保护盖和所述外壳截面尺径相同。
作为本实用新型进一步的方案:所述加热电阻丝由电阻丝和用于控制升温的热电偶组成。
作为本实用新型进一步的方案:所述排气管内镶嵌有由下向上连通的单向阀,所述排气管上端包裹有滤布。
与现有技术相比,本实用新型的有益效果是:平时放置时,升降杆下部位于升降组件内,保护盖盖在外壳的上端,药品安置盘位于外壳内,启动电机后,电机通过升降组件内的转动带动飞轮转动,并通过转动杆推动升降杆上升,升降杆在上升过程中,逐渐能够将药品安置盘推起并悬挂在升降杆外围的中部,同时保护盖升起位于外壳的上方,这样的设置在不使用的情况下不易落入灰尘,使用时自动升起,便于放置物料;将药材放置在置物网板中,不同的药材之间能够相互隔离,避免了药材混淆,随着电机的持续转动,升降杆能够逐渐将药品安置盘带入外壳内且将保护盖盖在外壳的上端,关闭电机并开启加热电阻丝,此时能够对药材进行加热烘烤,此时装置内部能够形成相对微压的状态,药材在被烘烤过程中所产生的水汽一部分通过排气管排出,一部分冷凝后通过排水孔落入底座内,这样的设计结构稳定,在装置关闭开启过程中能够避免加工产生的冷凝水外泄,同时升降式出料结构也更利于放置和取出物料,使用更加方便;烘烤完成后启动电机并取出物料,此时可以通过水洗方式清理装置内部,污水通过排水孔集中到底座内,并通过清污管道可以排出,这样的设计方便,利于清洁。
附图说明
图1为一种一体式升降的药材烘烤机的结构示意图。
图2为一种一体式升降的药材烘烤机的剖视结构示意图。
图3为一种一体式升降的药材烘烤机中升降组件的结构示意图。
图中:1-外壳,2-底座,3-升降组件,4-电机,5-升降杆,6-药品安置盘,61-置物网板,7-保护盖,71-密封圈,72-加热电阻丝,8-排气管,9-排水孔,10-清污管道,11-万向轮。
具体实施方式
下面将结合本实用新型实施例中的附图,对本实用新型实施例中的技术方案进行清楚、完整地描述,显然,所描述的实施例仅仅是本实用新型一部分实施例,而不是全部的实施例。基于本实用新型中的实施例,本领域普通技术人员在没有做出创造性劳动前提下所获得的所有其他实施例,都属于本实用新型保护的范围。
请参阅图1~3,本实用新型实施例中,一种一体式升降的药材烘烤机,包括外壳1、升降组件3、升降杆5、药品安置盘6和保护盖7,所述外壳1为上端开放的圆柱状筒体,所述外壳1下端焊接设置有底座2,所述底座2底部上端贯穿所述外壳1下端设置有升降组件3,所述升降组件3内由转轴、飞轮和转动杆组成,所述底座2底部位于所述升降组件3正面连接设置有电机4,所述电机4的外壳部分和所述底座2连接固定,所述电机4的输出端和所述升降组件3的转轴连接固定,所述升降组件3上端连接设置有升降杆5,所述升降杆5为圆台形长杆,所述升降杆5下端和所述升降组件3内径尺寸相契合,所述升降杆5下部位于所述升降组件3内,所述升降杆5下端和所述升降组件3中的转动杆活动连接,所述电机4启动后通过所述升降组件3内的转动带动飞轮转动,并通过转动杆带动所述升降杆5在所述升降组件3内上下移动,所述升降杆5外围中部连接设置有药品安置盘6,所述药品安置盘6能够在所述升降杆5外围上部上下移动,所述药品安置盘6尺寸和所述外壳1内壁尺寸相互契合,所述升降杆5下部尺径大于所述升降杆5和所述药品安置盘6连接处的尺寸,当所述升降杆5在所述升降组件3的带动下收缩到所述升降组件3内,所述药品安置盘6落入所述外壳1内,当所述升降杆5在所述升降组件3带动下上升,所述药品安置盘6位于所述升降杆5中部,所述药品安置盘6内镶嵌设置有置物网板61,所述置物网板61根据所述药品安置盘6表面平均分为四部分,这样便于放置不同种类的药材,避免相互混杂,所述升降杆5上端焊接设置有保护盖7,所述保护盖7和所述外壳1截面尺径相同,所述保护盖7下端边缘连接设置有密封圈71,当所述保护盖7在所述升降杆5带动下落在所述外壳1上端时,所述密封圈71能够启动密封隔绝的作用,所述保护盖7下端位于所述升降杆5周围连接设置有加热电阻丝72,所述加热电阻丝72由电阻丝和用于控制升温的热电偶组成,当所述保护盖7盖在所述外壳1上端时,所述加热电阻丝72在连接电路后启动加热,能够对所述置物网板61上放置的药材进行加热烘烤,所述保护盖7上端左侧连接设置有排气管8,所述排气管8内镶嵌有由下向上连通的单向阀,所述排气管8上端包裹有滤布,所述排气管8能够使装置在烘干药材时辅助排出高温气体,避免压力过大,所述外壳1底部位于所述升降组件3周围贯穿设置有排水孔9,烘烤产生的蒸汽遇到装置内壁会产生冷凝水,烘烤中药材也会有少许渣滓出现,这些杂质通过所述排水孔9落入所述底座2内,同时,在烘烤完成后,所述排水孔9也能够便于装置水洗清理时排水所用,所述底座2左壁下部连接设置有清污管道10,所述底座2内烘烤产生的水杂等以及清洗时的污水均能够通过所述清污管道10排出,所述底座2下端连接设置有万向轮11,所述万向轮11的设置便于装置移动,提高装置的使用灵活性。
本实用新型的工作原理是:平时放置时,升降杆5下部位于升降组件3内,保护盖7盖在外壳1的上端,药品安置盘6位于外壳1内,启动电机4后,电机4通过升降组件3内的转动带动飞轮转动,并通过转动杆推动升降杆5上升,升降杆5在上升过程中,逐渐能够将药品安置盘6推起并悬挂在升降杆5外围的中部,同时保护盖7升起位于外壳1的上方,这样的设置在不使用的情况下不易落入灰尘,使用时自动升起,便于放置物料;将药材放置在置物网板61中,不同的药材之间能够相互隔离,避免了药材混淆,随着电机4的持续转动,升降杆5能够逐渐将药品安置盘6带入外壳1内且将保护盖7盖在外壳1的上端,关闭电机4并开启加热电阻丝72,此时能够对药材进行加热烘烤,此时装置内部能够形成相对微压的状态,药材在被烘烤过程中所产生的水汽一部分通过排气管8排出,一部分冷凝后通过排水孔9落入底座2内,这样的设计结构稳定,在装置关闭开启过程中能够避免加工产生的冷凝水外泄,同时升降式出料结构也更利于放置和取出物料,使用更加方便;烘烤完成后启动电机4并取出物料,此时可以通过水洗方式清理装置内部,污水通过排水孔9集中到底座2内,并通过清污管道10可以排出,这样的设计方便,利于清洁。
对于本领域技术人员而言,显然本实用新型不限于上述示范性实施例的细节,而且在不背离本实用新型的精神或基本特征的情况下,能够以其他的具体形式实现本实用新型。因此,无论从哪一点来看,均应将实施例看作是示范性的,而且是非限制性的,本实用新型的范围由所附权利要求而不是上述说明限定,因此旨在将落在权利要求的等同要件的含义和范围内的所有变化囊括在本实用新型内。不应将权利要求中的任何附图标记视为限制所涉及的权利要求。
此外,应当理解,虽然本说明书按照实施方式加以描述,但并非每个实施方式仅包含一个独立的技术方案,说明书的这种叙述方式仅仅是为清楚起见,本领域技术人员应当将说明书作为一个整体,各实施例中的技术方案也可以经适当组合,形成本领域技术人员可以理解的其他实施方式。
技术研发人员:梁峰,雷红杏
技术所有人:东莞市亚洲制药有限公司
备 注:该技术已申请专利,仅供学习研究,如用于商业用途,请联系技术所有人。
声 明 :此信息收集于网络,如果你是此专利的发明人不想本网站收录此信息请联系我们,我们会在第一时间删除
