一种磁铁过滤器的制作方法

本实用新型属于过滤装置技术领域,尤其涉及一种磁铁过滤器。
背景技术:
随着现代社会的发展,手机、摄像机、笔记本电脑、便携式DVD和数码相机等移动设备有了越来越广泛的应用。锂离子电池作为这些数码设备的动力源,发挥着不可或缺的作用。
随着锂离子电池的发展,对电池的性能要求越来越高。目前,锂离子电池自放电是电池性能所面对的一个重要问题。电池自放电大的主要原因是在生产过程中,电池内部引入了一些金属颗粒,尤其是铁和不锈钢等磁性颗粒。这些磁性颗粒容易将隔离膜刺破,使阴阳极直接导通而发生短路;轻微的内部短路将导致电池电压下降快,使用寿命短,严重时可发生电池燃烧冒烟等危险。阴阳极和隔离膜浆料中的磁性颗粒以及所用主料中的磁性颗粒是极片上磁性颗粒的主要来源。
目前,通常采用磁性过滤装置来除去浆料中的磁性颗粒。但是现有的磁性过滤装置还存在不足:第一,在高粘度流体或者粉料流体中,磁铁作用的有效距离非常短,磁性颗粒在物料中很难流动,从而导致过滤效率和过滤能力都比较低;第二,磁铁过滤装置中多根磁铁之间的距离非常小,磁铁和管壁之间的距离也非常小,从而导致物料堵塞过滤腔。
技术实现要素:
本实用新型的目的在于:针对现有技术的不足,而提供一种磁铁过滤器,既能提高过滤效率和过滤能力,又能避免物料堵塞过滤腔。
为了实现上述目的,本实用新型采用以下技术方案:
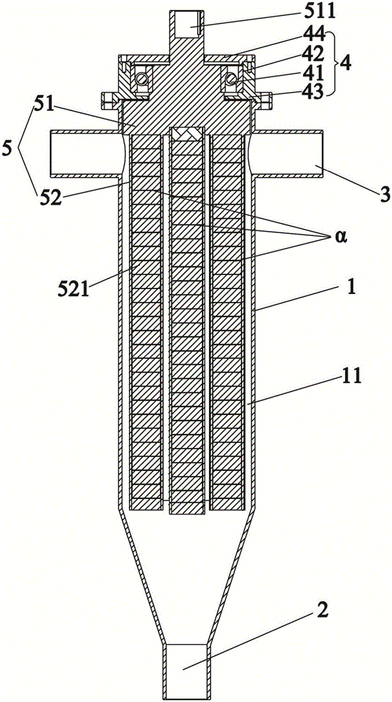
一种磁铁过滤器,包括过滤壳体、进料口、出料口、密封装置和磁铁搅拌装置,所述密封装置与所述磁铁搅拌装置转动连接,并且所述密封装置与所述过滤壳体密封连接,所述过滤壳体的内部具有一过滤腔,所述进料口和所述出料口均与所述过滤腔连通,所述磁铁搅拌装置包括固定座和均匀安装于所述固定座的多个磁铁件,多个所述磁铁件均伸入所述过滤腔,每个所述磁铁件均由若干个磁块单元堆叠而成,相邻的两个所述磁块单元之间形成磁力面α,相邻的两个所述磁铁件的所有磁力面α均不在一平面上。
本实用新型中多个磁铁件均由若干个磁块单元堆叠而成,相邻的两个磁块单元之间形成磁力面α,相邻的两个磁铁件的所有磁力面α均不在一平面上,这使得整个磁铁过滤器的磁性强度分布更均匀,以提升磁铁过滤器的过滤能力。除此之外,在本实用新型中,多个磁铁件在过滤腔内转动,使得从进料口进入到过滤腔内的物料在磁铁件附近形成湍流,增加了物料与磁铁件的接触,使得物料中的磁性颗粒被充分的过滤掉,而且磁铁件的转动防止了物料在过滤腔内的沉积,避免了堵塞。
作为本实用新型所述的磁铁过滤器的一种改进,所述固定座的输入端设置有用于与电机输出端连接的电机安装孔。
作为本实用新型所述的磁铁过滤器的一种改进,所述固定座设置为“土”字形结构。
作为本实用新型所述的磁铁过滤器的一种改进,相邻两个所述磁铁件之间的距离为1~10mm。
作为本实用新型所述的磁铁过滤器的一种改进,最靠近所述过滤壳体的磁铁件与所述过滤壳体之间的距离为1~10mm。
作为本实用新型所述的磁铁过滤器的一种改进,所述密封装置包括密封轴承、密封圈、卡箍和密封盖,所述密封轴承套设于所述固定座,所述密封圈套设于所述密封轴承,所述卡箍将所述密封轴承和所述密封圈紧固于所述固定座,所述密封盖盖设于所述卡箍。
作为本实用新型所述的磁铁过滤器的一种改进,所述出料口设置有两个,两个所述出料口对称设置于所述过滤腔的输出端。
作为本实用新型所述的磁铁过滤器的一种改进,所述过滤腔的输入端设置为漏斗形。
本实用新型的有益效果在于:本实用新型提供一种磁铁过滤器,包括过滤壳体、进料口、出料口、密封装置和磁铁搅拌装置,所述密封装置与所述磁铁搅拌装置转动连接,并且所述密封装置与所述过滤壳体密封连接,所述过滤壳体的内部具有一过滤腔,所述进料口和所述出料口均与所述过滤腔连通,所述磁铁搅拌装置包括固定座和均匀安装于所述固定座的多个磁铁件,多个所述磁铁件均伸入所述过滤腔,每个所述磁铁件均由若干个磁块单元堆叠而成,相邻的两个所述磁块单元之间形成磁力面α,相邻的两个所述磁铁件的所有磁力面α均不在一平面上。相对于现有技术,本实用新型既提高了过滤效率和过滤能力,又避免了物料堵塞过滤腔。
附图说明
图1是本实用新型的立体图。
图2是本实用新型的剖面图。
其中:1-过滤壳体,2-进料口,3-出料口,4-密封装置,5-磁铁搅拌装置,11-过滤腔,41-密封轴承,42-密封圈,43-卡箍,44-密封盖,51-固定座,52-磁铁件,511-电机安装孔,521-磁块单元。
具体实施方式
下面结合具体实施方式和说明书附图,对本实用新型作进一步详细的描述,但本实用新型的实施方式并不限于此。
如图1~2所示,一种磁铁过滤器,包括过滤壳体1、进料口2、出料口3、密封装置4和磁铁搅拌装置5,密封装置4与磁铁搅拌装置5转动连接,并且密封装置4与过滤壳体1密封连接,过滤壳体1的内部具有一过滤腔11,进料口2和出料口3均与过滤腔11连通,磁铁搅拌装置5包括固定座51和均匀安装于固定座51的多个磁铁件52,多个磁铁件52均伸入过滤腔11,每个磁铁件52均由若干个磁块单元521堆叠而成,相邻的两个磁块单元521之间形成磁力面α,相邻的两个磁铁件52的所有磁力面α均不在一平面上。
需要说明的是,磁力面α是由磁块单元521的最大磁场点形成的。优选的,在相邻的两个磁铁件52中,相邻两个磁力面α之间的距离为磁块单元521高度的一半。一般的,为了使相邻两个磁铁件的所有磁力面不在一平面上,可在固定座51上设置深度不同的安装孔或高度不同的凸台,也可通过在磁铁件52靠近固定座51的一端中填充高度不同的填充物来调节各个磁力面α之间的距离。
优选的,固定座51的输入端设置有用于与电机输出端连接的电机安装孔511。固定座51设置为“土”字形结构。
优选的,相邻两个磁铁件52之间的距离为1~10mm。最靠近过滤壳体1的磁铁件52与过滤壳体1之间的距离为1~10mm。相邻两个磁铁件52之间的距离、最靠近过滤壳体1的磁铁件52与过滤壳体1之间的距离都控制在1~10mm的范围内,让物料能在磁铁件52的有效过滤范围内流动,达到提高过滤效率的目的。
优选的,密封装置4包括密封轴承41、密封圈42、卡箍43和密封盖44,密封轴承41套设于固定座51,密封圈42套设于密封轴承41,卡箍43将密封轴承41和密封圈42紧固于固定座51,密封盖44盖设于卡箍43。
优选的,出料口3设置有两个,两个出料口3对称设置于过滤腔11的输出端。过滤腔11的输入端设置为漏斗形。将过滤腔11的输入端和输出端设置为上述结构,根据流体力学的理论,可以保证物料在过滤腔11中平稳的流动,不会有死角而发生沉积。
本实用新型的操作过程是:首先,将固定座51输入端的电机安装孔511安装与电机的输出端连接,将磁铁件52安装于固定座51上;其次,开启电机,电机转动带动固定座51转动,同时安装于固定座51上的磁铁件52也随之转动起来;然后,将物料从进料口2输送到过滤腔11内,在磁铁件52的转动作用下,物料在磁铁件52的附近形成湍流,使物料与磁铁件52充分接触,从而充分过滤掉物料中的磁性颗粒;最后,在过滤腔11中过滤完毕的物料经由两个出料口3流出。
根据上述说明书的揭示和教导,本实用新型所属领域的技术人员还能够对上述实施方式进行变更和修改。因此,本实用新型并不局限于上述的具体实施方式,凡是本领域技术人员在本实用新型的基础上所作出的任何显而易见的改进、替换或变型均属于本实用新型的保护范围。此外,尽管本说明书中使用了一些特定的术语,但这些术语只是为了方便说明,并不对本实用新型构成任何限制。
技术研发人员:杨宏锋,张磊
技术所有人:宁德时代新能源科技股份有限公司
备 注:该技术已申请专利,仅供学习研究,如用于商业用途,请联系技术所有人。
声 明 :此信息收集于网络,如果你是此专利的发明人不想本网站收录此信息请联系我们,我们会在第一时间删除
