一种压滤机的制作方法

本发明涉及一种固液分离机械,尤其是用压力过滤的板框和厢式压滤机械。
背景技术:
现有的板框和厢式压滤机,当过滤完成时,需松开滤板、滤框,卸去滤渣,冲洗滤布,因而机架很长;冲洗过程敞开,作业环境不易保持清洁干燥,用水量大而不利于循环利用;为了减少滤渣的含水率,往往用寿命不长的隔膜滤板采用压缩空气挤压,使隔膜膨胀挤压滤渣。
技术实现要素:
本发明克服了现有技术的上述不足,提供一种既不需拉开滤板就能卸去滤渣和冲洗滤布,而且冲洗是在封闭空间内进行,又不需用隔膜和压缩空气就能挤压滤渣以减少滤渣的含水率的压滤机。
本发明采用如下技术方案:一种压滤机,有机架、盖板、底板、前板、滤板和滤布组成封闭的过滤间室,机架由后板和左右板、栅板组成;后板、盖板、前板和底板均有长槽,滤板能插入长槽中固定,栅板上有长条形凸台和长条形透空槽。
安装时,拆去固定前板和机架的螺丝,挂住前板上的吊环卸下前板,将覆盖了滤布的滤板底部置于栅板的长条形凸台上,插入盖板和后板的长槽,然后将前板用螺丝固定在机架上,位于机架底部的下液压缸将底板压紧在机架上,前、后液压缸推动斜块使扣爪扣紧底板,前、后及下液压缸卸压停止工作。
启动进料泵向滤室进料,将双向出液阀滤液端开启,进行压滤。
当滤液明显减少趋于停滞时,关闭进料泵,启动上液压缸,推动导板沿导柱向下移动,从而由插入盖板的推杆推动挤压卸渣板挤压滤室内的滤渣,最后启动下液压缸和前、后液压缸,松开扣爪,放下底板,上液压缸继续下压,推动挤压卸渣板将滤渣推出滤室。
再压紧底板,扣紧扣爪,将双向出液阀转向洗液端,开启清水阀清洗滤室和滤布。
本发明的有益效果是:减少机身长度,封闭清洗,节水、能循环利用清洗水并优化作业环境,不需隔膜和压缩空气就能达到挤压滤渣的效果。
附图说明
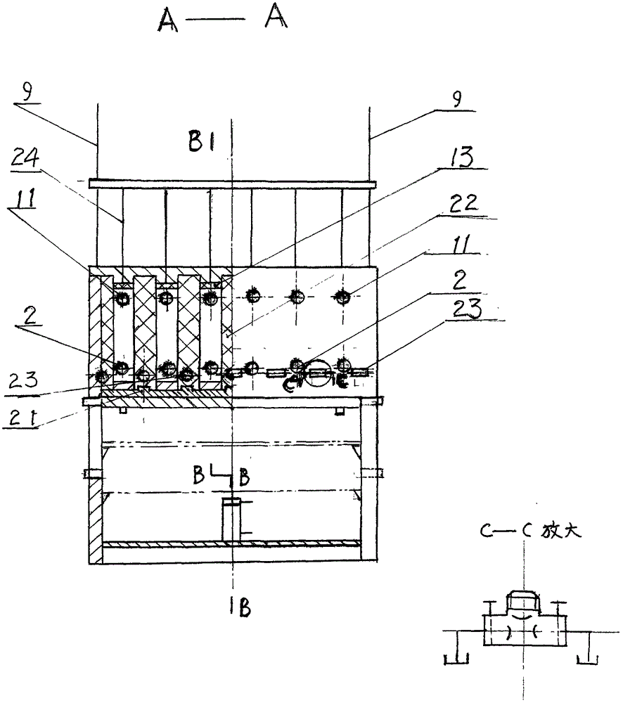
图1是本发明的主视图;
图2是图1的A-A剖视图。
具体实施方式
下面结合附图对本发明作进一步描述:
图1、图2是本发明的一个实施例,首先卸去前板16,把滤板22的底部搁在栅板21的凸台上,推动滤板22使插入盖板3和机架4后板的长槽内,然后将前板16用螺丝固定在机架4上,启动下液压缸18将底板6压紧,同时前后液压缸19、20推动斜块5,斜块5推动轮15使扣爪14扣紧底板6,关停下、前、后液压缸18、19、20,开启进料阀2向滤室进料,同时开启双向出液阀23的滤液端,进行压滤。
压滤末期,停止进料,启动上液压缸1,推动导板10沿导柱9下行,推动推杆24、挤压卸渣板13挤压滤渣。
启动下、前、后液压缸18、19、20,拉簧12使扣爪14松开,下液压缸18拉动底板6沿导轨7的长槽下行,碰到上、下限位块17、8,上液压缸1继续推动导板10和推杆24、挤压卸渣板13,卸去滤渣。反向启动下、前、后液压缸18、19、20,重复压紧和扣紧底板6进程,开启清洗水泵11,将双向出液阀转到洗液端,对滤布和滤室清洗;再继续下一压滤循环。
技术研发人员:张新强
技术所有人:张新强
备 注:该技术已申请专利,仅供学习研究,如用于商业用途,请联系技术所有人。
声 明 :此信息收集于网络,如果你是此专利的发明人不想本网站收录此信息请联系我们,我们会在第一时间删除
