一种黄豆多工艺加工设备的制作方法

本实用新型涉及食品加工机械,尤其涉及一种黄豆多工艺加工设备。
背景技术:
大豆又称黄豆,在人们日常生活中,大豆每天需求量非常高,而大豆在加工时,非常繁琐,而且在采摘后需要清洗,然后在进行下一步工序,一般清洗都是采用人工清洗,耗时耗力,而且清洗的质量无法保证,如果清洗不干净在加工后食用时,会造成健康隐患。
技术实现要素:
本实用新型的目的是提供一种可有效解决上述技术问题的黄豆多工艺加工设备。
为了解决上述技术问题,本实用新型采用如下技术方案:
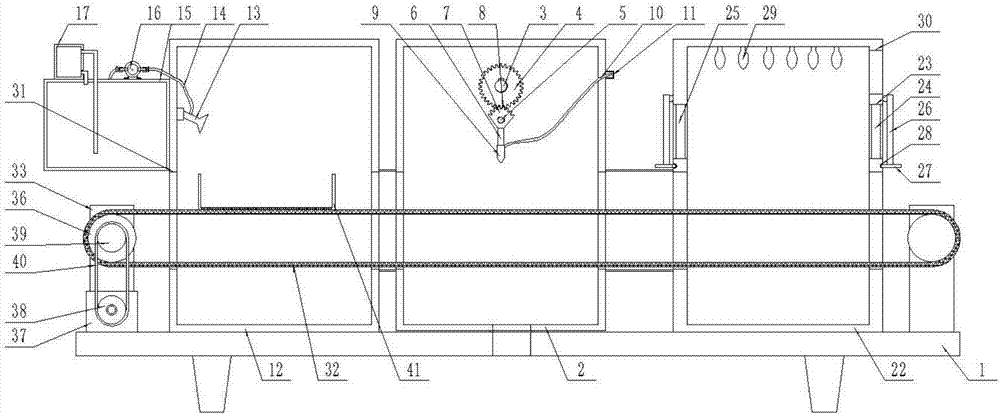
一种黄豆多工艺加工设备,所述设备台上设有清洗机构、风干机构与杀菌机构,所述清洗机构、风干机构与杀菌机构之间通过输送机构连接,所述风干机构由设置在设备台上的风干箱、设置在风干箱内一侧表面旋转端为水平的旋转电机、套装在旋转电机旋转端的主动齿轮、设置在风干箱一侧表面且与旋转电机旋转端相互平行的水平杆、中心位置套装在水平杆一端摆动臂、设置在摆动臂上端面的弧形扇面板、设置在弧形扇面板上端且与主动齿轮相啮合的从动齿轮、设置在摆动臂下端的吹风枪、一端连通在吹风枪另一端伸出风干箱的引风管和设置在引风管伸出风干箱一端的灰尘隔离罩构成。
所述清洗机构由设置在设备台上的清洗箱、设置在清洗箱内侧表面的喷头、一端连通在喷头上的导流管、设置在清洗箱外侧表面且与导流管另一端相连通的水箱、设置在导流管上的抽吸泵、设置在水箱上端的续液箱、沿纵向从上到下依次开在续液箱侧表面的开口A与开口B、一端密封连接在开口A内且另一端插入水箱上表面的L形管A和一端密封连接在开口B内且另一端插入水箱内的L形管B构成。
所述杀菌机构由设置在设备台上的杀菌箱、开在杀菌箱相对两侧表面的风口、分别嵌装在一对风口内的进风机与出风机、分别铰链连接在一对风口顶边且位于杀菌箱外侧表面的挡板、设置在挡板上的手提凸起、开在杀菌箱侧表面与手提凸起位置相匹配的卡槽、设置在杀菌箱内上表面且分布均匀的多个紫外线消毒灯和开在杀菌箱一侧表面的出料口构成。
所述输送机构由开在清洗箱、沥水箱以及杀菌箱左右两侧表面且位置相对应的开口、一部分穿插在多个开口内的输送带、设置设备台上且位于输送带相对两端的一对U字形的框架、开在框架相对内两侧表面的一对圆槽、嵌装在圆槽内的轴承、插装在一对轴承内用于套装输送带的一对转杆、设置在设备台上的驱动电机、套装在驱动电机旋转端的主动皮带轮、套装在其中一个转杆上的从动皮带轮、套装在主动皮带轮与从动皮带轮上的皮带和设置在输送带上的大豆盛放盒构成。
所述弧形扇面板的圆心位于水平杆侧表面的中心位置,所述弧形扇面板两侧边延长形成的夹角角度与旋转电机旋转端的旋转角度相同。
所述灰尘隔离罩呈圆柱体且侧表面与底面均为过滤网,所述灰尘隔离罩的网孔形状为矩形。
采用上述技术方案后,本实用新型具有如下优点:
一种多功能合一的设备,可以实现大豆的清洗、杀菌以及排干的功能。
附图说明
下面结合附图对本实用新型黄豆多工艺加工设备的具体实施方式作进一步说明:
图1为本实用新型黄豆多工艺加工设备的结构示意图;
图2为本实用新型黄豆多工艺加工设备的风干箱左视图;
图3为本实用新型黄豆多工艺加工设备的框架左视放大图;
图4为本实用新型黄豆多工艺加工设备的局部放大图;
图5为本实用新型黄豆多工艺加工设备的续液箱部分放大图;
图6为本实用新型黄豆多工艺加工设备的手提凸起左视放大图;图中,1、设备台;2、风干箱;3、旋转电机;4、主动齿轮;5、水平杆;6、摆动臂;7、弧形扇面板;8、从动齿轮;9、吹风枪;10、引风管;11、灰尘隔离罩;12、清洗箱;13、喷头;14、导流管;15、水箱;16、抽吸泵;17、续液箱;18、开口A;19、开口B;20、L形管A;21、L形管B;22、杀菌箱;23、风口;24、进风机;25、出风机;26、挡板;27、手提凸起;28、卡槽;29、紫外线消毒灯;30、出料口;31、开口;32、输送带;33、框架;34、圆槽;35、轴承;36、转杆;37、驱动电机;38、主动皮带轮;39、从动皮带轮;40、皮带;41、大豆盛放盒。
具体实施方式
下面结合附图对本实用新型进行具体描述,如图1-6所示,一种黄豆多工艺加工设备,包括设备台(1),所述设备台(1)上设有清洗机构、风干机构与杀菌机构,所述清洗机构、风干机构与杀菌机构之间通过输送机构连接,所述风干机构由设置在设备台(1)上的风干箱(2)、设置在风干箱(2)内一侧表面旋转端为水平的旋转电机(3)、套装在旋转电机(3)旋转端的主动齿轮(4)、设置在风干箱(2)一侧表面且与旋转电机(3)旋转端相互平行的水平杆(5)、中心位置套装在水平杆(5)一端摆动臂(6)、设置在摆动臂(6)上端面的弧形扇面板(7)、设置在弧形扇面板(7)上端且与主动齿轮(4)相啮合的从动齿轮(8)、设置在摆动臂(6)下端的吹风枪(9)、一端连通在吹风枪(9)另一端伸出风干箱(2)的引风管(10)和设置在引风管(10)伸出风干箱(2)一端的灰尘隔离罩(11)构成;所述清洗机构由设置在设备台(1)上的清洗箱(12)、设置在清洗箱(12)内侧表面的喷头(13)、一端连通在喷头(13)上的导流管(14)、设置在清洗箱(12)外侧表面且与导流管(14)另一端相连通的水箱(15)、设置在导流管(14)上的抽吸泵(16)、设置在水箱(15)上端的续液箱(17)、沿纵向从上到下依次开在续液箱(17)侧表面的开口A(18)与开口B(19)、一端密封连接在开口A(18)内且另一端插入水箱(15)上表面的L形管A(20)和一端密封连接在开口B(19)内且另一端插入水箱(15)内的L形管B(21)构成;所述杀菌机构由设置在设备台(1)上的杀菌箱(22)、开在杀菌箱(22)相对两侧表面的风口(23)、分别嵌装在一对风口(23)内的进风机(24)与出风机(25)、分别铰链连接在一对风口(23)顶边且位于杀菌箱(22)外侧表面的挡板(26)、设置在挡板(26)上的手提凸起(27)、开在杀菌箱(22)侧表面与手提凸起(27)位置相匹配的卡槽(28)、设置在杀菌箱(22)内上表面且分布均匀的多个紫外线消毒灯(29)和开在杀菌箱(22)一侧表面的出料口(30)构成;所述输送机构由开在清洗箱(12)、沥水箱(15)以及杀菌箱(22)左右两侧表面且位置相对应的开口(31)、一部分穿插在多个开口(31)内的输送带(32)、设置设备台(1)上且位于输送带(32)相对两端的一对U字形的框架(33)、开在框架(33)相对内两侧表面的一对圆槽(34)、嵌装在圆槽(34)内的轴承(35)、插装在一对轴承(35)内用于套装输送带(32)的一对转杆(36)、设置在设备台(1)上的驱动电机(37)、套装在驱动电机(37)旋转端的主动皮带轮(38)、套装在其中一个转杆(36)上的从动皮带轮(39)、套装在主动皮带轮(38)与从动皮带轮(39)上的皮带(40)和设置在输送带(32)上的大豆盛放盒(41)构成;所述弧形扇面板(7)的圆心位于水平杆(5)侧表面的中心位置,所述弧形扇面板(7)两侧边延长形成的夹角角度与旋转电机(3)旋转端的旋转角度相同;所述灰尘隔离罩(11)呈圆柱体且侧表面与底面均为过滤网,所述灰尘隔离罩(11)的网孔形状为矩形。
本实施方案的特点为,设备台上设有清洗机构、风干机构与杀菌机构,清洗机构、风干机构与杀菌机构之间通过输送机构连接,风干机构由设置在设备台上的风干箱、设置在风干箱内一侧表面旋转端为水平的旋转电机、套装在旋转电机旋转端的主动齿轮、设置在风干箱一侧表面且与旋转电机旋转端相互平行的水平杆、中心位置套装在水平杆一端摆动臂、设置在摆动臂上端面的弧形扇面板、设置在弧形扇面板上端且与主动齿轮相啮合的从动齿轮、设置在摆动臂下端的吹风枪、一端连通在吹风枪另一端伸出风干箱的引风管和设置在引风管伸出风干箱一端的灰尘隔离罩构成,一种多功能合一的设备,可以实现大豆的清洗、杀菌以及排干的功能。
在本实施方案中,控制器的输出端1与驱动电机的输入端相连,控制器的输出端2与抽吸泵的输入端相连,控制器的输出端3与紫外线消毒灯的输入端相连,控制器的输出端4与旋转电机的输入端相连,控制器的输出端5与进风机的输入端相连,控制器的输出端6与出风机的输入端相连,控制器的输出端7与吹风枪的输入端相连,控制器控制驱动电机、紫外线消毒灯、旋转电机、进风机、出风机、吹风枪和抽吸泵工作,首先将大豆放到开有多个渗水网孔的大豆盛放盒内,然后驱动电机正常工作,驱动电机的旋转端旋转,带动主动皮带轮转动,主动皮带轮通过皮带的传动使从动皮带轮转动,带动同轴的插装于圆槽内的轴承中的转杆转动,使得输送带工作,先将大豆盛放盒从开口处输送到清洗箱内,水箱内的水在抽吸泵的作业下经由导流管从喷头处喷出,对大豆进行清洗作业,然后驱动电机继续工作,将大豆盛放盒从清洗箱中输送到风干箱内,旋转电机正常工作,旋转电机的旋转端旋转带动主动齿轮转动,使得相其啮合的从动齿轮及其弧形扇面板来回转动,从而使得通过摆动臂连接的吹风枪转动,风干箱外的风通过引风管经吹风枪对黄豆进行风干作业,在引风管伸出风干箱一端设有灰尘隔离罩,防止灰尘进入吹风机,之后驱动电机继续工作,将大豆盛放盒从沥水箱中输送到杀菌箱内,紫外线消毒灯对大豆进行消毒作业,然后手持手提凸起,使得一对风口内的进风机与出风机正常工作,对大豆进行吹风风干作业,然后将手提凸起卡进卡槽内进行固定,输送带再将大豆从开口处输送出,其中输送带为矩形网孔板且网孔形状为菱形,方便沥水作业的进行,此设备简单,实用性强。
在本实施方案中,水箱上设有自动续液机构,当水箱内的液体高度变低时,续液箱通过密封于开口A内的L形管A向水箱内加入液体,当续液箱内的液体设定高度相对于水箱的高度偏低时,水箱体通过密封于开口B内的L形管B向续液箱内加入液体,从而实现自动续液的作业,简单方便,自动化强。
以上所述,仅为本实用新型的具体实施方式,但本实用新型的保护范围并不局限于此,任何熟悉本技术领域的人员在本实用新型揭露的技术范围内,可轻易想到变化或替换,都应涵盖在本实用新型的保护范围之内。因此,本实用新型的保护范围应以所述权利要求的保护范围为准。
技术研发人员:周勇
技术所有人:天津佳瑞兴科技发展有限公司
备 注:该技术已申请专利,仅供学习研究,如用于商业用途,请联系技术所有人。
声 明 :此信息收集于网络,如果你是此专利的发明人不想本网站收录此信息请联系我们,我们会在第一时间删除
