一种火龙果皮分离器及破碎设备

本发明涉及火龙果加工设备,具体而言,涉及一种火龙果皮分离器及破碎设备。
背景技术:
1、火龙果为热带、亚热带水果。火龙果皮具有很多的营养成分和功效:火龙果皮含有一般植物少有的植物性白蛋白及花青素、丰富的维生素和水溶性膳食纤维。白蛋白是具黏性、胶质性的物质,对重金属中毒具有解毒的功效。食用含白蛋白丰富的火龙果皮,可避免重金属离子的吸收而中毒。白蛋白对胃壁还有保护作用。而且火龙果花、果、茎中的白蛋白十分优良,稳定性极佳。火龙果皮富含美白皮肤的维生素c及丰富的具有减肥、降低血糖、润肠、预防大肠癌的水溶性膳食纤维。火龙果皮中的含铁量比一般的水果要高,铁是制造血红蛋白及其它铁质物质不可缺少的元素,摄入适量的铁质还可以预防贫血;
2、现在的人们为了利用剩余资源将火龙果皮与果肉分离经过粉碎制作成不同畜牧用的饲料,实现了对资源的再次利用,在制作饲料的时候由于是畜牧食用粉碎的时候不能粉碎的太碎,不然不便于后期的发酵,且现在的粉碎设备不与果皮分离装置整体设置,同时分离和破碎的时候也不便于将果汁、果肉和果皮的分类收集。
3、因此我们对此做出改进,提出一种火龙果皮分离器及破碎设备。
技术实现思路
1、本发明的目的在于:现在的粉碎设备不与果皮分离装置整体设置,同时分离和破碎的时候也不便于将果汁、果肉和果皮的分类收集的问题。
2、为了实现上述发明目的,本发明提供了以下技术方案:
3、火龙果皮分离器及破碎设备,以改善上述问题。
4、本技术具体是这样的:
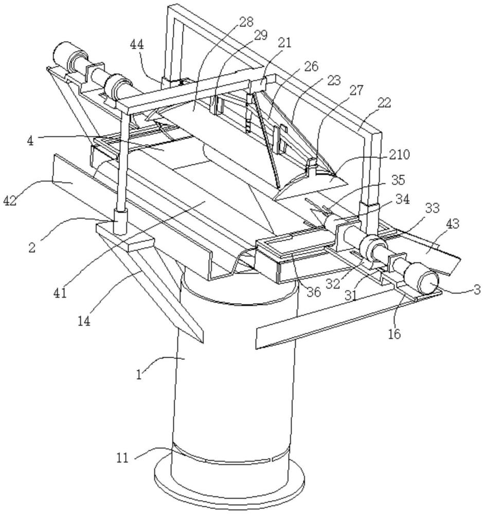
5、包括固定板一、支撑板,所述固定板一的内部对称转动连接有放置轮,所述固定板一的两侧安装有侧通板,所述侧通板的一端安装有下落导板,所述下落导板的一侧面安装有顶槽板,所述固定板一的后侧安装有出料板,所述出料板与支撑板固定安装,位于所述固定板一后侧支撑板的顶部固定安装有气缸一,所述气缸一的输出端安装有限制板,所述安装箱在顶槽板的内部滑动设置,所述限制板的底部安装有安装箱,所述安装箱的内部安装有切割件,所述切割件的底部安装有剥皮件,所述侧通板的侧表面安装有侧固板一,所述侧固板一的顶侧安装有气缸二,所述气缸二的输出端安装有转动件,所述顶槽板靠近侧固板一的一侧安装有气缸三,所述气缸三输出端与侧固板一连接,所述侧固板一靠近出料板一侧面通过转动轴与侧通板、支撑板转动连接。
6、通过转动件将剥皮的果肉放置到一侧收集起来,通过连接件和搅拌件进行粉碎,将液体收集到存液室内,再通过排液管口、开关阀输出,通过密封件可以将果皮进行收集,从而实现分类收集处理。
7、作为本发明提供的所述的火龙果皮分离器的一种优选实施方式,所述剥皮件包括有引导板、外压罩板,所述外压罩板的底侧安装有内剥皮刀,所述外压罩板的四角安装有侧固板二,所述侧固板二与安装箱固定安装,所述内剥皮刀为弧形状。
8、作为本发明提供的所述的火龙果皮分离器的一种优选实施方式,所述切割件包括有电机一、中撑板,所述电机一的输出端安装有螺杆,所述螺杆的外表面螺纹连接有外螺筒,所述外螺筒的外表面通过连接轴转动连接有连接板,所述中撑板与外压罩板固定安装,连接板位于中撑板的内部通过连接轴与中撑板的内部转动连接,所述连接板的一端安装有切刀,所述切刀在引导板的内部滑动设置。
9、作为本发明提供的所述的火龙果皮分离器的一种优选实施方式,所述转动件包括有电机二,所述电机二的底侧安装有安装底座,所述侧固板一的底表面开设有滑槽,所述电机二的输出端安装有插接头,所述插接头的表面安装有弹簧一,所述弹簧一的顶端安装有插接杆,所述插接杆与插接头转动连接设置。
10、作为本发明提供的所述的火龙果皮破碎设备的一种优选实施方式,还包括有支撑外筒、连接通道,所述连接通道位于固定板一底部与所述固定板一固定安装,所述固定板一、侧通板上下面中空设置,所述支撑板与支撑外筒固定安装,所述支撑外筒的上下侧开设有下环槽,所述下环槽的内部转动连接有内筒,所述支撑外筒、内筒之间形成有存液室,所述存液室的内底部安装有排液管口,所述排液管口的表面安装有开关阀,所述支撑外筒内部底侧安装有防护筒,所述防护筒的内部安装有电机三,所述电机三的输出端设有连接件,所述内筒的内顶侧连接有搅拌件,所述连接件的表面安装有带转件,所述带转件的顶表面连接有密封件。
11、作为本发明提供的所述的火龙果皮破碎设备的一种优选实施方式,所述连接通道的内底壁面开设有上环槽,所述上环槽内部呈圆周阵列转动连接有三个所述上转板,所述上转板的底侧固定安装有转动杆,所述内筒的内壁随螺纹状阵列安装有若干个所述内粉碎刀,所述内筒内底壁开设有与存液室联通的所述透液孔,所述支撑外筒内部位于出料槽口的底侧安装有隔离盘,所述隔离盘上表面开设有与内转环底侧转动的转动环槽。
12、作为本发明提供的所述的火龙果皮破碎设备的一种优选实施方式,所述连接件包括有调高轴,所述调高轴的表面开设有螺纹槽,调高轴的内部设有升降杆,所述升降杆的底外面安装有滑杆,滑杆在螺纹槽的内部滑动设置,所述升降杆的顶侧安装有十字固定板,所述转动杆的底侧开设有十字定位槽,十字固定板与十字定位槽插接设置。
13、作为本发明提供的所述的火龙果皮破碎设备的一种优选实施方式,所述带转件包括有齿轮,所述隔离盘的表面通过中轴杆圆周阵列转动连接有三个所述中齿轮,所述中齿轮与齿轮啮合连接,所述内筒的底表面安装有内转环,所述内转环的内侧开设有内齿槽,所述内齿槽与中齿轮啮合连接,所述内转环底侧的外表面转动连接有引料板。
14、作为本发明提供的所述的火龙果皮破碎设备的一种优选实施方式,所述密封件包括有外闭环板,所述外闭环板的内部安装有弹簧二,所述弹簧二的一端安装有内闭环板,所述外闭环板与转动杆的内部转动设置。
15、作为本发明提供的所述的火龙果皮破碎设备的一种优选实施方式,所述搅拌件包括有放置槽,所述放置槽开设在转动杆的表面,所述放置槽的上下面转动连接有上活搅板、下活搅板,所述下活搅板的上表面开设有限制槽,所述下活搅板与限制槽滑动连接。
16、与现有技术相比,本发明的有益效果:
17、1、放置在固定板一内部放置轮上的火龙果先通过气缸二推动转动件插入到两侧的果肉内,在调节切割件使其下降切刀切割掉火龙果两侧,通过气缸二收缩,在侧固板一的作用下,带转件表面被切割掉的火龙果角料落入侧通板内,侧通板内底壁面倾斜设置进入到下落导板上滑出进行分置收集到箱子内。
18、2、剥皮时,气缸二带动转动件伸入到火龙果两侧的内部,再通过气缸一下降,之后外压罩板挤压火龙果,内剥皮刀伸入到火龙果内,内剥皮刀为弧形设置,带转件带动火龙果转动对其进行剥皮,完成后,气缸一上升,果皮通过连接通道进入到内筒内,果肉通过气缸三伸缩推动侧固板一由于侧固板一通过转动轴与支撑板、侧通板表面转动设置,可以使其向靠近出料板的一侧转动,在通过气缸二收缩带转件,在侧固板一的作用下将果肉放入到出料板内进行放置收集到箱子内。
19、3、果皮进入到内筒内部后,启动防护筒内部的电机三,电机三带动调高轴转动,升降杆底部安装的滑杆在调高轴外表面开设的螺纹槽内部滑动,从而带动升降杆上升,使顶侧的十字固定板与转动杆底部的十字定位槽插接,这时滑杆位于螺纹槽的顶侧,电机三会带动升降杆转动,从而带动转动杆转动,转动杆的顶部通过上转板在上环槽内部转动。
20、4、转动杆转动,转动杆内部转动连接的上活搅板、下活搅板在离心力的作用下使上活搅板在限制槽内部滑动张开,从而对内部的果皮进行搅拌,转动杆不转动的时候,上活搅板、下活搅板在重力的作用下回到放置槽内部,搅拌的时候通过内粉碎刀与上活搅板、下活搅板进行搅拌破碎,破碎下来的液体经过透液孔进入到存液室,通过排液管口、开关阀排出。
21、5、升降杆上升带动活动支板撑开内闭环板,外闭环板在内闭环板内部弹簧的作用下伸出,与内筒的内壁接触密封,内闭环板与内筒的内壁贴合将果皮留在内筒内部,升降杆下降将外闭环板、内闭环板收缩,果皮下落通过内转环之间的空隙到隔离盘上引料板的表面,将果皮通过出料槽口输出使其收集起来。
技术研发人员:姚娜,庞天德,丘金花,邓素媛,陆晶山,文信旺,贾银海,韦巧燕,赖大伟,黄一龙,韦锦益
技术所有人:广西农业职业技术大学
备 注:该技术已申请专利,仅供学习研究,如用于商业用途,请联系技术所有人。
声 明 :此信息收集于网络,如果你是此专利的发明人不想本网站收录此信息请联系我们,我们会在第一时间删除
