一种防粘黏面包搅拌装置

本发明涉及面包加工,尤其涉及一种防粘黏面包搅拌装置。
背景技术:
1、面包也写作麺包,一种用五谷(一般是麦类)磨粉制作并加热而制成的食品,以小麦粉为主要原料,以酵母、鸡蛋、油脂、糖、盐等为辅料,加水调制成面团,经过分割、成形、醒发、焙烤、冷却等过程加工而成的焙烤食品,面包又被称为人造果实,品种繁多,各具风味,面包是高热量碳水化合物食品,多吃容易肥胖,温度高时较为松软好吃,低温的状态下会变硬,风味口感都会差很多,面包的加工前需要将面粉等多种配料进行混合搅拌。
2、存在以下问题:但目前对面粉配料搅拌时,会导致有些配料粘连在搅拌桶的内壁上,导致混合的效果差,并且不能对搅拌时的温度进行控制,容易影响面包生产的口感。
3、有鉴于此,针对现有的问题予以研究改良,提供一种防粘黏面包搅拌装置,通过设置加热箱结构,加热棒结构,温度传感器,加压泵结构,加热水管,控制屏,有利于对水进行加热,并通过加热水管使其流动,从而对搅拌罐进行热传导,来控制搅拌罐内部的面包配料在搅拌时的温度,从而使其搅拌的效果好,增加面包生产的口感,而且还可以对水的温度进行调整,旨在通过该技术,达到解决问题与提高实用价值性的目的。
技术实现思路
1、本发明的目的是为了解决现有技术中存在的缺点,而提出的一种防粘黏面包搅拌装置。
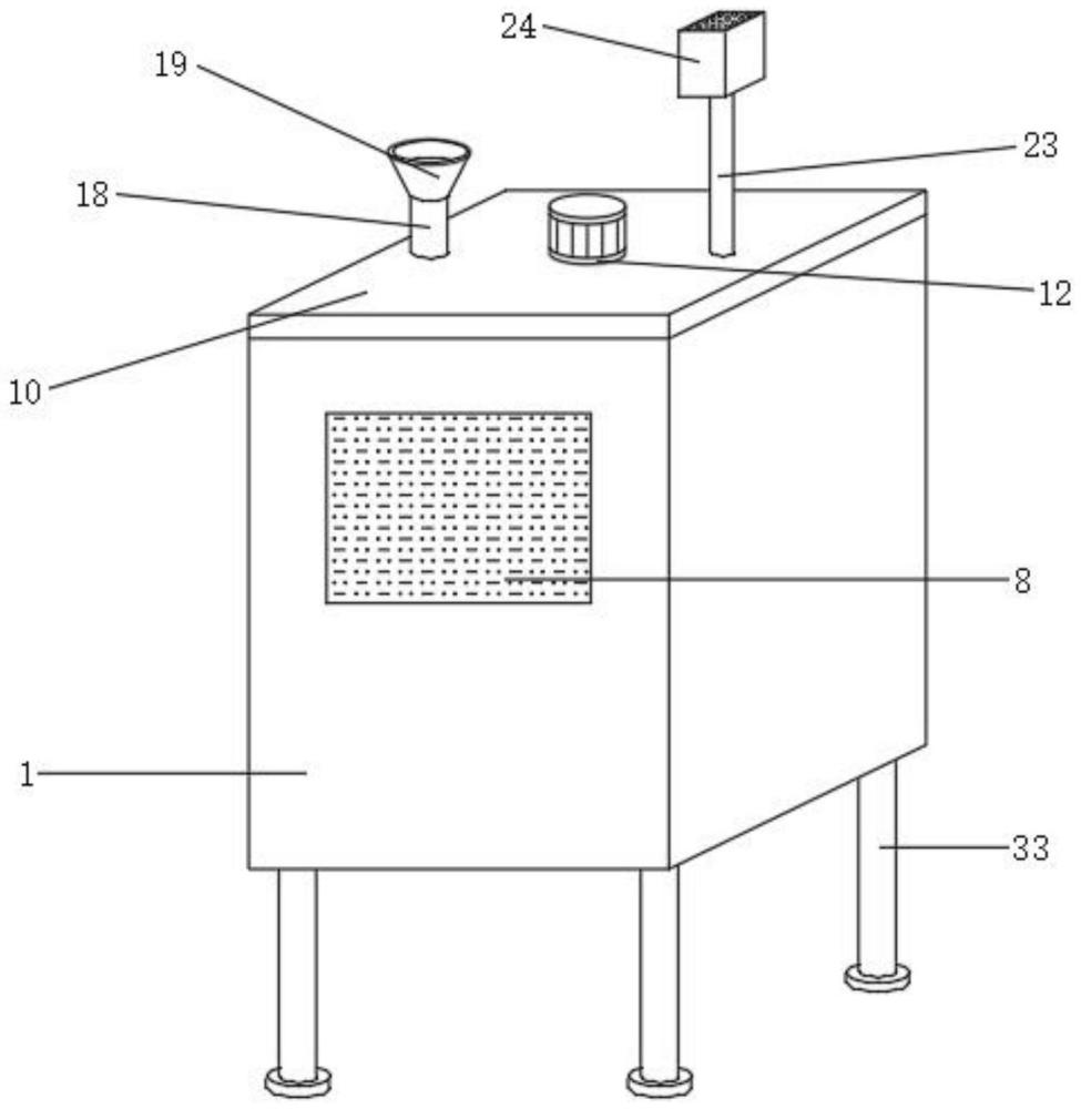
2、为了实现上述目的,本发明采用了如下技术方案:一种防粘黏面包搅拌装置,包括搅拌主体,所述搅拌主体的内部固定连接有搅拌罐,所述搅拌主体靠近搅拌罐一侧的内部固定连接有加热箱结构,所述加热箱结构的上端固定连接有加热棒结构,所述加热箱结构的正面固定连接有温度传感器,所述加热箱结构靠近温度传感器下端的正面固定连接有加压泵结构,所述加压泵结构的一端固定连接有加热水管,所述搅拌主体的正面固定连接控制屏,所述搅拌主体靠近搅拌罐正面的内部固定连接有电动伸缩杆,所述电动伸缩杆的上端固定连接有密封盖板,所述密封盖板的下端固定连接有密封块,所述密封盖板的上端固定连接有搅拌电机,所述搅拌电机的下端连接有搅拌轴,所述搅拌轴的下端固定连接有下刮刀结构,所述搅拌轴的外壁固定连接有搅拌杆,所述搅拌轴靠近搅拌杆下端的外壁固定连接有连接杆,所述连接杆的一端固定连接有侧刮刀结构,所述密封盖板远离搅拌电机一侧的上端固定连接有进料管,所述进料管的上端固定连接有进料斗,所述进料斗的内壁插接有过滤框架,所述过滤框架的内部固定连接有第一过滤棉,所述进料斗靠近过滤框架上端的内壁插接有过滤网板,所述密封盖板远离搅拌电机另一侧的上端固定连接有排气管,所述排气管的上端固定连接有净化箱结构,所述净化箱结构的内部固定连接有负压风机组件,所述净化箱结构的背面插接有第一净化框架,所述第一净化框架的内壁固定连接有第一净化层,所述第一净化框架的背面固定连接有第一固定把手,所述净化箱结构靠近第一净化框架上端的背面插接有第二净化框架,所述第二净化框架的内壁固定连接有第二过滤棉,所述净化箱结构靠近第二净化框架上端的背面插接有第三净化框架,所述第三净化框架的内壁固定连接有第三净化层,所述搅拌主体的下端固定连接有支撑腿。
3、作为上述技术方案的进一步描述:
4、所述加热水管的外壁固定连接搅拌罐,所述加热水管的一端固定连接加热箱结构,可以对搅拌罐进行加热保温,从而控制面包配料搅拌时的温度。
5、作为上述技术方案的进一步描述:
6、所述加热棒结构的数量为若干组,对加热箱结构内部水加热的效果好,所述电动伸缩杆的数量为两组,使密封盖板移动的稳定性好,所述搅拌杆的数量为若干组,对面包配料搅拌的效果好。
7、作为上述技术方案的进一步描述:
8、所述密封块的外壁插接搅拌罐,所述密封盖板远离密封块的下端插接搅拌主体,对搅拌罐搅拌时密封的效果好。
9、作为上述技术方案的进一步描述:
10、所述过滤网板的内壁固定连接有过滤网,可以防止杂物掉落到搅拌罐的内部,所述净化箱结构的上端卡接有出气滤板,可以加快搅拌罐内部的空气流动。
11、作为上述技术方案的进一步描述:
12、所述下刮刀结构的形状为三角形,所述侧刮刀结构的形状为三角形,对搅拌罐内壁粘连的配料刮除的效果好,从而使其混合的更均匀。
13、作为上述技术方案的进一步描述:
14、所述第一净化层的内部设置有活性炭,所述第三净化层的内部设置有覆膜滤料,对配料搅拌时产生的粉尘气体进行过滤。
15、作为上述技术方案的进一步描述:
16、所述第二净化框架的背面固定连接有第二固定把手,所述第三净化框架的背面固定连接有第三固定把手,所述第一固定把手的背面开设有把手槽,方便将不同的部件进行安装拆卸,便于清理。
17、作为上述技术方案的进一步描述:
18、所述支撑腿通过焊接的方式与搅拌主体连接,所述搅拌罐通过焊接的方式与搅拌主体连接,所述加热箱结构通过焊接的方式与搅拌主体连接,使其连接的更牢固,增加整体结构的稳定性。
19、本发明具有如下有益效果:
20、1、通过设置加热箱结构,加热棒结构,温度传感器,加压泵结构,加热水管,控制屏,有利于对水进行加热,并通过加热水管使其流动,从而对搅拌罐进行热传导,来控制搅拌罐内部的面包配料在搅拌时的温度,从而使其搅拌的效果好,增加面包生产的口感,而且还可以对水的温度进行调整。
21、2、通过设置搅拌电机,搅拌轴,下刮刀结构,搅拌杆,连接杆,侧刮刀结构,有利于在对面包配料搅拌时,对搅拌罐内壁上粘连的配料进行刮除,从而使不同的配料混合的效果好,更均匀;通过设置进料斗,过滤框架,第一过滤棉,过滤网板,有利于对杂物进行阻拦,防止掉落到搅拌罐内部造成污染。
22、3、通过设置排气管,净化箱结构,负压风机组件,第一净化框架,第一净化层,第二净化框架,第二过滤棉,第三净化框架,第三净化层,有利于对面包配料搅拌时,将产生的粉尘气体进行吸附过滤,从而防止粉尘气体飘散对生产环境造成污染。
技术特征:
1.一种防粘黏面包搅拌装置,包括搅拌主体(1),其特征在于:所述搅拌主体(1)的内部固定连接有搅拌罐(2),所述搅拌主体(1)靠近搅拌罐(2)一侧的内部固定连接有加热箱结构(3),所述加热箱结构(3)的上端固定连接有加热棒结构(4),所述加热箱结构(3)的正面固定连接有温度传感器(5),所述加热箱结构(3)靠近温度传感器(5)下端的正面固定连接有加压泵结构(6),所述加压泵结构(6)的一端固定连接有加热水管(7),所述搅拌主体(1)的正面固定连接控制屏(8),所述搅拌主体(1)靠近搅拌罐(2)正面的内部固定连接有电动伸缩杆(9),所述电动伸缩杆(9)的上端固定连接有密封盖板(10),所述密封盖板(10)的下端固定连接有密封块(11),所述密封盖板(10)的上端固定连接有搅拌电机(12),所述搅拌电机(12)的下端连接有搅拌轴(13),所述搅拌轴(13)的下端固定连接有下刮刀结构(14),所述搅拌轴(13)的外壁固定连接有搅拌杆(15),所述搅拌轴(13)靠近搅拌杆(15)下端的外壁固定连接有连接杆(16),所述连接杆(16)的一端固定连接有侧刮刀结构(17),所述密封盖板(10)远离搅拌电机(12)一侧的上端固定连接有进料管(18),所述进料管(18)的上端固定连接有进料斗(19),所述进料斗(19)的内壁插接有过滤框架(20),所述过滤框架(20)的内部固定连接有第一过滤棉(21),所述进料斗(19)靠近过滤框架(20)上端的内壁插接有过滤网板(22),所述密封盖板(10)远离搅拌电机(12)另一侧的上端固定连接有排气管(23),所述排气管(23)的上端固定连接有净化箱结构(24),所述净化箱结构(24)的内部固定连接有负压风机组件(25),所述净化箱结构(24)的背面插接有第一净化框架(26),所述第一净化框架(26)的内壁固定连接有第一净化层(27),所述第一净化框架(26)的背面固定连接有第一固定把手(28),所述净化箱结构(24)靠近第一净化框架(26)上端的背面插接有第二净化框架(29),所述第二净化框架(29)的内壁固定连接有第二过滤棉(30),所述净化箱结构(24)靠近第二净化框架(29)上端的背面插接有第三净化框架(31),所述第三净化框架(31)的内壁固定连接有第三净化层(32),所述搅拌主体(1)的下端固定连接有支撑腿(33)。
2.根据权利要求1所述的一种防粘黏面包搅拌装置,其特征在于:所述加热水管(7)的外壁固定连接搅拌罐(2),所述加热水管(7)的一端固定连接加热箱结构(3)。
3.根据权利要求1所述的一种防粘黏面包搅拌装置,其特征在于:所述加热棒结构(4)的数量为若干组,所述电动伸缩杆(9)的数量为两组,所述搅拌杆(15)的数量为若干组。
4.根据权利要求1所述的一种防粘黏面包搅拌装置,其特征在于:所述密封块(11)的外壁插接搅拌罐(2),所述密封盖板(10)远离密封块(11)的下端插接搅拌主体(1)。
5.根据权利要求1所述的一种防粘黏面包搅拌装置,其特征在于:所述过滤网板(22)的内壁固定连接有过滤网,所述净化箱结构(24)的上端卡接有出气滤板。
6.根据权利要求1所述的一种防粘黏面包搅拌装置,其特征在于:所述下刮刀结构(14)的形状为三角形,所述侧刮刀结构(17)的形状为三角形。
7.根据权利要求1所述的一种防粘黏面包搅拌装置,其特征在于:所述第一净化层(27)的内部设置有活性炭,所述第三净化层(32)的内部设置有覆膜滤料。
8.根据权利要求1所述的一种防粘黏面包搅拌装置,其特征在于:所述第二净化框架(29)的背面固定连接有第二固定把手,所述第三净化框架(31)的背面固定连接有第三固定把手,所述第一固定把手(28)的背面开设有把手槽。
9.根据权利要求1所述的一种防粘黏面包搅拌装置,其特征在于:所述支撑腿(33)通过焊接的方式与搅拌主体(1)连接,所述搅拌罐(2)通过焊接的方式与搅拌主体(1)连接,所述加热箱结构(3)通过焊接的方式与搅拌主体(1)连接。
技术总结
本发明涉及面包加工技术领域,尤其涉及一种防粘黏面包搅拌装置,包括搅拌主体,搅拌主体的内部固定连接有搅拌罐,搅拌主体靠近搅拌罐一侧的内部固定连接有加热箱结构,加热箱结构的上端固定连接有加热棒结构,加热箱结构的正面固定连接有温度传感器,本发明提供一种防粘黏面包搅拌装置,通过设置加热箱结构,加热棒结构,温度传感器,加压泵结构,加热水管,控制屏,有利于对水进行加热,并通过加热水管使其流动,从而对搅拌罐进行热传导,来控制搅拌罐内部的面包配料在搅拌时的温度,从而使其搅拌的效果好,增加面包生产的口感,而且还可以对水的温度进行调整,旨在通过该技术,达到解决问题与提高实用价值性的目的。
技术研发人员:陈国刚,李江涛,罗鹏,邢斌德,吴燕,刘艳
受保护的技术使用者:石河子大学
技术研发日:
技术公布日:2024/8/21
技术研发人员:陈国刚,李江涛,罗鹏,邢斌德,吴燕,刘艳
技术所有人:石河子大学
备 注:该技术已申请专利,仅供学习研究,如用于商业用途,请联系技术所有人。
声 明 :此信息收集于网络,如果你是此专利的发明人不想本网站收录此信息请联系我们,我们会在第一时间删除
