一种稳定结构的茶叶摇青机的制作方法

本技术涉及茶叶加工,具体为一种稳定结构的茶叶摇青机。
背景技术:
1、摇青是茶叶制作工序中的一道工序,即摇青工序,通过对摇青的机械运动力和机械摩擦力进行不同组合试验,以探明摇青不同机械力对青叶理化变化及茶品质的影响,结果表明:机械运动力增强叶梢组织的输导机能,协调茶汤呈味物质,具有内在效应;机械摩擦力造成叶细胞损伤,使茶多酚酶促氧化,诱发香气,具有外在效应;运动力与摩擦力二者应协调配合,才能形成茶所特有的香高味醇品质,现如今随着技术的发展,茶叶的加工步骤已经可以通过各种机械设备来实现,茶叶摇青机作为茶叶摇青设备的一种,大大提高了茶叶摇青的效率。
2、根据公示的一种均匀震荡的茶叶摇青机(公开号:cn215958130u),上述申请中在对滚筒进行清洁时,通过清洁刷对滚筒的表面进行清理,但是在实际使用时,滚筒的内部也会残留渣滓,该申请不能对滚筒的内部进行清理,使用具有局限性。
技术实现思路
1、本实用新型的目的在于提供一种稳定结构的茶叶摇青机,以解决上述背景技术中提出的问题。
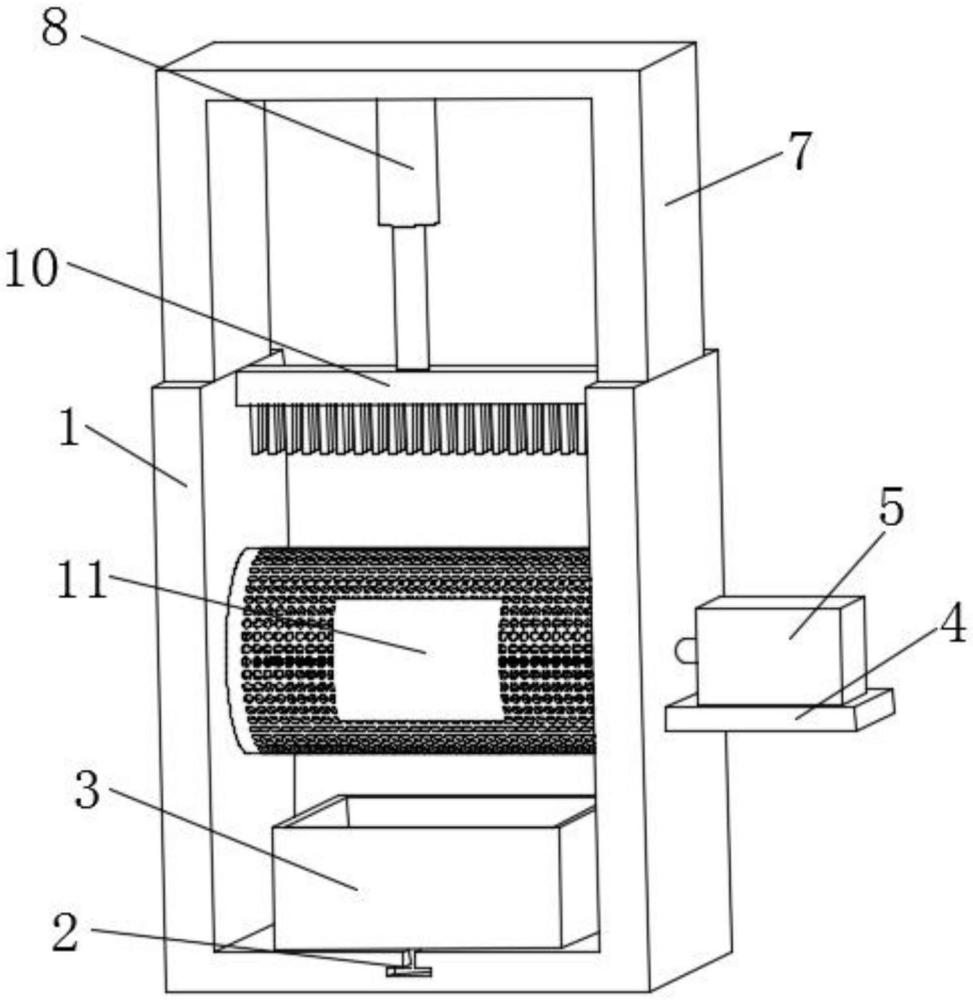
2、为实现上述目的,本实用新型提供如下技术方案:一种稳定结构的茶叶摇青机,包括固定座,所述固定座的表面固定有固定板,所述固定板的顶部固定有电机,所述电机的输出轴贯穿固定座,所述电机的输出轴左端开设有凹槽,所述固定座的内壁转动连接有滚筒,所述电机的输出轴与滚筒固定连接,所述滚筒的内部以及固定座的表面设置有清理组件,所述清理组件包括:
3、转杆,所述转杆贯穿固定座的左侧,所述转杆的右端与电机的输出轴凹槽内壁转动连接,所述固定座的左侧被贯穿有传动杆,所述传动杆与固定座转动连接,所述传动杆的右端被转杆、电机的输出轴贯穿,所述传动杆的右端贯穿滚筒,且转动连接在固定座的右侧内壁上,所述传动杆与滚筒转动连接,所述传动杆的表面固定有连动板,所述连动板远离传动杆的一侧开设有滑槽,所述连动板的滑槽内壁滑动连接有滑板,所述滑板靠近传动杆的一侧固定有弹簧,所述弹簧远离滑板的一端固定在连动板的滑槽内壁上,所述清理组件还包括主动件。
4、优选的,所述主动件包括稳定板,所述稳定板固定在转杆的表面,所述传动杆的内壁铰接有抵板,所述抵板的表面固定有扭簧,所述扭簧远离抵板的一端固定在传动杆的内壁上,所述固定座的左侧表面固定有固定筒,所述固定筒的内壁固定有涡卷弹簧,所述涡卷弹簧远离固定筒的一端固定在传动杆的表面,电机反转,带动转杆、稳定板转动,稳定板抵触抵板,传动杆转动,在离心力的作用下,滑板向外滑动,固定在滑板表面的清洁毛刷与滚筒的内壁抵触,同时在传动杆转动时,会拉伸涡卷弹簧,当涡卷弹簧拉伸到不能那个继续拉伸时,抵板翻转,稳定板不能继续抵触抵板,涡卷弹簧释放,带动传动杆翻转,进而带动连动板、滑板翻转。
5、优选的,所述固定座的内壁底部开设有t型槽,所述固定座的t型槽内壁卡接有t型块,所述t型块的顶部固定有收集框,可以稳定收集框。
6、优选的,所述转杆的右端表面固定有棘轮,所述电机的输出轴的凹槽内壁固定有棘爪。
7、优选的,所述滑板远离传动杆的一侧固定有清洁毛刷。
8、优选的,所述固定座的顶部固定有固定架,所述固定架的内壁底部固定有电动推杆,所述电动推杆的输出端底部固定有滑杆,所述滑杆滑动连接在固定座的内壁上,所述滑杆的底部固定有清洁毛刷,所述滚筒的表面连接有滚筒门,开启电动推杆,带动滑杆下移。
9、与现有技术相比,本实用新型提供了一种稳定结构的茶叶摇青机,具备以下有益效果:
10、该稳定结构的茶叶摇青机设置有清理组件,开启电机反转,转杆、带动稳定板转动,稳定板抵触抵板,使得传动杆转动,在离心力的作用下,滑板向外滑动,固定在滑板表面的清洁毛刷会与滚筒的内壁抵触,同时在传动杆转动时,会拉伸涡卷弹簧,当涡卷弹簧拉伸到不能那个继续拉伸时,此时抵板翻转,使得稳定板不能继续抵触抵板,此时涡卷弹簧释放,从而带动传动杆翻转,进而带动连动板、滑板翻转,从而可以使得电机反转时,可以使得滑板表面的清洁毛刷可以对滚筒的内壁进行清理,增加其清理的实用性。
技术特征:
1.一种稳定结构的茶叶摇青机,包括固定座(1),其特征在于:所述固定座(1)的表面固定有固定板(4),所述固定板(4)的顶部固定有电机(5),所述电机(5)的输出轴贯穿固定座(1),所述电机(5)的输出轴左端开设有凹槽,所述固定座(1)的内壁转动连接有滚筒(11),所述电机(5)的输出轴与滚筒(11)固定连接,所述滚筒(11)的内部以及固定座(1)的表面设置有清理组件(9),所述清理组件(9)包括:
2.根据权利要求1所述的一种稳定结构的茶叶摇青机,其特征在于:所述主动件(95)包括稳定板(950),所述稳定板(950)固定在转杆(90)的表面,所述传动杆(94)的内壁铰接有抵板(951),所述抵板(951)的表面固定有扭簧(952),所述扭簧(952)远离抵板(951)的一端固定在传动杆(94)的内壁上,所述固定座(1)的左侧表面固定有固定筒(953),所述固定筒(953)的内壁固定有涡卷弹簧(954),所述涡卷弹簧(954)远离固定筒(953)的一端固定在传动杆(94)的表面。
3.根据权利要求1所述的一种稳定结构的茶叶摇青机,其特征在于:所述固定座(1)的内壁底部开设有t型槽,所述固定座(1)的t型槽内壁卡接有t型块(2),所述t型块(2)的顶部固定有收集框(3)。
4.根据权利要求1所述的一种稳定结构的茶叶摇青机,其特征在于:所述转杆(90)的右端表面固定有棘轮,所述电机(5)的输出轴的凹槽内壁固定有棘爪。
5.根据权利要求1所述的一种稳定结构的茶叶摇青机,其特征在于:所述滑板(93)远离传动杆(94)的一侧固定有清洁毛刷。
6.根据权利要求1所述的一种稳定结构的茶叶摇青机,其特征在于:所述固定座(1)的顶部固定有固定架(7),所述固定架(7)的内壁底部固定有电动推杆(8),所述电动推杆(8)的输出端底部固定有滑杆(10),所述滑杆(10)滑动连接在固定座(1)的内壁上,所述滑杆(10)的底部固定有清洁毛刷,所述滚筒(11)的表面连接有滚筒门。
技术总结
本技术涉及茶叶加工技术领域,且公开了一种稳定结构的茶叶摇青机,包括固定座,所述固定座的表面固定有固定板,该稳定结构的茶叶摇青机,设置有清理组件,开启电机反转,转杆、带动稳定板转动,稳定板抵触抵板,使得传动杆转动,在离心力的作用下,滑板向外滑动,固定在滑板表面的清洁毛刷会与滚筒的内壁抵触,同时在传动杆转动时,会拉伸涡卷弹簧,当涡卷弹簧拉伸到不能那个继续拉伸时,此时抵板翻转,使得稳定板不能继续抵触抵板,此时涡卷弹簧释放,从而带动传动杆翻转,进而带动连动板、滑板翻转,从而可以使得电机反转时,可以使得滑板表面的清洁毛刷可以对滚筒的内壁进行清理,增加其清理的实用性。
技术研发人员:江玉良
受保护的技术使用者:西藏隆康松柏健康科技有限公司
技术研发日:20240103
技术公布日:2024/9/2
技术研发人员:江玉良
技术所有人:西藏隆康松柏健康科技有限公司
备 注:该技术已申请专利,仅供学习研究,如用于商业用途,请联系技术所有人。
声 明 :此信息收集于网络,如果你是此专利的发明人不想本网站收录此信息请联系我们,我们会在第一时间删除
