一种手柄角度可调节的清洁刷的制作方法

本技术涉及清洁刷刷,尤其是一种手柄角度可调节的清洁刷。
背景技术:
1、清洁刷用于清洁卫生,现有的清洁刷的刷头与清洁刷本体一般是固定的,不具备角度调节功能,不方便清理一些转角处的灰尘,清洁范围受到限制。为此,发明人设计了一种手柄角度可调节的清洁刷,手柄和旋转清洁头之间的角度可以调节,并且固定在该角度,同时还具有结构简单,方便使用的优点。
技术实现思路
1、本实用新型要解决的技术问题在于,针对现有技术的不足,提供一种手柄角度可调节的清洁刷。
2、为解决上述技术问题,本实用新型采用如下技术方案。
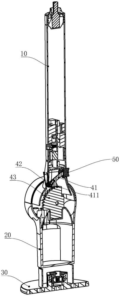
3、一种手柄角度可调节的清洁刷,包括手柄和旋转清洁头,所述旋转清洁头的底部连接有清洁刷头,还包括角度调节结构,所述手柄的底部设有按压孔,所述角度调节结构包括拨动杆,扭簧和转动齿盘;所述转动齿盘的周壁设有若干定位槽,所述拨动杆的转动部插入手柄的底部且与手柄的内壁通过第一转轴转动连接,拨动杆的按压部指向手柄的按压孔,所述拨动杆靠近第一转轴处设有拨动齿,所述扭簧套设在第一转轴外使得拨动齿压紧在定位槽内,所述旋转清洁头顶部与转动齿盘固定连接,所述手柄的底部通过第二转轴分别与旋转清洁头的顶部和转动齿盘转动连接。
4、一种优选方案是所述按压孔内活动卡设有按压键,所述拨动杆的按压部与按压键抵接。
5、一种优选方案是所述按压键插入按压孔的一侧设有导向槽,所述拨动杆的按压部位于导向槽内。
6、一种优选方案是所述扭簧的一支脚与拨动杆连接,另一支脚与手柄内壁连接。
7、一种优选方案是所述旋转清洁头包括固定筒,设置在固定筒内的电机,以及设置在固定筒底部且与电机的主轴转动连接的清洁刷。
8、一种优选方案是所述转动齿盘固定在固定筒的顶部内,所述固定筒的顶部设有顶盖,所述顶盖设有弧形槽,所述手柄的底部插入弧形槽后与固定筒的顶部转动连接。
9、一种优选方案是所述手柄的底部两侧设有弧形挡板,所述弧形挡板位于顶盖内且用于盖住弧形槽。
10、一种优选方案是所述手柄的顶部可拆式连接有伸缩杆。
11、本实用新型实施例提供的手柄角度可调节的清洁刷至少具有以下有益效果:当手柄和旋转清洁头需要相对转动时,按下拨动杆的按压部,拨动杆的拨动齿脱离转动齿盘的某一定位槽,当手柄和旋转清洁头转动到一定角度时,松开拨动杆的按压部,拨动杆的拨动齿卡设在转动齿盘的另一定位槽内并与该定位槽压紧。当需要再次调节手柄和旋转清洁头之间的角度时,再次按下拨动杆的按压部,使得拨动杆的拨动齿脱离转动齿盘的某一定位槽,当手柄和旋转清洁头转动到一定角度时,松开拨动杆的按压部,拨动杆的拨动齿卡设在转动齿盘的另一定位槽内并与该定位槽压紧。调节比较方便,方便清洁不同位置的灰尘。
12、上述说明仅是本实用新型技术方案的概述,为了能够更清楚了解本实用新型的技术手段,而可依照说明书的内容予以实施,并且为了让本实用新型的上述和其他目的、特征和优点能够更明显易懂,以下特举较佳实施例,并配合附图,详细说明如下。
技术特征:
1.一种手柄角度可调节的清洁刷,包括手柄和旋转清洁头,所述旋转清洁头的底部连接有清洁刷头,其特征在于:还包括角度调节结构,所述手柄的底部设有按压孔,所述角度调节结构包括拨动杆,扭簧和转动齿盘;所述转动齿盘的周壁设有若干定位槽,所述拨动杆的转动部插入手柄的底部且与手柄的内壁通过第一转轴转动连接,拨动杆的按压部指向手柄的按压孔,所述拨动杆靠近第一转轴处设有拨动齿,所述扭簧套设在第一转轴外使得拨动齿压紧在定位槽内,所述旋转清洁头顶部与转动齿盘固定连接,所述手柄的底部通过第二转轴分别与旋转清洁头的顶部和转动齿盘转动连接。
2.根据权利要求1所述的手柄角度可调节的清洁刷,其特征在于,所述按压孔内活动卡设有按压键,所述拨动杆的按压部与按压键抵接。
3.根据权利要求2所述的手柄角度可调节的清洁刷,其特征在于,所述按压键插入按压孔的一侧设有导向槽,所述拨动杆的按压部位于导向槽内。
4.根据权利要求1所述的手柄角度可调节的清洁刷,其特征在于,所述扭簧的一支脚与拨动杆连接,另一支脚与手柄内壁连接。
5.根据权利要求1所述的手柄角度可调节的清洁刷,其特征在于,所述旋转清洁头包括固定筒,设置在固定筒内的电机,以及设置在固定筒底部且与电机的主轴转动连接的清洁刷。
6.根据权利要求5所述的手柄角度可调节的清洁刷,其特征在于,所述转动齿盘固定在固定筒的顶部内,所述固定筒的顶部设有顶盖,所述顶盖设有弧形槽,所述手柄的底部插入弧形槽后与固定筒的顶部转动连接。
7.根据权利要求6所述的手柄角度可调节的清洁刷,其特征在于,所述手柄的底部两侧设有弧形挡板,所述弧形挡板位于顶盖内且用于盖住弧形槽。
8.根据权利要求1所述的手柄角度可调节的清洁刷,其特征在于,所述手柄的顶部可拆式连接有伸缩杆。
技术总结
本技术公开了一种手柄角度可调节的清洁刷,包括手柄和旋转清洁头,旋转清洁头的底部连接有清洁刷头,还包括角度调节结构,手柄的底部设有按压孔,角度调节结构包括拨动杆,扭簧和转动齿盘;转动齿盘的周壁设有若干定位槽,拨动杆的转动部插入手柄的底部且与手柄的内壁转动连接,拨动杆的按压部指向手柄的按压孔,拨动杆靠近第一转轴处设有拨动齿,扭簧套设在第一转轴外使得拨动齿压紧在定位槽内,旋转清洁头顶部与转动齿盘固定连接,手柄的底部与旋转清洁头的顶部转动连接。它的优点当手柄和旋转清洁头转动到一定角度时,松开拨动杆的按压部,拨动杆的拨动齿卡设在转动齿盘的另一定位槽内并与该定位槽压紧,调节调节比较简单。
技术研发人员:刘涛
受保护的技术使用者:深圳市嘉辰塑胶五金电子有限公司
技术研发日:20231011
技术公布日:2024/7/25
技术研发人员:刘涛
技术所有人:深圳市嘉辰塑胶五金电子有限公司
备 注:该技术已申请专利,仅供学习研究,如用于商业用途,请联系技术所有人。
声 明 :此信息收集于网络,如果你是此专利的发明人不想本网站收录此信息请联系我们,我们会在第一时间删除
