一种更换刷头组件的制作方法

本技术涉及刷头组件领域,具体地说,涉及一种更换刷头组件。
背景技术:
1、电动刷头和连接装置需要随着连通器被电机驱动转动,既要保证刷头连接的稳定,又要在更换时需要做到快捷方便,需要一种快捷更换且稳定固定的更换刷头组件。
技术实现思路
1、本实用新型的目的在于提供一种更换刷头组件,以解决上述背景技术中提出的需要一种快捷更换的刷头组件的问题。
2、为实现上述目的,本实用新型提供以下技术方案:
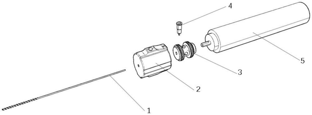
3、一种更换刷头组件,包括刷头1、外套2、内芯件3、固定件4和连通器5,刷头1一端设置在外套2上的刷头孔202内并延伸到内芯件3内,内芯件3设置在外套2的内腔201中,通过固定件4设置在外套2的固定件孔203并延伸到内芯件3上的固定孔302内固定刷头1的一端,刷头1的另一端带有刷毛。
4、所述内芯件3一面设有花型连接孔301,通过花型连接孔301与连通器5的一端固定,另一面设有所述刷头1的一端部,所述内芯件3设置在外套2的内腔201内,连通器5的头端被外套2包裹,所述内芯件3的中部位置圆周上设有多个固定孔302,所述内芯件3为两端大中间较小的形状,通过两端大卡在外套2的内腔201内。通过固定件4挤压固定刷头1的在内芯件3的固定端,整个刷头组件由电机带动旋转使用,在更换时,只需通过外接的接头拉动固定件4,松开固定件,将原有的刷头取下,跟换新的刷头,从外套2中的刷头孔202插入合适长度,压紧固定件4即可更换完成。
5、整个更换刷头组件可以使用在任意需要更换的电动或手动刷头的装置上。
6、与现有技术相比,本实用新型有益效果如下:
7、本实用新型提供的更换刷头组件结构简单,更换刷头时方便,使用时更加方便,改变刷头样式可以方便使用在多种需更换刷头的设备上。
技术特征:
1.一种更换刷头组件,其特征在于,包括刷头(1)、外套(2)、内芯件(3)、固定件(4)和连通器(5),刷头(1)一端设置在外套(2)上的刷头孔(202)内并延伸到内芯件(3)内,内芯件(3)设置在外套(2)的内腔(201)中,通过固定件(4)设置在外套(2)的固定件孔(203)并延伸到内芯件(3)上的固定孔(302)内固定刷头(1)的一端,刷头(1)的另一端带有刷毛。
2.根据权利要求1所述的更换刷头组件,其特征在于,所述内芯件(3)一面设有花型连接孔(301),通过花型连接孔(301)与连通器(5)的一端固定,另一面设有所述刷头(1)的一端部,所述内芯件(3)设置在外套(2)的内腔(201)内,连通器(5)的头端被外套(2)包裹,所述内芯件(3)的中部位置圆周上设有多个固定孔(302),所述内芯件(3)为两端大中间较小的形状。
技术总结
本技术涉及刷头组件领域,具体地说,涉及一种更换刷头组件,包括刷头、外套、内芯件、固定件和连通器,刷头一端设置在外套上的刷头孔内并延伸到内芯件内,内芯件设置在外套的内腔中,通过固定件设置在外套的固定件孔并延伸到内芯件上的固定孔内固定刷头的一端,刷头的另一端带有刷毛;本技术提供的更换刷头组件结构简单,更换刷头时方便,使用时更加方便,改变刷头样式可以方便使用在多种需更换刷头的设备上。
技术研发人员:章阳,朱慧婷,苑家福,张昊悦,王业皇,陈志明
受保护的技术使用者:南京市中医院
技术研发日:20231222
技术公布日:2024/7/29
技术研发人员:章阳,朱慧婷,苑家福,张昊悦,王业皇,陈志明
技术所有人:南京市中医院
备 注:该技术已申请专利,仅供学习研究,如用于商业用途,请联系技术所有人。
声 明 :此信息收集于网络,如果你是此专利的发明人不想本网站收录此信息请联系我们,我们会在第一时间删除
