一种便于拼接的油漆刷的制作方法

本技术涉及建筑装修领域,尤其涉及一种便于拼接的油漆刷。
背景技术:
1、油漆刷是一种常用的装修用的工具,大多数的油漆刷都是有特定的尺寸和大小的,在有不同的需求时要用到不同尺寸的油漆刷来完成,更换不同尺寸的油漆刷使用起来有很多不便,数量较多的油漆刷,不管是携带还是保管都很麻烦。
2、经检索在公告号为:cn207979258u中公开了一种防滴落拼插式刷头的油漆刷, 本实用新型涉及一种防滴落拼插式刷头的油漆刷,包括刷毛,刷体和手柄;所述刷毛设置在刷体的上端;所述手柄设置在刷体的下端;所述刷体的一侧面上设置有凹槽;所述凹槽为与刷体纵向一致的通槽;在刷体上,与凹槽相对的侧面上设置有凸块;所述凹槽与凸块可配合连接;所述刷体至少有三个;所述手柄上设置有漏斗状滴落盘;所述滴落盘开口向上。本实用新型凹槽和凸块可以拼接安装,既不会增加刷子的重量,还可以变换刷头尺寸适应不同的需求,更便于收纳或携带,操作起来更加简单快捷,滴落盘放置油漆滴落,实用性更强。
3、上述申请中拼接式刷头更换种类受限,手柄的设置使刷头使用环境受限较多。
技术实现思路
1、为了弥补以上不足,本实用新型提供了一种便于拼接的油漆刷,旨在改善拼接式刷头更换种类受限,手柄的设置使刷头使用环境受限较多的问题。
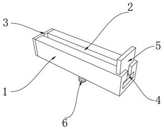
2、为实现上述目的,本实用新型提供了如下技术方案:一种便于拼接的油漆刷,包括滑轨,所述滑轨下部固定连接有螺杆,所述滑轨内部开设有滑槽,所述滑槽内滑动连接有滑块,所述滑块上部固定连接有刷体,所述刷体上部固定连接有刷毛,所述螺杆下部螺纹连接有手柄。
3、优选的,所述滑轨左侧固定连接有侧板。
4、优选的,所述滑轨右侧开设有挡板卡槽,所述挡板卡槽内安装有挡板卡扣。
5、优选的,所述手柄顶部开设有柄头螺纹孔。
6、优选的,所述滑槽内滑动连接有另一个滑块,所述滑块侧面固定连接有刷杆,所述刷杆尾部固定连接有转动杆,所述转动杆中间转动连接有滚筒刷。
7、优选的,所述滑块上部固定连接有另一个刷体,所述刷体侧面固定连接有输送管,所述输送管尾部固定连接有油漆瓶。
8、优选的,所述螺杆下部螺纹连接有杆头,所述杆头下部固定连接有上部杆,所述上部杆下部滑动连接有空心杆,所述空心杆顶部安装有紧箍装置。
9、优选的,所述杆头上部开设有垂直螺纹孔,所述杆头侧面开设有水平螺纹孔。
10、本实用新型具有如下有益效果:
11、1.本实用新型中,通过滑轨、滑槽、侧板、挡板卡槽、挡板卡扣、滑块和螺杆实现油漆刷的快速便捷拼接和多种类油漆刷替换效果。
12、2.本实用新型中,通过螺杆、输送管、油漆瓶、刷杆、转动杆、滚筒刷、杆头、上部杆、紧箍装置和空心杆实现扩展油漆刷适用环境的效果。
技术特征:
1.一种便于拼接的油漆刷,包括滑轨(1),其特征在于:所述滑轨(1)下部固定连接有螺杆(6),所述滑轨(1)内部开设有滑槽(2),所述滑槽(2)内滑动连接有滑块(7),所述滑块(7)上部固定连接有刷体(8),所述刷体(8)上部固定连接有刷毛(9),所述螺杆(6)下部螺纹连接有手柄(15);
2.根据权利要求1所述的一种便于拼接的油漆刷,其特征在于:所述滑轨(1)左侧固定连接有侧板(3)。
3.根据权利要求1所述的一种便于拼接的油漆刷,其特征在于:所述滑轨(1)右侧开设有挡板卡槽(4),所述挡板卡槽(4)内安装有挡板卡扣(5)。
4.根据权利要求1所述的一种便于拼接的油漆刷,其特征在于:所述手柄(15)顶部开设有柄头螺纹孔(16)。
5.根据权利要求1所述的一种便于拼接的油漆刷,其特征在于:所述滑槽(2)内滑动连接有另一个滑块(7),所述滑块(7)侧面固定连接有刷杆(12),所述刷杆(12)尾部固定连接有转动杆(13),所述转动杆(13)中间转动连接有滚筒刷(14)。
6.根据权利要求1所述的一种便于拼接的油漆刷,其特征在于:所述滑块(7)上部固定连接有另一个刷体(8),所述刷体(8)侧面固定连接有输送管(10),所述输送管(10)尾部固定连接有油漆瓶(11)。
技术总结
本技术涉及建筑装修领域,公开了一种便于拼接的油漆刷,包括滑轨,所述滑轨下部固定连接有螺杆,所述滑轨内部开设有滑槽,所述滑槽内滑动连接有滑块,所述滑块上部固定连接有刷体,所述刷体上部固定连接有刷毛,所述螺杆下部螺纹连接有手柄,所述滑轨左侧固定连接有侧板,所述滑轨右侧开设有挡板卡槽,所述挡板卡槽内安装有挡板卡扣。本技术中,通过滑轨、滑槽、侧板、挡板卡槽、挡板卡扣、滑块和螺杆实现油漆刷的快速便捷拼接和多种类油漆刷替换效果;通过螺杆、输送管、油漆瓶、刷杆、转动杆、滚筒刷、杆头、上部杆、紧箍装置和空心杆实现扩展油漆刷适用环境的效果。
技术研发人员:孙中华,孙鹏
受保护的技术使用者:枣庄正和制刷股份有限公司
技术研发日:20240105
技术公布日:2024/8/21
技术研发人员:孙中华,孙鹏
技术所有人:枣庄正和制刷股份有限公司
备 注:该技术已申请专利,仅供学习研究,如用于商业用途,请联系技术所有人。
声 明 :此信息收集于网络,如果你是此专利的发明人不想本网站收录此信息请联系我们,我们会在第一时间删除
