炮控系统性能验证装置的制作方法

本技术涉及武器装备技术,尤其涉及一种炮控系统性能验证装置。
背景技术:
1、随着科技的发展和战争形式的改变,现代战争对武器装备的性能要求越来越高。炮控系统作为武器装备的重要组成部分,提高了武器装备的作战性能、可靠性和稳定性,适应多种复杂条件作战的要求,其性能的优劣直接影响到武器的作战效能。然而,目前缺乏一种有效的炮控系统性能验证装置,无法对炮控系统的性能进行全面、准确的测试和评估。因此,开发一种新型的炮控系统性能验证装置具有重要的军事意义和实用价值。
技术实现思路
1、有鉴于此,本实用新型提供一种炮控系统性能验证装置,至少能解决前述的技术问题。
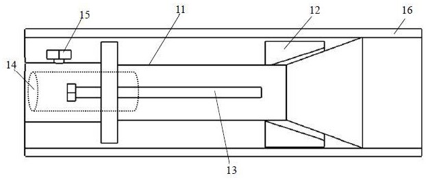
2、根据本实用新型的第一方面,提供一种炮控系统性能验证装置,包括:支架,其一端开孔用于放置激光器,另一端的至少一部分成为锥台部;套筒,其由弹性材料形成,内部形成有能够收纳所述锥台部的至少一部分的锥形孔,所述锥形孔的锥度和孔径与所述锥台部的外形匹配用以套接于所述锥台部的外部;以及施力件,其用于与所述套筒抵接并对所述套筒施加将所述套筒向所述炮筒内部推压的力,所述套筒套接于所述支架的至少所述锥台部的外部的一部分,并与所述支架一起插入所述炮筒以与所述炮筒抵接。
3、在一些示例性的实施例中,还包括:激光器,其插入于所述支架的开孔内,用于射出验证激光。
4、在一些示例性的实施例中,所述支架包括一端开孔用以放置所述激光器的柱体部、在所述柱体部的中部连结于所述柱体部的外壁的外环部、以及与所述柱体部的另一端连结的所述锥台部,在所述外环部设有螺纹孔,供与所述套筒抵接并对所述套筒施力的施力件插入。
5、在一些示例性的实施例中,所述支架整体成为所述锥台部,所述锥台部的缩径端开孔用以放置所述激光器,且在所述锥台部的中部设有连结于所述锥台部的外壁的外环部,在所述外环部设有螺纹孔,供与所述套筒抵接并对所述套筒施力的施力件插入。
6、在一些示例性的实施例中,所述套筒包括柱形的主体部、和在所述主体部的内部开设的所述锥形孔。
7、在一些示例性的实施例中,所述施力件为拧入开设于所述支架的外部的螺纹孔并到达所述套筒的所述锥形孔的缩径侧的端面的长螺栓。
8、在一些示例性的实施例中,所述支架的锥台部的外形和所述套筒的所述锥形孔的形状为圆锥台形或棱锥台形。
9、在一些示例性的实施例中,所述套筒为中空部件。
10、在一些示例性的实施例中,所述支架的开孔端侧开设有螺纹通孔,所述炮控系统性能验证装置还包括螺栓,所述螺栓插入所述螺纹通孔以顶紧所述激光器,以将所述激光器固定于所述支架。
11、在一些示例性的实施例中,所述支架由环保且轻量的材质构成。
12、根据本实用新型,提供了一种能够装入炮筒内部的炮控系统性能验证装置,该装置能够通过其头部的激光器投射在幕布上的轨迹快速且精准地反应出炮筒的震动信息,进而能够根据激光轨迹的分布而评估炮控系统性能的优劣。并且,由于能够对不同型号、不同口径的炮筒进行检测,所以具有较强的适用性,应用范围广泛。
技术特征:
1.一种炮控系统性能验证装置,其特征在于,包括:
2.根据权利要求1所述的炮控系统性能验证装置,其特征在于,还包括:
3.根据权利要求1所述的炮控系统性能验证装置,其特征在于,
4.根据权利要求1所述的炮控系统性能验证装置,其特征在于,
5.根据权利要求1所述的炮控系统性能验证装置,其特征在于,
6.根据权利要求1所述的炮控系统性能验证装置,其特征在于,
7.根据权利要求1所述的炮控系统性能验证装置,其特征在于,
8.根据权利要求1所述的炮控系统性能验证装置,其特征在于,
9.根据权利要求1所述的炮控系统性能验证装置,其特征在于,
10.根据权利要求1所述的炮控系统性能验证装置,其特征在于,
技术总结
本申请公开了一种炮控系统性能验证装置,包括:支架,其一端开孔用于放置激光器,另一端的至少一部分成为锥台部;套筒,其由弹性材料形成,内部形成有能够收纳所述锥台部的至少一部分的锥形孔,所述锥形孔的锥度和孔径与所述锥台部的外形匹配用以套接于所述锥台部的外部;以及施力件,其用于与所述套筒抵接并对所述套筒施加将所述套筒向所述炮筒内部推压的力,所述套筒套接于所述支架的至少所述锥台部的外部的一部分,并与所述支架一起插入所述炮筒以与所述炮筒抵接。本申请保证炮控系统性能验证结果的稳定性和可靠性,并且由于能够对不同型号、不同口径的炮筒进行检测,所以具有较强的适用性,应用范围广。
技术研发人员:徐梦天,胡宇辉,宗冰方,姚庆远
受保护的技术使用者:弧心(嘉兴)智能科技有限公司
技术研发日:20240731
技术公布日:2024/9/2
技术研发人员:徐梦天,胡宇辉,宗冰方,姚庆远
技术所有人:弧心(嘉兴)智能科技有限公司
备 注:该技术已申请专利,仅供学习研究,如用于商业用途,请联系技术所有人。
声 明 :此信息收集于网络,如果你是此专利的发明人不想本网站收录此信息请联系我们,我们会在第一时间删除
