屏幕用防蓝光OCA光学配方及其制备工艺的制作方法

本发明涉及ab胶结构,具体为屏幕用防蓝光oca光学配方及其制备工艺。
背景技术:
1、oca光学胶是光学亚克力胶做成无基材,然后在上下底层,再各贴合一层离型薄膜,是一种无基材高透双面贴合胶带,内聚力一般,流动性非常大,挤压后非常容易变形,目前它是触控屏最佳胶粘剂,主要用于触摸屏上的材料粘合,起到电容触碰感应效果,要求洁净度非常高,简而言之,oca就是具有光学透明的一层特种双面胶,oca光学胶是触摸屏重要的原材料之一,将光学亚克力胶做成无基材,然后在上下底层再各贴合一层离型薄膜,是一种无基体材料的双面贴合胶带。
2、oca光学胶的使用可减少眩光,减少lcd或amoled显示器发出光的损失,增加显示器的亮度和提供高透射率,减少能耗;增加对比度,尤其是强光照射下的对比度;oca光学胶的粘合使得面连接有更高的强度;避免出现牛顿环现象;产品表面更平整无褶皱、气泡、杂质,显示图像透过oca光学胶几乎无影响。
3、但是,传统的oca光学胶存在以下缺点:
4、蓝光是可见光的重要组成部分,电脑、手机、数码相机等电子产品屏幕发出的可见光中都有大量的不规则的短波蓝光,对眼睛伤害最大的就在360nm-500nm之间的高能短波蓝光,这些蓝光会直接穿透角膜,对眼底中的视网膜造成伤害,导致黄斑区病变,尤其是450nm-460nm这一区间的蓝光,对眼睛的伤害最大,传统的oca光学胶单一对可视光线进行阻挡,但是对蓝光的阻挡效率差,无法满足人们的使用效率。
技术实现思路
1、本发明的目的在于提供屏幕用防蓝光oca光学配方及其制备工艺,以解决上述背景技术中提出的蓝光是可见光的重要组成部分,电脑、手机、数码相机等电子产品屏幕发出的可见光中都有大量的不规则的短波蓝光,对眼睛伤害最大的就在360nm-500nm之间的高能短波蓝光,这些蓝光会直接穿透角膜,对眼底中的视网膜造成伤害,导致黄斑区病变,尤其是450nm-460nm这一区间的蓝光,对眼睛的伤害最大,传统的oca光学胶单一对可视光线进行阻挡,但是对蓝光的阻挡效率差,无法满足人们的使用效率的问题。
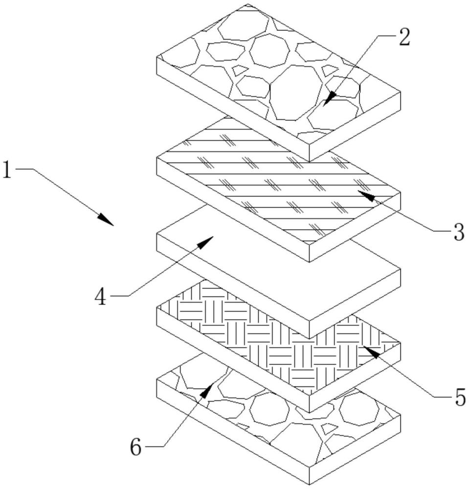
2、为实现上述目的,本发明提供如下技术方案:屏幕用防蓝光oca光学配方,包括oca胶本体,所述oca胶本体包括第一离型膜、oca混合蓝光阻隔薄膜、光学pet基材、硅胶薄膜和第二离型膜,所述第一离型膜包括如下组分制成:按重量份数计,纳米氧化钴25份-35份、邻苯二甲胺25份-35份、过氧化苯甲酰25份-35份和六甲基磷酰三胺10份-40份,所述oca混合蓝光阻隔薄膜包括如下组分制成:按重量份数计,甲基丙烯酸月桂酯20份-40份、丙烯酸异辛酯20份-40份和蓝光阻隔剂20份-40份,所述光学pet基材包括如下组分制成:按重量份数计,苯甲酯料10份-30份、花菁类材料10份-30份、氮化硅10份-30份和二苯甲酮10份-30份,所述硅胶薄膜包括如下组分制成:按重量份数计,硅胶40份-60份和亲水聚氨酯树脂40份-60份,所述第二离型膜包括如下组分制成:按重量份数计,纳米氧化钴25份-35份、邻苯二甲胺25份-35份、过氧化苯甲酰25份-35份和六甲基磷酰三胺10份-40份。
3、作为本发明的一种优选技术方案,所述第一离型膜包括如下组分制成:按重量份数计,纳米氧化钴35份、邻苯二甲胺25份、过氧化苯甲酰25份和六甲基磷酰三胺15份,所述oca混合蓝光阻隔薄膜包括如下组分制成:按重量份数计,甲基丙烯酸月桂酯30份、丙烯酸异辛酯30份和蓝光阻隔剂40份,所述光学pet基材包括如下组分制成:按重量份数计,苯甲酯料20份、花菁类材料30份、氮化硅20份和二苯甲酮30份,所述硅胶薄膜包括如下组分制成:按重量份数计,硅胶40份和亲水聚氨酯树脂60份,所述第二离型膜包括如下组分制成:按重量份数计,纳米氧化钴35份、邻苯二甲胺25份、过氧化苯甲酰25份和六甲基磷酰三胺15份。
4、作为本发明的一种优选技术方案,所述第一离型膜包括如下组分制成:按重量份数计,纳米氧化钴25份、邻苯二甲胺25份、过氧化苯甲酰25份和六甲基磷酰三胺25份,所述oca混合蓝光阻隔薄膜包括如下组分制成:按重量份数计,甲基丙烯酸月桂酯40份、丙烯酸异辛酯20份和蓝光阻隔剂40份,所述光学pet基材包括如下组分制成:按重量份数计,苯甲酯料10份、花菁类材料30份、氮化硅30份和二苯甲酮30份,所述硅胶薄膜包括如下组分制成:按重量份数计,硅胶60份和亲水聚氨酯树脂40份,所述第二离型膜包括如下组分制成:按重量份数计,纳米氧化钴25份、邻苯二甲胺25份、过氧化苯甲酰25份和六甲基磷酰三胺25份。
5、作为本发明的一种优选技术方案,所述第一离型膜包括如下组分制成:按重量份数计,纳米氧化钴25份、邻苯二甲胺25份、过氧化苯甲酰35份和六甲基磷酰三胺15份,所述oca混合蓝光阻隔薄膜包括如下组分制成:按重量份数计,甲基丙烯酸月桂酯40份、丙烯酸异辛酯40份和蓝光阻隔剂20份,所述光学pet基材包括如下组分制成:按重量份数计,苯甲酯料25份、花菁类材料25份、氮化硅25份和二苯甲酮25份,所述硅胶薄膜包括如下组分制成:按重量份数计,硅胶50份和亲水聚氨酯树脂50份,所述第二离型膜包括如下组分制成:按重量份数计,纳米氧化钴25份、邻苯二甲胺25份、过氧化苯甲酰35份和六甲基磷酰三胺15份。
6、作为本发明的一种优选技术方案,所述第一离型膜包括如下组分制成:按重量份数计,纳米氧化钴25份、邻苯二甲胺35份、过氧化苯甲酰25份和六甲基磷酰三胺15份,所述oca混合蓝光阻隔薄膜包括如下组分制成:按重量份数计,甲基丙烯酸月桂酯20份、丙烯酸异辛酯40份和蓝光阻隔剂40份,所述光学pet基材包括如下组分制成:按重量份数计,苯甲酯料30份、花菁类材料20份、氮化硅30份和二苯甲酮20份,所述硅胶薄膜包括如下组分制成:按重量份数计,硅胶45份和亲水聚氨酯树脂55份,所述第二离型膜包括如下组分制成:按重量份数计,纳米氧化钴25份、邻苯二甲胺35份、过氧化苯甲酰25份和六甲基磷酰三胺15份。
7、作为本发明的一种优选技术方案,所述蓝光阻隔剂为er荧光粉。
8、本发明屏幕用防蓝光oca光学配方的制备工艺,包括以下步骤:
9、步骤一、结构设计:根据oca胶本体的需求设计第一离型膜的厚度、oca混合蓝光阻隔薄膜的厚度、光学pet基材的厚度、硅胶薄膜的厚度和第二离型膜的厚度;
10、步骤二、单层制备:根据结构设计的需求分别对第一离型膜制备、oca混合蓝光阻隔薄膜制备、光学pet基材制备、硅胶薄膜制备和第二离型膜制备;
11、步骤三、共挤压:第一离型膜、oca混合蓝光阻隔薄膜、光学pet基材、硅胶薄膜和第二离型膜挤压在一起合成oca胶本体;
12、步骤四、表面处理:对oca胶本体进行涂装和溅镀处理。
13、作为本发明的一种优选技术方案,所述步骤二中第一离型膜制备的具体流程为:s1、质量称取:称取纳米氧化钴25份-35份、邻苯二甲胺25份-35份、过氧化苯甲酰25份-35份和六甲基磷酰三胺10份-40份;s2、溅镀法镀膜:在真空环境中注入气体并施加高压,引发放电,放电过程中产生的离子撞击靶材,使靶材的材料飞出并与基材碰撞形成薄膜,所述oca混合蓝光阻隔薄膜制备的具体流程为:s1、质量称取:称取甲基丙烯酸月桂酯20份-40份、丙烯酸异辛酯20份-40份和蓝光阻隔剂20份-40份;s2、溅镀法镀膜:在真空环境中注入气体并施加高压,引发放电,放电过程中产生的离子撞击靶材,使靶材的材料飞出并与基材碰撞形成薄膜,所述光学pet基材制备的具体流程为:s1、质量称取:称取苯甲酯料10份-30份、花菁类材料10份-30份、氮化硅10份-30份和二苯甲酮10份-30份;s2、溅镀法镀膜:在真空环境中注入气体并施加高压,引发放电,放电过程中产生的离子撞击靶材,使靶材的材料飞出并与基材碰撞形成薄膜,所述硅胶薄膜制备的具体流程为:s1、质量称取:称取硅胶40份-60份和亲水聚氨酯树脂40份-60份;s2、溅镀法镀膜:在真空环境中注入气体并施加高压,引发放电,放电过程中产生的离子撞击靶材,使靶材的材料飞出并与基材碰撞形成薄膜,所述第二离型膜制备的具体流程为:s1、质量称取:称取纳米氧化钴25份-35份、邻苯二甲胺25份-35份、过氧化苯甲酰25份-35份和六甲基磷酰三胺10份-40份;
14、s2、溅镀法镀膜:在真空环境中注入气体并施加高压,引发放电,放电过程中产生的离子撞击靶材,使靶材的材料飞出并与基材碰撞形成薄膜。
15、与现有技术相比,本发明的有益效果是:
16、1、通过设置第一离型膜和第二离型膜,采用的纳米氧化钴很好吸收蓝光,而邻苯二甲胺和六甲基磷酰三胺与其协同作用,进一步提高吸收蓝光的效果,从而保证了该防蓝光膜具有良好的过滤蓝光的作用;
17、2、通过设置oca混合蓝光阻隔薄膜,通过原料复配,使得产品达到优异的蓝光中和和过滤效果er荧光粉是一种泛金色的具有吸收转化蓝光波段作用的抗蓝光剂,提高其美观度的同时增加其防蓝光效果,满足人们的使用需求。
技术研发人员:廖德南
技术所有人:深圳永德利科技股份有限公司
备 注:该技术已申请专利,仅供学习研究,如用于商业用途,请联系技术所有人。
声 明 :此信息收集于网络,如果你是此专利的发明人不想本网站收录此信息请联系我们,我们会在第一时间删除
