一种警用防爆盾牌的制作方法

本技术涉及警用防爆领域,具体的说是一种警用防爆盾牌。
背景技术:
1、警用防爆盾是一种防护设备,通常由高强度材料制成,如聚碳酸酯、玻璃钢和钢板等,它被广泛用于应对可能发生爆炸威胁的场合,旨在提供保护和安全。
2、防爆盾的设计目的是为了防御和减轻爆炸冲击、碎片和飞溅物带来的伤害,它通常具有一个大型透明的面罩,以便警察或安全人员可以观察周围环境,同时还可以有效保护其面部免受威胁。
3、目前,在警用防爆盾使用过程中,无法根据现场情况进行警棍和防爆盾的配合使用工作,无法对单手和双手操作进行调节,导致在防爆过程中会出现操作不方便的情况出现,同时无法在防爆过程中需要进行紧急破窗和击打时进行相应的使用。
技术实现思路
1、针对现有技术的不足,本实用新型的目的是提供一种警用防爆盾牌。
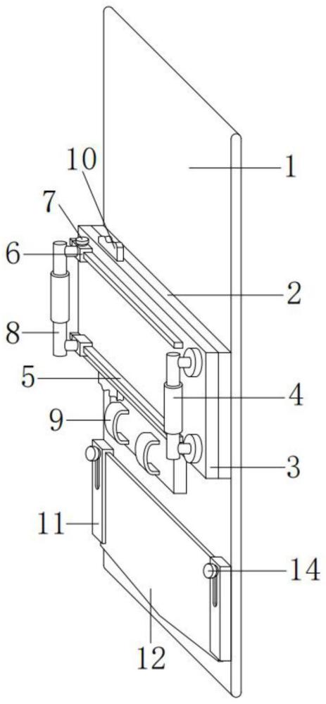
2、本实用新型解决其技术问题所采用的技术方案是:一种警用防爆盾牌,包括防爆盾牌、缓冲垫片和支撑件,所述防爆盾牌的左侧设置有缓冲垫片,所述缓冲垫片的左侧设置有支撑件,所述支撑件贯穿缓冲垫片与防爆盾牌相连接,所述支撑件的左侧设置有两个滑板,所述滑板的外壁设置有可滑动的滑动件,所述滑动件的内部设置有第一固定件,所述滑动件的前表面设置有第二手持件,所述防爆盾牌的左侧底端设置有击打组件。
3、进一步,所述支撑件的左侧底端设置有两个第一绑带,所述支撑件的外壁设置有第二绑带。
4、进一步,所述第一绑带和第二绑带均选用带有魔术贴的尼龙绑带。
5、进一步,所述滑板的两侧内部均设置有用于提供第一固定件固定的通孔。
6、进一步,所述击打组件包括限位件,所述限位件对称设置在防爆盾牌的内侧,所述限位件的内部设置有可调节的击打件,所述击打件的外壁两侧设置有滑块,所述滑块的外壁设置有用于固定的第二固定件。
7、进一步,所述限位件的内部设置有用于滑块滑动的条形滑槽。
8、进一步,所述滑块靠近第二固定件的一端设置有螺纹,用于对第二固定件进行安装。
9、本实用新型的有益效果是:本实用新型设置一种警用防爆盾牌:
10、1.提供有效的缓冲保护:通过在防爆盾牌的左侧设置缓冲垫片和支撑件,可以在防爆过程中对盾牌受到的冲击进行缓冲处理,提高了使用者的安全性。
11、2.便于手持操作:第一手持件和第二手持件,以及滑动件的调节功能,使得用户可以根据需要进行单手或双手操作,增加了盾牌的灵活性和便捷性。
12、3.应急破窗和击打功能:击打组件包括限位件和可滑动的击打件,能够在必要时进行窗户破坏或其他击打工作,满足特殊情况下的应急需求。
13、4.多功能绑带设计:通过第一绑带和第二绑带,可以方便地固定警棍并在单手操作时固定手臂,提高了携带和使用的便利性。
14、5.结构稳固且易调节:滑动件、滑块和固定件等结构设计使得整个装置更加稳固耐用,并且易于调节和固定,满足不同使用场景下的需求。
15、总的来说,这种警用防爆盾牌设计考虑周全,既保证了防爆和防护的功能,又提高了使用的便捷性和灵活性,同时,通过配备应急击打组件和多功能绑带设计,进一步提升了其实用性和适用范围,为警务工作和安全防护提供了全面的保障。
技术特征:
1.一种警用防爆盾牌,包括防爆盾牌(1)、缓冲垫片(2)和支撑件(3),所述防爆盾牌(1)的左侧设置有缓冲垫片(2),所述缓冲垫片(2)的左侧设置有支撑件(3),所述支撑件(3)贯穿缓冲垫片(2)与防爆盾牌(1)相连接,其特征在于,所述支撑件(3)的左侧设置有两个滑板(5),所述滑板(5)的外壁设置有可滑动的滑动件(6),所述滑动件(6)的内部设置有第一固定件(7),所述滑动件(6)的前表面设置有第二手持件(8),所述防爆盾牌(1)的左侧底端设置有击打组件。
2.根据权利要求1所述的一种警用防爆盾牌,其特征在于:所述支撑件(3)的左侧底端设置有两个第一绑带(9),所述支撑件(3)的外壁设置有第二绑带(10)。
3.根据权利要求2所述的一种警用防爆盾牌,其特征在于:所述第一绑带(9)和第二绑带(10)均选用带有魔术贴的尼龙绑带。
4.根据权利要求1所述的一种警用防爆盾牌,其特征在于:所述滑板(5)的两侧内部均设置有用于提供第一固定件(7)固定的通孔。
5.根据权利要求1所述的一种警用防爆盾牌,其特征在于:所述击打组件包括限位件(11),所述限位件(11)对称设置在防爆盾牌(1)的内侧,所述限位件(11)的内部设置有可调节的击打件(12),所述击打件(12)的外壁两侧设置有滑块(13),所述滑块(13)的外壁设置有用于固定的第二固定件(14)。
6.根据权利要求5所述的一种警用防爆盾牌,其特征在于:所述限位件(11)的内部设置有用于滑块(13)滑动的条形滑槽。
7.根据权利要求5所述的一种警用防爆盾牌,其特征在于:所述滑块(13)靠近第二固定件(14)的一端设置有螺纹,用于对第二固定件(14)进行安装。
技术总结
本技术公开了一种警用防爆盾牌,包括防爆盾牌、缓冲垫片和支撑件,所述防爆盾牌的左侧设置有缓冲垫片,所述缓冲垫片的左侧设置有支撑件,所述支撑件贯穿缓冲垫片与防爆盾牌相连接,所述支撑件的左侧设置有两个滑板,所述滑板的外壁设置有可滑动的滑动件,所述滑动件的内部设置有第一固定件,所述滑动件的前表面设置有第二手持件,所述防爆盾牌的左侧底端设置有击打组件。应急破窗和击打功能:击打组件包括限位件和可滑动的击打件,能够在必要时进行窗户破坏或其他击打工作,满足特殊情况下的应急需求,多功能绑带设计:通过第一绑带和第二绑带,可以方便地固定警棍并在单手操作时固定手臂,提高了携带和使用的便利性。
技术研发人员:邵士锦
受保护的技术使用者:辽宁锦安鸿诚安全防范技术有限公司
技术研发日:20240229
技术公布日:2024/9/2
技术研发人员:邵士锦
技术所有人:辽宁锦安鸿诚安全防范技术有限公司
备 注:该技术已申请专利,仅供学习研究,如用于商业用途,请联系技术所有人。
声 明 :此信息收集于网络,如果你是此专利的发明人不想本网站收录此信息请联系我们,我们会在第一时间删除
