一种纺织加工用纺织布湿润机构及其使用方法与流程

本发明涉及纺织布湿润机构设备,具体为一种纺织加工用纺织布湿润机构及其使用方法。
背景技术:
1、纺织加工中,湿润机构用于给纺织布料添加适量的水分,以实现染色、整理、烘干等后续工艺的顺利进行,湿润机构广泛应用于纺织工业的染色、整理、烘干等环节,确保布料在加工过程中保持适当的湿润度,以提高染色均匀性、色牢度和整理效果,同时也有助于减少静电产生和纤维损坏。
2、在进行湿润的过程中,布料可能会因为受到湿润剂中水分的影响而发生变形,例如扭曲、褶皱、变形或者波浪状,这可能会导致布料的外观和尺寸不稳定,影响后续的加工和使用,针对以上问题,提出下列方案。
技术实现思路
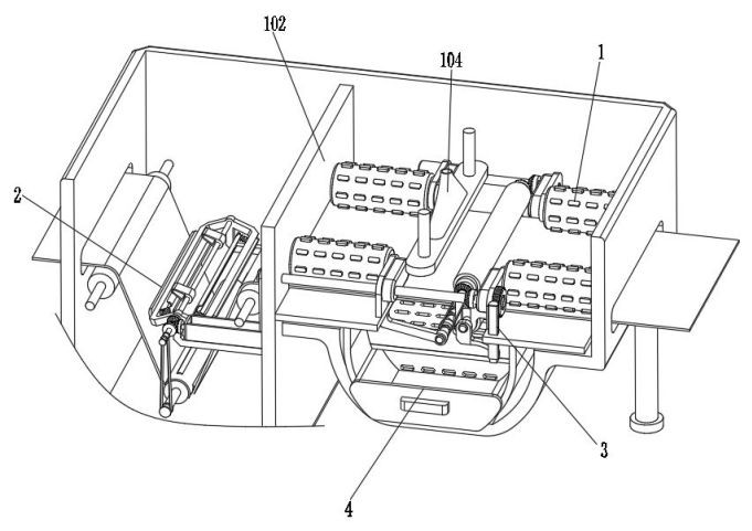
1、为解决上述技术问题,本发明提供一种纺织加工用纺织布湿润机构,包括侧拉组件,侧拉组件包括外壳,外壳内壁固定连接有隔板,外壳内壁固定连接有支撑板,还包括:
2、清灰组件,清灰组件包括固定连接在隔板左侧的支撑架,支撑架内壁转动连接有齿轮杆四,齿轮杆四右侧啮合连接有齿轮杆五;
3、挤压组件,挤压组件包括滑动连接在支撑板内壁的齿条,齿条底部固定连接有连接杆,连接杆内壁固定连接有固定杆一;
4、回收组件,回收组件包括固定连接在支撑板底部的固定杆二,固定杆二内壁转动连接有往复丝杆,往复丝杆外表面接触有皮带三。
5、优选的,外壳内部设置有纺织布,支撑板顶部与纺织布底部接触,外壳内壁顶部固定连接有喷头,支撑板左侧固定连接有电机,电机输出端固定连接有齿轮杆一,齿轮杆一外表面接触有皮带一,支撑板内壁转动连接有侧拉辊,侧拉辊与齿轮杆一通过皮带一传动连接,侧拉辊外表面与支撑板内壁转动连接,通过设置侧拉辊,可带动拉块通过摩擦力对纺织布进行拉伸。
6、优选的,侧拉辊内壁滑动连接有拉块,拉块在靠近侧拉辊中心轴的一侧固定连接有弹簧一,弹簧一在远离拉块的一端与侧拉辊内壁固定连接,齿轮杆一正面啮合连接有齿轮杆二,齿轮杆二正面啮合连接有齿轮杆三,齿轮杆三外表面与支撑板内壁转动连接,齿轮杆三外表面与隔板内壁转动连接,齿轮杆三外表面也接触有皮带一,通过设置弹簧一,通过其的弹力使拉块与纺织布紧贴,以提高二者间摩擦力。
7、优选的,齿轮杆三外表面接触有皮带二,支撑板内壁与齿轮杆五外表面转动连接,支撑架内壁滑动连接有拍打板,拍打板外表面套接有弹簧二,弹簧二在靠近齿轮杆四的一端固定连接有弧形板,弹簧二在远离齿轮杆四的一端与支撑架内壁固定连接,齿轮杆四外表面固定连接有凸块,外壳内壁分别转动连接有转动套杆一和从动辊,从动辊外表面与纺织布表面接触,通过设置拍打板,可通过击打纺织布而产生的振动将附着在其表面的灰尘等杂物震落。
8、转动套杆一外表面固定连接有除尘辊,除尘辊内壁转动连接有橡胶辊,除尘辊内壁固定连接有集料通道,集料通道外表面分别固定连接有挡块和刮块,刮块外表面与橡胶辊外表面接触,集料通道内壁啮合连接有小齿轮,小齿轮底部啮合连接有转动套杆二,转动套杆二外表面分别固定连接有挡板和螺旋叶,除尘辊背面开设有排灰口,转动套杆一外表面接触有皮带,外壳内壁转动连接有齿轮杆六,齿轮杆六外表面与皮带内壁接触,转动套杆一与齿轮杆六通过皮带传动连接,齿轮杆六背面与齿轮杆五正面啮合连接,转动套杆二内壁转动连接有固定杆,固定杆外表面与外壳内壁固定连接,转动套杆一内壁与固定杆外表面转动连接,通过设置挡块,可阻碍结块的灰尘从集料通道中掉出。
9、优选的,固定杆一外表面转动连接有套辊一,固定杆一外表面滑动连接有固定架,齿轮杆二外表面与固定架内壁转动连接,齿轮杆二外表面转动连接有套辊二,齿轮杆三外表面固定连接有固定环,固定环内壁滑动连接有摩擦块,通过设置套辊一和套辊二,可通过二者对纺织布的挤压作用,将其表面的湿润剂压入内部。
10、优选的,固定环外表面转动连接有套环,套环内壁转动连接有卡块,卡块在靠近固定环的一侧固定连接有弹簧三,弹簧三在远离卡块的一侧与套环内壁固定连接,套环右侧转动连接有连接环,连接环左侧转动连接有齿环,齿环正面与齿条啮合连接,齿环内壁固定连接有凸出块,通过设置卡块,可在套环转动时利用离心力使卡块转动,进而使套环可带动齿环转动。
11、优选的,往复丝杆与齿轮杆二通过皮带三传动连接,往复丝杆外表面螺纹连接有清理板,清理板底部接触有滤板,滤板外表面固定连接有固定弧板,清理板外表面与固定弧板内壁滑动连接,固定弧板顶部与支撑板底部固定连接,固定弧板内壁滑动连接有收集盒,固定弧板底部开设有出液孔,出液孔贯穿固定弧板与外壳底部,收集盒外表面与外壳内壁滑动连接,通过设置滤板,可对湿润剂中杂质或纤维残留进行过滤。
12、一种纺织加工用纺织布湿润机构的使用方法,包括以下几个步骤:
13、s1:在使用本装置时,先将本装置安装在纺织加工线中,并使纺织布按图所示穿过本装置,对喷头进行供给湿润剂,同时启动电机转动,以通过拉块对纺织布的两侧进行拉伸;
14、s2:齿轮杆四会带动凸块推动左右拍打板,进而使两个拍打板持续击打纺织布,掉落的灰尘会被橡胶辊收集,由螺旋叶排出,齿条会上升带动固定杆一与套辊一一并上升,对纺织布进行夹持挤压;
15、s3:由喷头喷洒出未被吸收的湿润剂以及被挤压组件压出的多余湿润剂会通过滤板落在固定弧板上,并通过固定弧板底部开设的出液孔排出,工作人员可将排出的湿润剂进行回收再利用。
16、本发明具有以下有益效果:
17、本发明通过设置拉块,利用其与纺织布的摩擦力以将纺织布向两侧拉动,防止纺织布发生褶皱影响湿润效果,具体是启动电机带动齿轮杆一转动,齿轮杆一会通过齿轮杆二带动齿轮杆三进行转动,齿轮杆一与齿轮杆三分别通过两个皮带一带动两个侧拉辊进行转动,且正面一侧的两个侧拉辊与背面一侧的两个侧拉辊旋转方向相反,侧拉辊在转动时会使拉块与纺织布表面接触,随着侧拉辊继续转动,拉块会压缩弹簧一并通过弹簧一的弹力使拉块与纺织布紧密接触,接着随着四个侧拉辊的转动,拉块会通过摩擦力对纺织布的两侧进行拉伸,其中左侧的两个侧拉辊对纺织布两侧进行拉伸,可防止由于清灰组件的拍打作用,导致纺织布发生褶皱的情况,右侧两个侧拉辊的拉伸作用是为防止纺织布在湿润的过程中受到水分的影响而发生形变,导致产生缩水褶皱的现象,此种设计可对纺织布的两侧进行拉伸,可防止纺织布在传送的过程中发生褶皱影响湿润的同时,还可防止纺织布因为受到湿润过程中水分的影响而发生变形,致使在湿润过程中湿润不均匀,导致布料的外观和尺寸不稳定,影响后续的加工和使用。
18、本发明齿轮杆三在转动的同时还会通过皮带二带动齿轮杆五进行转动,齿轮杆五会带动齿轮杆四进行转动,齿轮杆四会带动固定在其外表面的凸块,凸块在转动的过程中会分别间歇性的推动左右两侧的弧形板,弧形板被推动会压缩弹簧二并推动拍打板,拍打板被推动最终会击打在纺织布的表面,随着齿轮杆四的持续转动,两个拍打板也会持续击打纺织布,以通过击打纺织布而产生的振动将附着在其表面的灰尘等杂物震落,此种设计可通过拍打纺织布,以将灰尘和杂质清除,防止在布料上存在大量灰尘和杂质会阻碍湿润剂的均匀渗透,使湿润剂难以渗透到布料纤维中,从而降低湿润效果。
19、齿轮杆五在转动的过程中,其会通过齿轮杆六与皮带带动转动套杆一进行逆时针转动,转动套杆一会带动除尘辊进行逆时针转动,除尘辊在转动时会带动橡胶辊一并进行转动,待橡胶辊转动至与纺织布接触时,由于除尘辊转动速度大于纺织布传送的速度,故橡胶辊会因为与纺织布之间的摩擦力进行顺时针转动,橡胶辊在纺织布的表面进行转动时会将落在v字形布料内侧底部的灰尘进行吸附,被吸附的灰尘随着橡胶辊一并进行转动,当灰尘移动至与刮块接触时,刮块会将橡胶辊上附着的灰尘挂除,刮除的灰尘会首先在刮除处进行积累结块,当灰尘积累至一定程度后,由于重力结块后的灰尘会掉落至集料通道中,除尘辊在转动的同时会通过集料通道带动小齿轮进行转动,小齿轮会带动转动套杆二进行转动,转动套杆二在转动时会带动螺旋叶进行转动,螺旋叶转动会将落入集料通道中的灰尘向背面输送,直至灰尘从排灰口处排出,其中在集料通道转动的过程中,灰尘会由于重力重新掉落在橡胶辊的表面,挡块可阻碍结块的灰尘从集料通道中掉出,随着集料通道继续进行转动,灰尘又会由于重力重新落入集料通道中,并继续被螺旋叶向背面输送,因此,灰尘总会被螺旋叶向背面输送,此种设计可将落在v字形布料内侧底部的灰尘进行收集并排出,防止灰尘逐渐在纺织布上积累增多,对后续传输的布料进行污染。
20、本发明齿轮杆三在转动时还会带动固定环进行转动,固定环在转动的过程中摩擦块会由于离心力的作用被向外侧甩出,被甩出的摩擦块会与套环内壁紧密接触,从而利用摩擦力带动套环进行转动,套环在转动时同样是离心力给予卡块一个向外侧的力,该力会使卡块转动并拉伸弹簧三,卡块转动后会与齿环内壁固定连接的凸出块接触并进行啮合,从而通过卡块带动凸出块进行转动,进而带动齿环进行转动,齿环转动会带动齿条上升,齿条上升会通过连接杆带动固定杆一与套辊一一并上升,通过上升的力并与套辊二的配合作用对纺织布进行夹持挤压,由于套辊一对纺织布进行挤压时无法再继续上升,故齿条也无法再继续上升,此时由于齿环与齿条的啮合作用,齿环会被卡住而无法进行转动,而由于卡块与凸出块的啮合作用,套环也会被卡住而无法再继续转动,此时仅有固定环能够克服摩擦块与套环内壁间产生的摩擦力,独自进行转动,进而实现齿轮杆三在转动时,使套辊一上升对纺织布进行挤压,而在套辊一移动至无法再上升时,齿轮杆三也不会被卡死而使装置无法进行运转,当电机停止运行时,卡块会在弹簧三的作用下复位,此时齿环可自由转动,套辊一可由于自身重力通过齿条带动齿环反转,以使套辊一掉落,此种设计可通过对纺织布的挤压作用,将其表面的湿润剂压入内部,以促进湿润剂在布料纤维之间均匀分布,进而确保湿润剂充分渗透到布料的每一部分,提高湿润效果。
21、本发明由喷头喷洒出未被吸收的湿润剂以及被挤压组件压出的多余湿润剂会通过滤板落在固定弧板上,并通过固定弧板底部开设的出液孔排出,工作人员可将排出的湿润剂进行回收再利用,且齿轮杆二在转动时还会通过皮带三带动往复丝杆进行转动,往复丝杆会带动清理板在滤板顶部进行往复运动,以将由滤板过滤出的杂物推入收集盒中,落入收集盒中的除了杂物还会包含少量的湿润剂,湿润剂可从收集盒内壁开设的通孔处重新排入固定弧板中,工作人员可通过拉出收集盒以将过滤出的杂物进行清理,此种设计对湿润剂进行回收利用,提高资源利用率,同时通过设置滤板,可对湿润剂中杂质或纤维残留进行过滤,防止其在回收利用时堵塞喷头,导致喷水不畅或者停止,影响湿润效果。
技术研发人员:杨海天
技术所有人:江苏红金顶织造有限公司
备 注:该技术已申请专利,仅供学习研究,如用于商业用途,请联系技术所有人。
声 明 :此信息收集于网络,如果你是此专利的发明人不想本网站收录此信息请联系我们,我们会在第一时间删除
