一种水利生态保护坡排水结构的制作方法

本发明涉及一种水利生态保护坡排水结构领域,尤其涉及一种水利生态保护坡排水结构。
背景技术:
1、水利生态保护坡是指开挖边坡形成以后,通过种植植物,利用植物与岩、土体的相互作用对边坡表层进行防护、加固,使之既能满足对边坡表层稳定的要求,又能恢复被破坏的自然生态环境的水利设施。
2、现有的坡体排水渠是没有对树叶和一些杂质进行过滤的结构,由于排水渠在进行排水时会有一些树叶和杂质会存留在排水渠的内部,在进行清理时较为不便,无法将树叶和杂质一同在排水渠的内部一同取出,会影响排水渠的排水情况。
技术实现思路
1、本发明的目的是为了解决现有技术中存在的缺点,而提出的一种水利生态保护坡排水结构。
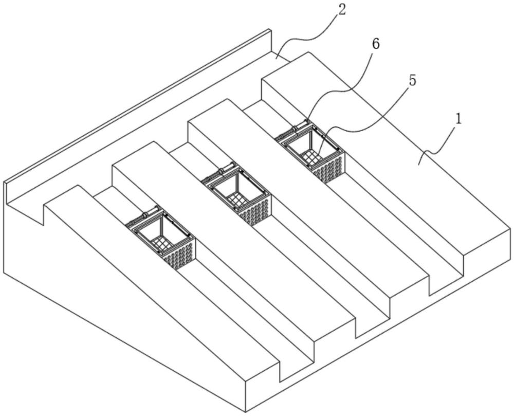
2、为实现上述目的,本发明提供了如下技术方案:一种水利生态保护坡排水结构,包括坡体,所述坡体的顶部设置有排水渠,所述排水渠的内部设置有支撑架,所述支撑架的内部设置有过滤机构,所述支撑架的一侧设置有固定机构;
3、所述过滤机构包括定位架、过滤网、定位杆、固定杆和弹簧,所述定位架设置在支撑架的内部,所述定位杆的一侧延申至固定杆的内部,所述弹簧的一侧与定位杆的内部固定连接,所述弹簧的另一侧与固定杆的内部固定连接,所述固定杆的一侧与定位架固定连接,所述过滤网设置在定位架的内部。
4、优选的,所述固定机构包括螺套、螺杆、把套、定位块和固定块,所述定位块的内部与螺杆转动连接,所述螺杆的一侧与螺套的内部螺纹连接,所述把套固定在螺杆的表面,所述固定块设置在螺套的一侧。
5、优选的,所述支撑架的一侧固定连接有连接块,所述连接块的一侧固定连接有套环,所述套环固定在螺套的表面。
6、优选的,所述定位杆的顶部固定连接有拉环,所述定位架的顶部固定连接有把手。
7、优选的,所述支撑架的一侧开设有插孔,所述定位杆延申至插孔的内部。
8、优选的,所述支撑架的一侧开设有通孔,所述通孔的数量为若干个。
9、本发明具有如下有益效果:
10、本发明中通过设置过滤机构,排水渠内部的水流中参杂着的树叶会流入到定位架内部的过滤网中,可以对树叶残渣起到了阻挡和收集的作用,避免了在对排水渠内部中的树叶进行收集时带来不便,方便了对树叶的收集,在需要将定位架内部的树叶取出时,将定位杆收回至固定杆的内部,弹簧进行回收,可以将定位架在支撑架的内部取出,方便了将树叶在定位架内部取出。
11、本发明中通过设置固定机构,转动把套带动螺杆进行移动,螺杆可以转动至螺套的内部,可以将定位块和固定块分别卡设在排水渠内壁的两侧,可以对定位架起到了固定的作用,方便了对排水渠内部的树叶进行收集的作用。
技术特征:
1.一种水利生态保护坡排水结构,包括坡体(1),其特征在于:所述坡体(1)的顶部设置有排水渠(2),所述排水渠(2)的内部设置有支撑架(3),所述支撑架(3)的内部设置有过滤机构(5),所述支撑架(3)的一侧设置有固定机构(6);
2.根据权利要求1所述的一种水利生态保护坡排水结构,其特征在于:所述固定机构(6)包括螺套(601)、螺杆(602)、把套(603)、定位块(604)和固定块(605),所述定位块(604)的内部与螺杆(602)转动连接,所述螺杆(602)的一侧与螺套(601)的内部螺纹连接,所述把套(603)固定在螺杆(602)的表面,所述固定块(605)设置在螺套(601)的一侧。
3.根据权利要求1所述的一种水利生态保护坡排水结构,其特征在于:所述支撑架(3)的一侧固定连接有连接块(4),所述连接块(4)的一侧固定连接有套环(7),所述套环(7)固定在螺套(601)的表面。
4.根据权利要求1所述的一种水利生态保护坡排水结构,其特征在于:所述定位杆(503)的顶部固定连接有拉环(8),所述定位架(501)的顶部固定连接有把手(9)。
5.根据权利要求3所述的一种水利生态保护坡排水结构,其特征在于:所述支撑架(3)的一侧开设有插孔(10),所述定位杆(503)延申至插孔(10)的内部。
技术总结
本发明涉及一种水利生态保护坡排水结构领域,公开了一种水利生态保护坡排水结构,包括坡体,所述坡体的顶部设置有排水渠,所述排水渠的内部设置有支撑架,所述支撑架的内部设置有过滤机构,所述支撑架的一侧设置有固定机构,本发明的有益效果在于,通过设置过滤机构,排水渠内部的水流中参杂着的树叶会流入到定位架内部的过滤网中,可以对树叶残渣起到了阻挡和收集的作用,避免了在对排水渠内部中的树叶进行收集时带来不便,方便了对树叶的收集,在需要将定位架内部的树叶取出时,将定位杆收回至固定杆的内部,弹簧进行回收,可以将定位架在支撑架的内部取出,方便了将树叶在定位架内部取出。
技术研发人员:谭立海,张红星,路福田,魏辉,郭辰,张立英,贾蓉,安志山,包爱科
受保护的技术使用者:华能陕西靖边电力有限公司
技术研发日:
技术公布日:2024/9/2
技术研发人员:谭立海,张红星,路福田,魏辉,郭辰,张立英,贾蓉,安志山,包爱科
技术所有人:华能陕西靖边电力有限公司
备 注:该技术已申请专利,仅供学习研究,如用于商业用途,请联系技术所有人。
声 明 :此信息收集于网络,如果你是此专利的发明人不想本网站收录此信息请联系我们,我们会在第一时间删除
