一种矿山边坡生态修复施工装置的制作方法

本发明涉及生态修复,具体为一种矿山边坡生态修复施工装置。
背景技术:
1、矿产资源是现代工业发展的基石,在经济发展中起着极为重要的作用,为促进我国经济的发展,在过去我国对境内的各类矿产资源进行了大规模的开采。但是,由于技术和资金的限制很多的矿区在开采过程中以破坏性的开采方式为主,致使当地的生态环境尤其是矿区环境遭到了不可逆转的破坏。随着民众环保意识的增强与生态建设的需要,各矿区都积极开展了矿区废弃土地的生态修复,通过对矿山废弃土地进行生态修复和土地复垦,用以重构矿山废弃土地的生态环境。
2、现有的边坡生态修复常常用植生袋建植防护的边坡,在格构梁的格框内堆放植生袋,使得在边坡面上,形成了格构梁内垒砌植生袋,垒砌后的植生袋通常没有锚固,导致前期生长的根系还没有与植生袋结合时,容易滑落滑坡,导致后期还需再次补填;针对目前的生态修复使用过程中所暴露的问题,有必要对生态修复进行结构上的改进与优化。
3、基于此,本方案提出了一种矿山边坡生态修复施工装置。
技术实现思路
1、本发明的目的在于提供一种矿山边坡生态修复施工装置,以解决上述背景技术中提出的问题。
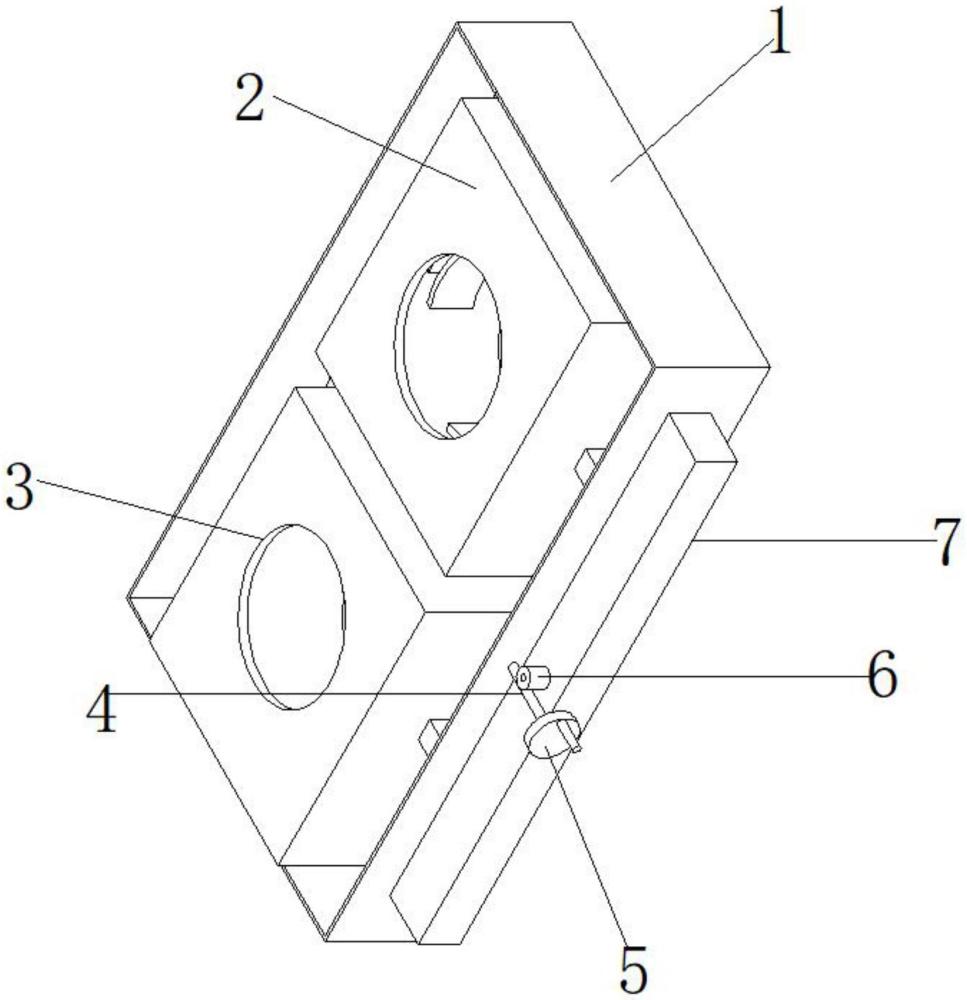
2、为实现上述目的,本发明提供如下技术方案:一种矿山边坡生态修复施工装置,包括安装架,
3、所述安装架内固定安装有两个第一滑杆且安装架的一侧固定安装有操作杆,两个第一滑杆上均滑动套接有两个滑套,位于同一侧的两个滑套之间固定安装有同一个定位箱,相对应的两个滑套上均固定安装有位于操作杆内的齿条;
4、所述操作杆内转动安装有转轴,转轴的两端分别固定套接有齿轮与蜗轮,安装架上转动安装有与蜗轮啮合的蜗杆;
5、两个定位箱的顶部与底部均开设有种植孔且两个定位箱内均转动安装有转动环,两个转动环的外侧均固定套接有联动齿轮且两个转动环的内侧均等距离固定安装有三个挤压块;
6、两个定位箱内均等距离固定安装有三个金属板,任意一个金属板上均开设有通孔,任意一个通孔内均活动安装有金属杆,任意一个金属杆的两端内均固定安装有夹紧板与滚轮;
7、两个定位箱内均固定安装有第二滑杆,两个第二滑杆上均套接有联动齿条,两个联动齿条分别与对应的联动齿轮啮合,两个定位箱的一侧均螺纹安装有锁紧螺栓,两个锁紧螺栓的一端分别与对应的联动齿条啮合。
8、优选的,所述蜗杆的一端固定套接有摇把。
9、采用上述技术方案,通过摇把便于转动蜗杆。
10、优选的,相对应的两个滑套之间固定套接有同一个第一弹簧。
11、采用上述技术方案,通过第一弹簧便于滑套的复位。
12、优选的,两个锁紧螺栓的一端均固定套接有旋钮。
13、采用上述技术方案,通过旋钮便于转动锁紧螺栓。
14、优选的,两个第二滑杆上均套接有第二弹簧,两个第二弹簧的一端固定在对应的第二滑杆上,两个第二弹簧的另一端固定在对应的联动齿条上。
15、采用上述技术方案,通过第二弹簧便于联动齿条的复位。
16、优选的,任意一个金属杆上均套接有第三弹簧,任意一个第三弹簧的一端固定在对应的金属杆上,任意一个第三弹簧的另一端固定在对应的通孔内壁上。
17、采用上述技术方案,通过第三弹簧便于金属杆的复位。
18、优选的,所述夹紧板上固定安装有防护垫。
19、一种矿山边坡生态修复施工装置,包括如下施工步骤:
20、步骤s1:首先将装置固定在边坡上,然后通过转动摇把带动了蜗杆的转动,蜗杆带动了蜗轮的转动,即可带动了齿轮的转动,齿轮带动了两个齿条的相向移动,即可带动了两个定位箱的相向移动,或者通过反向转动摇把,即可带动了两个定位箱向着相反的方向移动,即可对两个定位箱之间的距离进行调节,便于种植不同大小的植物;
21、步骤s2:然后通过将培育植物的植生袋放置在对应的种植孔中,然后通过向外旋出旋钮带动了锁紧螺栓向外旋出,即可带动了联动齿条向外移动;
22、步骤s3:联动齿条带动了对应的联动齿轮与转动环的转动,即可带动了对应的三个挤压块的转动,三个挤压块挤压了对应的滚轮,即可带动了对应的三个夹紧板的同时向内移动,即可将植生袋进行夹紧固定
23、与现有技术相比,本发明的有益效果是:首先将装置固定在边坡上,然后通过转动摇把带动了蜗杆的转动,蜗杆带动了蜗轮的转动,即可带动了齿轮的转动,齿轮带动了两个齿条的相向移动,即可带动了两个定位箱的相向移动,或者通过反向转动摇把,即可带动了两个定位箱的向着相反的方向移动,即可对两个定位箱之间的距离进行调节,便于种植不同大小的植物,然后通过将培育植物的植生袋放置在对应的种植孔中,然后通过向外旋出旋钮带动了锁紧螺栓的向外旋出,即可带动了联动齿条的向外移动,联动齿条带动了对应的联动齿轮与转动环的转动,即可带动了对应的三个挤压块的转动,三个挤压块挤压了对应的滚轮,即可带动了对应的三个夹紧板的同时向内移动,即可将植生袋进行夹紧固定。本发明结构简单、使用方便,所述的一种矿山边坡生态修复施工装置,解决了现有的边坡生态修复常常用植生袋建植防护的边坡,在格构梁的格框内堆放植生袋,使得在边坡面上,形成了格构梁内垒砌植生袋,垒砌后的植生袋通常没有锚固,导致前期生长的根系还没有与植生袋结合时,容易滑落滑坡,导致后期还需再次补填的问题。
技术特征:
1.一种矿山边坡生态修复施工装置,包括安装架(1),其特征在于:
2.根据权利要求1所述的一种矿山边坡生态修复施工装置,其特征在于:所述蜗杆(4)的一端固定套接有摇把(5)。
3.根据权利要求1所述的一种矿山边坡生态修复施工装置,其特征在于:相对应的两个滑套(9)之间固定套接有同一个第一弹簧(10)。
4.根据权利要求1所述的一种矿山边坡生态修复施工装置,其特征在于:两个锁紧螺栓(14)的一端均固定套接有旋钮(11)。
5.根据权利要求1所述的一种矿山边坡生态修复施工装置,其特征在于:两个第二滑杆(24)上均套接有第二弹簧(16),两个第二弹簧(16)的一端固定在对应的第二滑杆(24)上,两个第二弹簧(16)的另一端固定在对应的联动齿条(15)上。
6.根据权利要求1所述的一种矿山边坡生态修复施工装置,其特征在于:任意一个金属杆上均套接有第三弹簧(20),任意一个第三弹簧(20)的一端固定在对应的金属杆上,任意一个第三弹簧(20)的另一端固定在对应的通孔内壁上。
7.根据权利要求1所述的一种矿山边坡生态修复施工装置,其特征在于:所述夹紧板(19)上固定安装有防护垫。
8.根据权利要求1所述的一种矿山边坡生态修复施工装置,其特征在于:包括如下施工步骤:
技术总结
本发明公开了一种矿山边坡生态修复施工装置,包括安装架,所述安装架内固定安装有两个第一滑杆且安装架的一侧固定安装有操作杆,两个第一滑杆上均滑动套接有两个滑套,位于同一侧的两个滑套之间固定安装有同一个定位箱,相对应的两个滑套上均固定安装有位于操作杆内的齿条。本发明结构简单、使用方便,所述的一种矿山边坡生态修复施工装置,解决了现有的边坡生态修复常常用植生袋建植防护的边坡,在格构梁的格框内堆放植生袋,使得在边坡面上,形成了格构梁内垒砌植生袋,垒砌后的植生袋通常没有锚固,导致前期生长的根系还没有与植生袋结合时,容易滑落滑坡,导致后期还需再次补填的问题。
技术研发人员:房志敏,贺斌,贺再求,关天宇,刘亚宾
受保护的技术使用者:明达海洋工程有限公司
技术研发日:
技术公布日:2024/9/2
技术研发人员:房志敏,贺斌,贺再求,关天宇,刘亚宾
技术所有人:明达海洋工程有限公司
备 注:该技术已申请专利,仅供学习研究,如用于商业用途,请联系技术所有人。
声 明 :此信息收集于网络,如果你是此专利的发明人不想本网站收录此信息请联系我们,我们会在第一时间删除
