一种空心胶囊缺陷智能分析装置

本发明涉及胶囊缺陷分析,特别是涉及一种空心胶囊缺陷智能分析装置。
背景技术:
1、
2、公开号为cn203417865u的中国专利公开了一种胶囊缺陷自动评选装置,包括转盘式胶囊送料装置和胶囊评选装置。转盘式胶囊送料装置包括送料转盘,送料转盘上设有用于存放胶囊的孔位,且送料转盘的转轴上设有触发齿盘。胶囊评选装置包括工业控制机、与工业控制机相连的控制电路板、与控制电路板通过相连的高速工业相机、与触发齿盘对应设置并与控制电路板电连接的光纤放大器,以及均与控制电路板电连接的嵌入式控制电路板和用于剔除缺陷胶囊的剔除装置;嵌入式控制电路板安装在送料转盘的转轴上,高速工业相机安装在送料转盘的上方并采集胶囊的图像信息,工业控制机接收来自高速工业相机的图像信息、来自光纤放大器和嵌入式控制电路板的位置信息,并向剔除装置发出控制指令。
3、然后现有胶囊缺陷智能分析装置检测效率低,稳定性较差,导致胶囊的个体差异明显增大,且现有胶囊缺陷智能分析装置检测的速度较慢,不能有效地帮助胶囊生产企业提高质量,同时现有胶囊缺陷智能分析装置体积较大,重量较重,不便于维护和升级,也与胶囊生产厂家生产车间的兼容性较差。
技术实现思路
1、为了解决以上技术问题,本发明提供一种空心胶囊缺陷智能分析装置,包括支架,支架上设有用于检测胶囊颜色是否正确以及胶囊是否存在缺陷的检测机构,还设有用于将胶囊输送至检测机构内进行检测的传输机构,传输机构上方连接有储料仓;
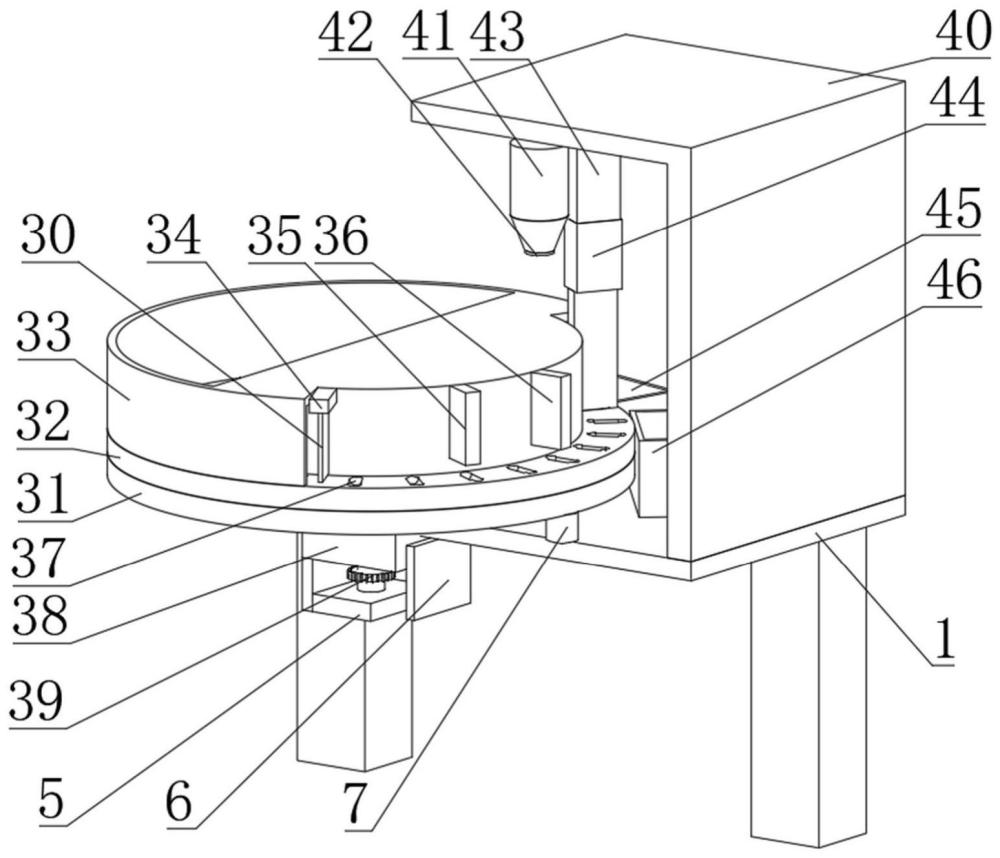
2、传输机构包括与储料仓相连通的上料舱,上料舱的圆周侧面上沿逆时针方向依次间隔设有料仓出口、用于避免上料舱内胶囊通过料仓出口漏出的格挡组件、颜色检测模块以及缺陷检测模块;上料舱底部同轴抵触连接有沿逆时针方向转动的下料板,下料板的上端沿自身圆周方向等间距间隔开设有若干与胶囊形状相匹配的胶囊槽,胶囊进入胶囊槽后通过下料板的转动依次转至颜色检测模块以及缺陷检测模块的正下方;
3、检测机构包括设于传输机构侧边的废品库和合格品库、剔除收集模块以及设于胶囊槽上方用于拍摄待检测胶囊的工业相机,剔除收集模块用于将颜色不正确和存在缺陷的胶囊移至废品库,同时用于将合格的胶囊移至合格品库;
4、支架下侧设有用于驱动下料板逆时针转动的触发齿轮和控制电路板,控制电路板与工业控制机电性连接用于驱动触发齿轮,工业相机配合颜色检测模块对胶囊的颜色进行检测并将数据传输给工业控制机,工业相机配合缺陷检测模块对胶囊的缺陷进行检测并将数据传输给工业控制机,工业控制机根据胶囊是否合格控制剔除收集模块将胶囊移至废品库或者合格品库中。
5、本发明进一步限定的技术方案是:
6、进一步的,储料仓与检测机构设于传输机构沿支架长度方向的两侧,储料仓的上端沿支架宽度方向对称开设有两个间隔的入料口,且储料仓的长宽都大于上料舱的直径。
7、如前所述的一种空心胶囊缺陷智能分析装置,胶囊槽沿竖直方向贯穿于下料板,传输机构还包括设于支架与下料板之间的透明圆板,透明圆板抵触于下料板的底面,胶囊位于胶囊槽内时与透明圆板相抵触,支架上还设有位于透明圆板下方的近红外背光源。
8、如前所述的一种空心胶囊缺陷智能分析装置,传输机构还包括固定于支架中间位置处的连接块,连接块的顶部穿过支架与透明圆板连接,触发齿轮设于连接块下方,触发齿轮穿过连接块和透明圆板与下料板固定连接;触发齿轮的一侧设有位于支架底部的光纤放大器。
9、如前所述的一种空心胶囊缺陷智能分析装置,透明圆板、下料板、触发齿轮以及上料舱均同轴设置。
10、如前所述的一种空心胶囊缺陷智能分析装置,格挡组件与工业控制机电性连接,格挡组件包括沿竖直方向设置且堵住料仓出口的拨片,工业控制机控制拨片产生震动。
11、如前所述的一种空心胶囊缺陷智能分析装置,颜色检测模块使用tcs3200d颜色传感器。
12、如前所述的一种空心胶囊缺陷智能分析装置,工业相机的底部镜头处固定有滤光片,工业相机的像素为2000万像素,滤光片的左右波长为850nm。
13、如前所述的一种空心胶囊缺陷智能分析装置,剔除收集模块包括与下料板上表面相抵触的气阀,胶囊进入胶囊槽后通过下料板的转动转至气阀正下方,剔除收集模块与工业控制机电性连接,剔除收集模块响应于工业控制机发出的信号控制气阀将合格的胶囊从胶囊槽中吸至合格品库,将颜色不正确和存在缺陷的胶囊从胶囊槽中吸至废品库。
14、如前所述的一种空心胶囊缺陷智能分析装置,合格品库和废品库的高度设置为小于下料板的高度。
15、本发明的有益效果是:
16、本发明中,通过颜色检测模块和缺陷检测模块,并且结合工业相机,能够对高速运动的胶囊槽实现更为精确的定位;通过近近红外光源从下向上照射待检测胶囊,使得工业相机的图样采集信号输入至工业控制机,从而快速识别不同配色的胶囊,并将其剔除,使得工作效率大大提高;各组件之间联动性较强,且每个功能依次平稳地进行,使得效率更高,检测效果更好。
技术特征:
1.一种空心胶囊缺陷智能分析装置,包括支架(1),其特征在于:所述支架(1)上设有用于检测胶囊颜色是否正确以及胶囊是否存在缺陷的检测机构(4),还设有用于将胶囊输送至检测机构(4)内进行检测的传输机构(3),传输机构(3)上方连接有储料仓(2);
2.根据权利要求1所述的一种空心胶囊缺陷智能分析装置,其特征在于:所述储料仓(2)与检测机构(4)设于传输机构(3)沿支架(1)长度方向的两侧,储料仓(2)的上端沿支架(1)宽度方向对称开设有两个间隔的入料口(21),且储料仓(2)的长宽都大于上料舱(33)的直径。
3.根据权利要求1所述的一种空心胶囊缺陷智能分析装置,其特征在于:所述胶囊槽(37)沿竖直方向贯穿于下料板(32),传输机构(3)还包括设于支架(1)与下料板(32)之间的透明圆板(31),透明圆板(31)抵触于下料板(32)的底面,胶囊位于胶囊槽(37)内时与透明圆板(31)相抵触,支架(1)上还设有位于透明圆板(31)下方的近红外背光源(7)。
4.根据权利要求3所述的一种空心胶囊缺陷智能分析装置,其特征在于:所述传输机构(3)还包括固定于支架(1)中间位置处的连接块(38),连接块(38)的顶部穿过支架(1)与透明圆板(31)连接,触发齿轮(39)设于连接块(38)下方,触发齿轮(39)穿过连接块(38)和透明圆板(31)与下料板(32)固定连接;触发齿轮(39)的一侧设有位于支架(1)底部的光纤放大器(6)。
5.根据权利要求4所述的一种空心胶囊缺陷智能分析装置,其特征在于:所述透明圆板(31)、下料板(32)、触发齿轮(39)以及上料舱(33)均同轴设置。
6.根据权利要求1所述的一种空心胶囊缺陷智能分析装置,其特征在于:所述格挡组件(34)与工业控制机电性连接,格挡组件(34)包括沿竖直方向设置且堵住料仓出口的拨片(30),工业控制机控制拨片(30)产生震动。
7.根据权利要求1所述的一种空心胶囊缺陷智能分析装置,其特征在于:所述颜色检测模块(35)使用tcs3200d颜色传感器。
8.根据权利要求1所述的一种空心胶囊缺陷智能分析装置,其特征在于:所述工业相机(41)的底部镜头处固定有滤光片(42),工业相机(41)的像素为2000万像素,滤光片(42)的左右波长为850nm。
9.根据权利要求1所述的一种空心胶囊缺陷智能分析装置,其特征在于:所述剔除收集模块(44)包括与下料板(32)上表面相抵触的气阀(43),胶囊进入胶囊槽(37)后通过下料板(32)的转动转至气阀(43)正下方,剔除收集模块(44)与工业控制机电性连接,剔除收集模块(44)响应于工业控制机发出的信号控制气阀(43)将合格的胶囊从胶囊槽(37)中吸至合格品库(45),将颜色不正确和存在缺陷的胶囊从胶囊槽(37)中吸至废品库(46)。
10.根据权利要求1所述的一种空心胶囊缺陷智能分析装置,其特征在于:所述合格品库(45)和废品库(46)的高度设置为小于下料板(32)的高度。
技术总结
本发明公开了一种空心胶囊缺陷智能分析装置,涉及胶囊缺陷分析技术领域,包括支架,支架上表面的左端固定连接有储料仓,支架上表面的右端固定连接有检测机构,支架的中部固定连接有传输机构,传输机构包括连接块,连接块的外表面与支架的中部固定连接,连接块的顶部穿过支架固定连接有透明圆板,通过设置的颜色检测模块和缺陷检测模块,并且结合2000万像素的工业相机,能够对高速运动的胶囊槽实现更为精确的定位,通过设置的1300nm近红外光源从下向上照射待检测胶囊,使得工业相机的图样采集信号输入至工业控制机,可快速识别不同配色的胶囊,并将其剔除。
技术研发人员:张宇阳,施佩,叶宇轩,胡哲铭,奚雨韵,刘雨琪
受保护的技术使用者:无锡学院
技术研发日:
技术公布日:2024/9/2
技术研发人员:张宇阳,施佩,叶宇轩,胡哲铭,奚雨韵,刘雨琪
技术所有人:无锡学院
备 注:该技术已申请专利,仅供学习研究,如用于商业用途,请联系技术所有人。
声 明 :此信息收集于网络,如果你是此专利的发明人不想本网站收录此信息请联系我们,我们会在第一时间删除
