一种脱水蔬菜在线筛选设备的制作方法

本发明涉及脱水蔬菜加工设备领域,尤其是指一种脱水蔬菜在线筛选设备。
背景技术:
1、脱水蔬菜,又称复水菜,是将新鲜蔬菜经过洗涤、烘干等加工制作,脱去蔬菜中大部分水分后而制成的干菜。这种加工方式能够使蔬菜原有的色泽和营养成分基本保持不变,既易于贮存和运输,又能有效地延长保质期。
2、公开号为cn109382308a的一项中国专利公开了一种脱水蔬菜筛选装置,设置的筛选筐和振动泵,使尺寸较小的脱水蔬菜以及泥沙通过筛选网进入网板,而脱水蔬菜经过倾斜的筛选筐进入输送管道到达集料箱,设置的叶片可以产生向上的风力,脱水蔬菜经过重力和风力的双重作用,缓慢落下,防止脱水蔬菜成团,而使脱水蔬菜无法筛选。优选的方案中,皮带输送机的皮带上均匀设置磁棒,磁棒可以粘附毛发、纸屑以及粉尘等杂质,有助于脱水蔬菜中这些轻微杂质的去除。设置的挡板,用来剔除磁棒上粘附的杂质,防止磁棒上的杂质再次混入脱水蔬菜中。
3、目前现有技术中,在对脱水蔬菜进行尘土筛选时,基本是通过振动筛分来实现筛选,此工艺在加工时由于脱水蔬菜体积小、重量轻,表面干燥过高,很容易便会将脱水蔬菜筛碎或者损烂,不利于生产。
4、为此,本发明提供一种脱水蔬菜在线筛选设备。
技术实现思路
1、为此,本发明所要解决的技术问题在于克服现有技术中在筛分时容易将脱水蔬菜筛碎或者损烂的问题。
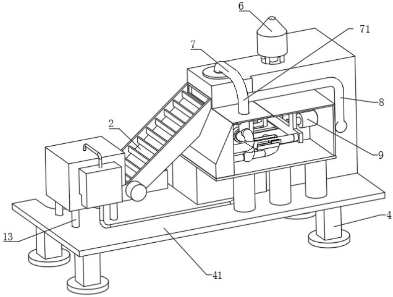
2、为解决上述技术问题,本发明提供了一种脱水蔬菜在线筛选设备,包括机壁,所述机壁的内部固定安装有作业箱,所述作业箱的顶部固定安装有分气器,所述作业箱的外壁固定安装有风机,所述分气器的顶部固定安装有气流管,所述气流管的一端与风机的出风端固定连接,所述气流管的外壁固定安装有分气管,所述分气管的外壁对称固定安装有注气管,两个所述注气管的一端均固定安装有扩风器,所述作业箱的内壁对称开设有出风口,所述扩风器的内壁与出风口的外壁固定连接,所述出风口内吹出风为斜吹风,两个斜吹风呈现为相交角,所述气流管与分气管的内部均滑动连接有堵杆;
3、通过风机产生的风力将大于脱水蔬菜本身的重量,插入气流管内堵杆上的气流口规格要小于插入在分气管上的堵杆内的气流口,两个堵杆相互堵挡,其中一个堵挡时,另一个打开,在脱水蔬菜进入到作业箱内时,分气器对其进行吹气,将脱水蔬菜上的沙尘吹落,沙尘的体积小于脱水蔬菜的体积,下落速度将大于脱水蔬菜,当分气器将脱水蔬菜吹落至出风口附近时,沙尘便会提前落进作业箱底部的过滤漏板中,此时,气流管内的堵杆将其内的风管堵住,分气管内的堵杆向前滑动,风力便会顺溜分气管进入到两侧的注气管内,最后进入到扩风器内从出风口吹出,吹出的风力将脱水蔬菜按照下落路径吹回至原落下处,此时伸缩气缸带动接铲进入到作业箱内,脱水蔬菜便会安稳的掉落至接铲上,随后被其带出,达到对脱水蔬菜除沙尘的效果。
4、在本发明的一个实施例中,两个所述堵杆的一端固定安装有推板,所述推板的外壁固定安装有伸缩气缸,所述伸缩气缸固定安装于机壁的内壁,其中一个所述堵杆的外壁固定安装有挡风板,所述作业箱的外壁固定安装有平轨,所述推板的外壁固定安装有接铲,所述接铲的外壁与平轨的内壁滑动连接,所述作业箱的外壁固定安装有限位板,所述接铲的底部固定安装有滑杆,所述滑杆的一端与限位板的内槽滑动连接,所述作业箱的内壁开设有出菜口,伸缩气缸带动接铲在平轨上滑行进入到作业箱内,滑动的同时滑杆在限位板内滑动,为接铲的滑行提供一定的稳定性,吹回至原落下处的脱水蔬菜便会安稳的掉落至接铲上,随后被其带出,对脱水蔬菜起到一个承接的作用。
5、在本发明的一个实施例中,所述挡风板的内壁对称滑动连接有挡块,所述挡风板的内壁对称固定安装有复位弹簧,所述复位弹簧的一端与挡块的内壁固定连接,两个所述挡块的内壁均与堵杆的外壁滑动连接,两个所述堵杆内壁开设的气流孔规格不同,分气管内部所插入的堵杆规格将大于气流管内插入的堵杆,两个所述堵杆的另一端均固定安装有边位盘,堵杆在挡风板内挤压两个挡块向内滑动,堵杆上的气流口便会打开,边位盘的设定是为了限位,防止堵杆在收回时因收过长跑偏。
6、在本发明的一个实施例中,所述气流管的外壁固定安装有导气管,所述导气管的一端固定安装有吹残口,所述作业箱的底部固定安装有集渣箱,所述机壁的外壁固定安装有存菜箱,所述吹残口的外壁与存菜箱的内壁固定连接,所述存菜箱内壁设置有隔离板,其内部分为整集箱和碎集箱两部分,所述存菜箱内部设置有海绵垫板,使脱水蔬菜在落箱时对脱水蔬菜进行一个防护的作用,可防止脱水蔬菜在掉落时摔烂,导气管通过吹残口对其进行吹风,此时分流出的风力略小于脱水蔬菜本身整体质量均值,当被其输送出来的脱水蔬菜体积小于本身整体质量时,将会被吹残口内的风力吹落在存菜箱的碎集箱内,等于或大于时将缓落在处于下滑器正下方的存菜箱的整集箱内,对脱水蔬菜的一个完整度进行区分,达到质量筛选的效果。
7、在本发明的一个实施例中,所述作业箱的内壁开设有进菜口,所述机壁的外壁固定安装有蔬菜输送带,所述进菜口与蔬菜输送带上的传输带相对应,所述蔬菜输送带的一端顶部固定安装有测菜箱,所述测菜箱的外壁固定安装有控制中枢,所述控制中枢的底部固定安装有控风线,所述控风线的一端与风机的底部固定连接,蔬菜输送带的设定是为了输送脱水蔬菜,将脱水蔬菜放入进测菜箱内,测菜箱对脱水蔬菜进行侦测质量,侦测完成后测菜箱将侦测的信息传输进控制中枢,控制中枢通过控风线控制风机吹出相适配的风力,随后将侦测完成后的脱水蔬菜放置于蔬菜输送带上的盛菜盒中,脱水蔬菜便会在其带动下从进菜口进入作业箱内,实现输送的效果。
8、在本发明的一个实施例中,所述测菜箱的内部设置有称菜器,所述称菜器置于蔬菜输送带一端的正上方,所述称菜器的一侧固定安装有传输导线二,所述传输导线二的一端与控制中枢的一侧固定连接,所述测菜箱的内壁顶部固定安装有测体扫盘,所述测体扫盘的顶部固定安装有传输导线一,所述传输导线一的一端与控制中枢的顶部固定连接,当脱水蔬菜放入进测菜箱内时,称菜器对脱水蔬菜进行重量计算,计算完后通过传输导线二将计算出的数值传输进控制中枢内,重量计算的同时,测体扫盘对脱水蔬菜表面进行扫测,计算脱水蔬菜的表面面积,扫测完成后测体扫盘通过传输导线一将计算出数值同样传输进控制中枢内,随后控制中枢对传输进的两个值进行总和计算从而得到最适配的风力,随后控制中枢通过控风线控制风机吹出相适配的风力,起到计算配风的作用,通过测菜箱对脱水蔬菜进行侦测计算从而得到风力的大小可使装置适配于不同种类的脱水蔬菜。
9、在本发明的一个实施例中,所述机壁外壁固定安装有电机,所述电机的输出轴固定安装有拨杆,所述机壁的内部设置有滑菜板,所述滑菜板置于拨杆的下方一侧,当脱水蔬菜落到接铲上时,电机带动拨杆进行转动拨菜,拨杆便会将接铲内的脱水蔬菜拨至滑菜板上,脱水蔬菜顺流滑菜板的斜面滑下进行归纳收集。
10、在本发明的一个实施例中,所述机壁的顶部固定安装有吸尘器,所述吸尘器与机壁的连接处开设有抽尘滤口,吸尘器的设定是为了吸取作业箱内涌出和脱水蔬菜本身带出的灰尘。
11、在本发明的一个实施例中,所述蔬菜输送带的底部固定安装有立架,所述蔬菜输送带的外壁固定安装有旋转气缸,立架的设定是为了稳固蔬菜输送带的机身,旋转气缸用于带动蔬菜输送带进行输送。
12、在本发明的一个实施例中,所述集渣箱与存菜箱的底部固定安装有支板,所述支板的底部对称固定安装有撑脚,支板和撑脚对装置本身进行支撑,实现稳固机身的效果,集渣箱与存菜箱的设定分别是为了收集沙尘和收集脱水蔬菜。
13、本发明的上述技术方案相比现有技术具有以下优点:
14、1.本发明所述的一种脱水蔬菜在线筛选设备,通过风机产生的风力大于脱水蔬菜本身的重量,插入气流管内的堵杆上的气流口规格要小于插入在分气管上的堵杆内的气流口,两个堵杆相互堵挡,其中一个堵挡时,另一个打开,在脱水蔬菜进入到作业箱内时,分气器对其进行吹气,将脱水蔬菜上的沙尘吹落,沙尘的体积小于脱水蔬菜的体积,下落速度将大于脱水蔬菜,当分气器将脱水蔬菜吹落至出风口附近时,沙尘便会提前落进至作业箱底部的过滤漏板中,此时,气流管内的堵杆将其内的风管堵住,分气管内的堵杆向前滑动,风力便会顺流分气管进入到两侧的注气管内,最后进入到扩风器内从出风口吹出,吹出的风力将脱水蔬菜按照下落路径吹回至原落下处,此时伸缩气缸带动接铲进入到作业箱内,脱水蔬菜便会安稳的掉落至接铲上,达到筛选时防脱水蔬菜筛碎的效果。
15、2.本发明所述的一种脱水蔬菜在线筛选设备,当下滑器上的脱水蔬菜被其输送到头掉落时,导气管通过吹残口对其进行吹风,此时分流出的风力略小于脱水蔬菜本身整体质量均值,当被其输送出来的脱水蔬菜体积小于本身整体质量时,将会被吹残口内的风力吹落在存菜箱的其中一个夹层内,等于或大于时将缓落在处于下滑器正下方的存菜箱的另一个夹层内,对脱水蔬菜的一个完整度进行区分,达到质量筛选的效果。
16、3、通过将需要加工的脱水蔬菜中的一个完整的脱水蔬菜放置于测菜箱内,称菜器对脱水蔬菜进行重量计算,重量计算的同时,测体扫盘计算脱水蔬菜的表面面积,随后控制中枢对两个值进行总和计算从而得到最适配的风力,随后控制中枢控制风机吹出相适配的风力,通过测菜箱对脱水蔬菜进行侦测计算从而得到相适配的风力小,可使装置适配于不同种类的脱水蔬菜。
技术研发人员:吴长庆
技术所有人:兴化顶康食品科技有限公司
备 注:该技术已申请专利,仅供学习研究,如用于商业用途,请联系技术所有人。
声 明 :此信息收集于网络,如果你是此专利的发明人不想本网站收录此信息请联系我们,我们会在第一时间删除
