制备氯乙烯聚合物的方法与流程

本发明涉及一种制备氯乙烯聚合物的方法,具体地,提供一种在提高工艺效率的同时,制备具有优异的热稳定性和可加工性的氯乙烯聚合物的方法。
背景技术:
1、氯乙烯聚合物组合物可以包含氯乙烯聚合物和加工辅助原料如热稳定剂、加工助剂、冲击改性剂等。氯乙烯聚合物组合物可以用于通过加工设备制造各种工业领域中的产品,如管道、底盘、片材等。氯乙烯聚合物组合物所需的物理性能,如突出的数量、冲击强度、拉伸强度等,根据制造的产品而变化。然而,通常,氯乙烯聚合物的可加工性越高,可以生产的产品质量就越高。
2、为了改善使用氯乙烯聚合物制成的产品的可加工性,通常要优化加工设备的条件,和加工辅助原料的混合比以及进料量。然而,制造商正面临着来自消费者的改善氯乙烯聚合物本身的可加工性的需求。为了提高氯乙烯聚合物的可加工性,可以采用诸如调节氯乙烯聚合物的粒子形状或内部孔隙率的方法,以及添加c4至c20直链烷基醇是广泛接受的方法。
3、同时,当从通过悬浮聚合制备的氯乙烯聚合物浆料中分离溶剂,如水时,控制分离装置的螺杆负荷是至关重要的。螺杆负荷可以根据氯乙烯聚合物浆料和溶剂的比、粒度分布等而变化。当螺杆负荷增加超过一定水平时,该过程可能由于跳闸而停止,或者严重时会导致设备损坏。
4、本发明意在提供一种制备具有优异的热稳定性和可加工性的氯乙烯聚合物的方法,该方法通过使制造工艺中产生的溶剂再循环来实现,从而降低氯乙烯聚合物浆料的粘度并且允许氯乙烯聚合物的稳定分离。
5、[相关技术文献]
6、专利文献
7、(专利文献1)kr2068709b
技术实现思路
1、技术问题
2、本发明的一个目的是提供一种制备具有优异的热稳定性和可加工性的氯乙烯聚合物的方法,该方法通过使制造工艺中产生的废液、醇等再循环来提高工艺效率。
3、技术方案
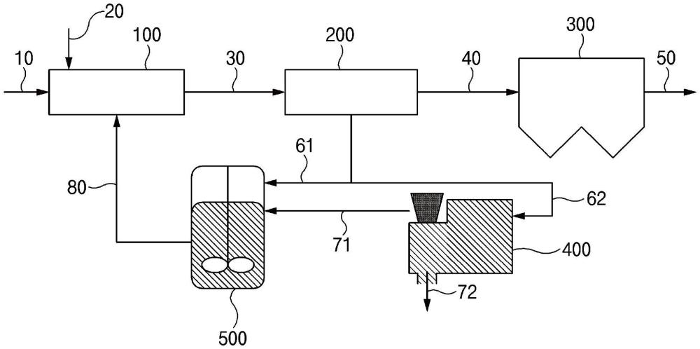
4、为了解决上述问题,1)本发明提供一种制备氯乙烯聚合物的方法,该方法包括:(s1),通过向氯乙烯聚合物浆料中加入醇来制备混合物;(s2),从所述混合物中分离出废液以得到氯乙烯聚合物;和(s3),向所述混合物中加入至少一部分分离的废液,其中,相对于100重量份的所述混合物,在步骤s3中加入的废液的含量在33.0重量份至35.0重量份的范围内。
5、2)本发明提供一种根据上面1)的制备氯乙烯聚合物的方法,其中,所述醇是c4至c20烷基醇。
6、3)本发明提供一种根据上面1)或2)的制备氯乙烯聚合物的方法,其中,相对于100重量份的所述氯乙烯聚合物浆料的固体含量,所述醇的含量在0.105重量份至0.123重量份的范围内。
7、4)本发明提供一种根据上面1)至3)中任一项的制备氯乙烯聚合物的方法,其中,在步骤s2中,所述分离是离心分离。
8、5)本发明提供一种根据上面1)至4)中任一项的制备氯乙烯聚合物的方法,进一步包括将在步骤s2中得到的氯乙烯聚合物干燥。
9、6)本发明提供一种根据上面1)至5)中任一项的制备氯乙烯聚合物的方法,其中,通过从步骤s2中分离的一部分废液中分离醇,并且将该分离的醇与分离的废液的剩余部分混合,来制备步骤s3中加入的废液。
10、7)本发明提供一种根据上面6)的制备氯乙烯聚合物的方法,其中,相对于步骤s2中分离的废液的总重量,步骤s2中分离的一部分废液在62.5重量%至64.0重量%的范围内。
11、8)本发明提供一种根据上面6)的制备氯乙烯聚合物的方法,其中,将所述醇进行油水分离。
12、9)本发明提供一种根据上面1)至8)中任一项的制备氯乙烯聚合物的方法,其中,在加入到所述混合物中的废液中,所述醇的含量为2.0重量%至3.0重量%。
13、10)本发明提供一种根据1)至9)中任一项的制备氯乙烯聚合物的方法,其中,所述氯乙烯聚合物中残留的醇的含量在500ppm至600ppm的范围内。
14、有益效果
15、本发明的氯乙烯聚合物的制备方法通过使制造工艺中产生的废液和醇再循环,可以降低加入到分离装置的含有氯乙烯浆料的混合物的粘度,从而降低分离装置的负荷并且提高工艺效率。
16、此外,通过本发明的制备氯乙烯聚合物的方法制备的干燥的氯乙烯聚合物粉末具有优异的热稳定性和可加工性。
技术特征:
1.一种制备氯乙烯聚合物的方法,包括:
2.根据权利要求1所述的制备氯乙烯聚合物的方法,其中,所述醇是c4至c20烷基醇。
3.根据权利要求1所述的制备氯乙烯聚合物的方法,其中,相对于100重量份的所述氯乙烯聚合物浆料的固体含量,所述醇的含量在0.105重量份至0.123重量份的范围内。
4.根据权利要求1所述的制备氯乙烯聚合物的方法,其中,在步骤s2中,所述分离是离心分离。
5.根据权利要求1所述的制备氯乙烯聚合物的方法,进一步包括将在步骤s2中得到的所述氯乙烯聚合物干燥。
6.根据权利要求1所述的制备氯乙烯聚合物的方法,其中,通过从步骤s2中分离的一部分废液中分离醇,并且将分离的醇与分离的废液的剩余部分混合,来制备在步骤s3中加入的废液。
7.根据权利要求6所述的制备氯乙烯聚合物的方法,其中,相对于在步骤s2中分离的废液的总重量,在步骤s2中分离的一部分废液的含量在62.5重量%至64.0重量%的范围内。
8.根据权利要求6所述的制备氯乙烯聚合物的方法,其中,将所述醇进行油水分离。
9.根据权利要求1所述的制备氯乙烯聚合物的方法,其中,在加入到所述混合物中的废液中,所述醇的含量为2.0重量%至3.0重量%。
10.根据权利要求1所述的制备氯乙烯聚合物的方法,其中,所述氯乙烯聚合物中残余醇的含量在500ppm至600ppm的范围内。
技术总结
本发明提供一种制备氯乙烯聚合物的方法,该方法包括:(S1),通过向氯乙烯聚合物浆料中加入醇来制备混合物;(S2),从所述混合物中分离废液以得到氯乙烯聚合物;和(S3),向所述混合物中加入至少一部分分离的废液,其中,相对于100重量份的所述混合物,在步骤S3中的废液进料量是33.0重量份至35.0重量份。
技术研发人员:李世雄,河玄圭,金健地,裴兴权,金铉哲,崔允硕
受保护的技术使用者:株式会社LG化学
技术研发日:
技术公布日:2024/9/2
技术研发人员:李世雄,河玄圭,金健地,裴兴权,金铉哲,崔允硕
技术所有人:株式会社LG化学
备 注:该技术已申请专利,仅供学习研究,如用于商业用途,请联系技术所有人。
声 明 :此信息收集于网络,如果你是此专利的发明人不想本网站收录此信息请联系我们,我们会在第一时间删除
