工具组件、加工装置以及玻璃板的制造方法与流程

本发明涉及用于加工玻璃板的工具组件、加工装置以及制造玻璃板的方法。
背景技术:
1、如公知的那样,在玻璃板的制造工序中,利用加工装置对玻璃板的端面实施磨削加工、研磨加工的情况较多。例如,在专利文献1中作为加工装置的例子而公开了具备能够旋转的加工工具(磨石)、保持加工工具的保持工具以及作为使加工工具旋转的旋转轴的心轴的加工装置。
2、加工装置的保持工具具有支承加工工具的轴向的一端部的凸缘部以及供心轴嵌合的孔部。保持工具构成为在利用凸缘部支承着加工工具的状态下,被心轴驱动,从而与加工工具一起旋转。
3、有时在加工工具、凸缘部的一端部形成用于调整旋转时的平衡的孔。在该情况下,加工工具以加工工具的孔与凸缘部对置的方式并且以凸缘部的孔与加工工具对置的方式安装于保持工具。由此,加工工具的孔被凸缘部封闭,凸缘部的孔被加工工具封闭。
4、现有技术文献
5、专利文献
6、专利文献1:国际公开第2020/039940号
技术实现思路
1、发明要解决的课题
2、如上述那样,在以往的加工装置中,平衡调整用的孔被加工工具、保持工具的凸缘部堵塞,但由于加工时的振动等的影响,在凸缘部与加工工具的一端部之间浸入磨削液等液体,存在在该孔中积存该液体的情况。当在孔中积存液体时,有可能加工装置的旋转平衡破坏,振动增加,玻璃板的加工精度恶化。
3、本发明是鉴于上述的情况而完成的,技术课题在于防止加工装置的旋转平衡的恶化。
4、用于解决课题的方案
5、本发明为用于解决上述的课题的一种工具组件,具备:加工工具,其用于加工玻璃板的端面且能够旋转;以及保持工具,其保持所述加工工具且能够旋转,所述工具组件的特征在于,具备:空间部,其设置于所述保持工具和/或所述加工工具且用于调整旋转的平衡;以及排液部,其将所述空间部的液体排出。
6、根据该结构,例如,即使在磨削加工、研磨加工的执行中磨削液、研磨液等液体到达空间部的情况下,通过利用排液部将该液体排出,从而也能够防止该液体在空间部积存。由此,能够可靠地防止加工装置的旋转平衡的恶化。
7、在本发明的工具组件中,也可以是,所述空间部设置于所述工具组件的内部。根据该结构,能够高效地取得加工装置的旋转的平衡。即使在这种情况下,也能够利用排液部适当地将到达空间部的液体排出。
8、在本发明的工具组件中,也可以是,所述排液部具有引导所述液体的槽部。根据该结构,利用槽部引导液体,从而能够将支承部上的液体可靠地排出。
9、在本发明的工具组件中,也可以是,所述排液部的所述槽部包括在所述保持工具与所述加工工具重叠的部位呈放射状延伸的多个槽部。根据该结构,能够利用构成为放射状的多个槽部将支承部上的液体可靠地排出。
10、在本发明的工具组件中,也可以是,所述排液部形成为与所述空间部重叠。根据该结构,能够利用排液部将到达空间部的液体可靠地排出。
11、本发明的加工装置为用于解决上述的课题的一种加工装置,其特征在于,所述加工装置具备上述的工具组件以及使所述工具组件旋转的旋转轴。根据该结构,利用排液部将到达工具组件的空间部的液体排出,从而能够防止该液体在空间部积存。由此,能够可靠地防止加工装置的旋转平衡的恶化。
12、本发明的玻璃板的制造方法为用于解决上述的课题的一种玻璃板的制造方法,其特征在于,所述玻璃板的制造方法包括利用上述的加工装置加工玻璃板的端面的工序。根据该结构,能够防止加工装置的旋转平衡的恶化而制造加工精度高的玻璃板。
13、发明效果
14、根据本发明,能够防止加工装置的旋转平衡的恶化。
技术特征:
1.一种工具组件,具备:加工工具,其用于加工玻璃板的端面且能够旋转;以及保持工具,其保持所述加工工具且能够旋转,
2.根据权利要求1所述的工具组件,其中,
3.根据权利要求1或2所述的工具组件,其中,
4.根据权利要求3所述的工具组件,其中,
5.根据权利要求1至4中任一项所述的工具组件,其中,
6.一种加工装置,其特征在于,
7.一种玻璃板的制造方法,其特征在于,
技术总结
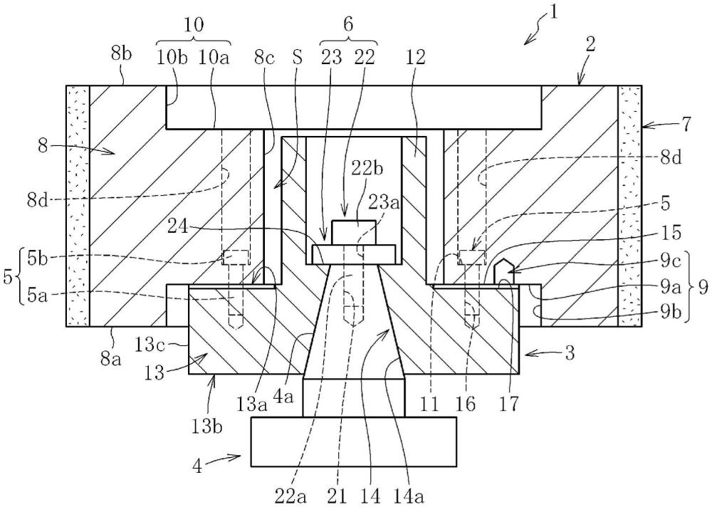
工具组件具备:加工工具(2),其用于加工玻璃板的端面且能够旋转;以及保持工具(3),其保持加工工具(2)且能够旋转。工具组件具备:空间部(9c),其设置于保持工具(3)和/或加工工具(2)且用于平衡调整;以及排液部(17),其将空间部(9c)的液体排出。
技术研发人员:松永大生,星野爱信,北川翔
受保护的技术使用者:日本电气硝子株式会社
技术研发日:
技术公布日:2024/9/2
技术研发人员:松永大生,星野爱信,北川翔
技术所有人:日本电气硝子株式会社
备 注:该技术已申请专利,仅供学习研究,如用于商业用途,请联系技术所有人。
声 明 :此信息收集于网络,如果你是此专利的发明人不想本网站收录此信息请联系我们,我们会在第一时间删除
