一种用于铁水预处理脱磷过程的双流道喷枪及其使用方法

本发明涉及铁水预处理,特别是指一种用于铁水预处理脱磷过程的双流道喷枪及其使用方法。
背景技术:
1、一般情况下,钢中的磷能全部溶于铁素体中,在提高钢的强度及硬度的同时,降低钢的塑性及韧性。同时,这种钢的塑性及韧性降低现象在低温时更为严重,故称为冷脆。磷在结晶过程中,由于容易产生晶内偏析,使局部地区含磷量偏高,且磷的偏析还使钢材在热轧后形成带状组织,进一步降低了成品钢的综合力学性能。因此,对于大部分高品质钢种而言,磷元素为有害杂质元素。为抑制磷元素对钢机械性能的危害,钢铁冶炼过程中主要采用铁水预处理及转炉脱磷工序完成冶金脱磷任务。国内外冶金工作者经过长期研究,一致认为通过增大熔渣氧化性含量与强化熔池动力学条件,可有效提高铁水脱磷效率。
2、目前,铁水预处理过程中多采用气体介质将脱磷粉料直接输送至熔池内部,促进脱磷粉料与铁水磷元素的快速反应,并利用粉剂冲击或气相搅拌的方法强化熔池动力学条件,提高“铁-渣”接触面积,以满足铁水高效脱磷需求。但该工艺模式下,脱磷渣内(feo)含量波动较大,导致脱磷渣粘度较高,流动性较弱,进一步降低了单位时间内“铁-渣”界面的有效接触面积,延长了铁水预脱磷处理周期。
3、为解决上述问题,部分冶金工作者采用具有一定间隔的两个喷枪,其中的一个粉剂喷枪仍采用气体介质将脱磷粉料直接输送至熔池内部;另一个供氧喷枪下降至距铁水脱磷渣表面的一定高度,并将一定高度的含氧或纯氧气体喷吹至脱磷渣表面,以提高脱磷渣(feo)含量及流动性。但该工艺技术仍存在以下两点不足:①喷枪数量的增多,需进一步扩充铁水预处理系统的配套辅助设施,增大了系统运行费用与占地空间,提高了成品钢材的生产成本,不利于该技术的大规模推广与应用;②受操作空间限制,供氧喷枪仅能将含氧或纯氧气体喷吹至脱磷渣的局部区域,导致脱磷渣内易出现(feo)含量分布不均的现象,减弱了脱磷渣的整体流动性。
技术实现思路
1、针对现有技术的不足,本发明设计一种用于铁水预处理脱磷过程的双流道喷枪,在传统铁水预处理喷枪中心金属管道的基础上,嵌套一路单独的环缝式供气流道,根据不同铁水包吨位及铁水脱磷需求,在环缝式供气流道侧壁合理地设计副流道供气喷孔的布置模式,并基于该双流道喷枪对铁水预处理脱磷工艺进行喷吹方案优化,进而整体增加铁水预处理用脱磷渣中(feo)含量,强化脱磷渣过程流动性与动力学条件,缩短铁水预处理周期,提高铁水预处理的过程脱磷率。
2、为了实现上述目的,本发明采用如下技术方案:
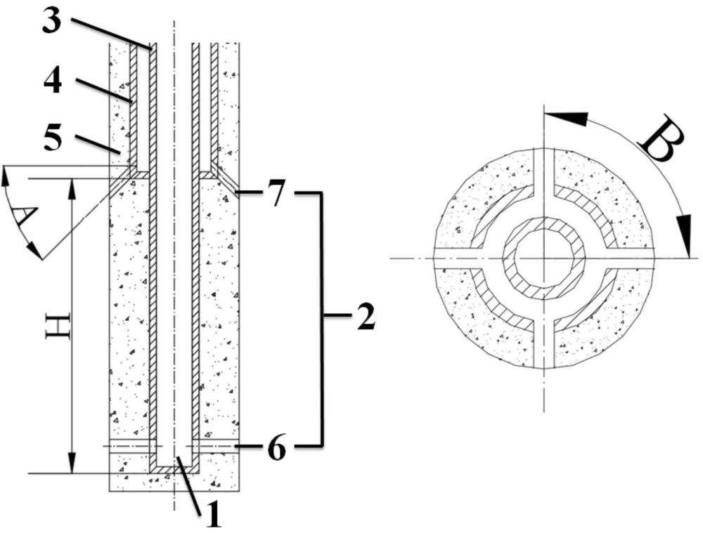
3、一种用于铁水预处理脱磷过程的双流道喷枪,其特征在于,所述双流道喷枪包括枪体和喷头,所述枪体包括长距离中心金属管、短距离中层嵌套金属管及外围耐火结构,所述喷头包括主流道粉气喷孔与副流道供气喷孔,所述主流道粉气喷孔位于长距离中心金属管端面,所述副流道供气喷孔均匀分布在短距离中层嵌套金属管侧壁的同一水平高度位置。
4、进一步地,所述短距离中层嵌套金属管底部距离所述枪体包括长距离中心金属管高度为1800mm~4000mm,所述副流道供气喷孔与水平方向的夹角为30°~85°,所述副流道供气喷孔出口中心点距离铁水表面500mm~2000mm,所述副流道供气喷孔数量为3个~12个,所述副流道供气喷孔间夹角为30°~120°,所述单个副流道供气喷孔设计流量为50nm3/h~300nm3/h,所述副流道供气喷孔的喷吹气体介质为纯氧气、纯空气、纯二氧化碳或不同比例的“氧气-空气-二氧化碳”的混合气。
5、进一步地,所述用于铁水预处理脱磷过程的双流道喷枪及其使用方法,其特征在于,所述使用方法,包括如下步骤:
6、步骤一:铁水包进入铁水预处理工位后,所述双流道喷枪逐步下降至铁水熔池内工作深度。
7、步骤二:所述双流道喷枪下降至工作高度后,所述主流道粉气喷孔根据常规操作模式开始进行供气与喷粉。
8、步骤三:所述主流道粉气喷孔开始进行供气与喷粉的同时,各所述副流道供气喷孔同步开始按设计流量喷吹。
9、步骤四:铁水预处理进度到达25%~35%后,各所述副流道供气喷孔喷吹流量降低至设计流量的60%~70%。
10、步骤五:铁水预处理进度到达50%~65%后,各所述副流道供气喷孔喷吹流量降低至设计流量的40%~50%。
11、步骤六:铁水预处理进度到达80%~85%后,各所述副流道供气喷孔喷吹流量降低至设计流量的20%~30%。
12、步骤七:铁水预处理进度到达100%后,所述主流道粉气喷孔与所述副流道供气喷孔停止喷吹粉剂与气体,所述双流道喷枪上升至待机高度。
13、本发明提供了上述用于铁水预处理脱磷过程的双流道喷枪及其使用方法在铁水预处理技术领域中应用。
14、本发明的上述技术方案的有益效果如下:
15、本发明供了一种用于铁水预处理脱磷过程的双流道喷枪及其使用方法,在传统铁水预处理喷枪中心金属管道的基础上,嵌套一路单独的环缝式供气流道,根据不同铁水包吨位及铁水脱磷需求,在环缝式供气流道侧壁合理地设计副流道供气喷孔的布置模式,并基于该双流道喷枪对铁水预处理脱磷工艺进行喷吹方案优化,进而将氧化性气流持续、均匀、高效地输送至脱磷渣表面,以增加脱磷渣中(feo)含量,强化脱磷渣过程流动性与动力学条件,缩短铁水预处理周期,提高铁水预处理的过程脱磷率,达到提高铁水预处理脱磷工艺的技术指标与经济效益的目的。
技术特征:
1.一种用于铁水预处理脱磷过程的双流道喷枪,其特征在于,所述双流道喷枪包括枪体和喷头,所述枪体包括长距离中心金属管、短距离中层嵌套金属管及外围耐火结构,所述喷头包括主流道粉气喷孔与副流道供气喷孔,所述主流道粉气喷孔位于长距离中心金属管端面,所述副流道供气喷孔均匀分布在短距离中层嵌套金属管侧壁的同一水平高度位置。
2.根据权利要求1所述的用于铁水预处理脱磷过程的双流道喷枪,其特征在于,所述短距离中层嵌套金属管底部距离所述枪体包括长距离中心金属管高度为1800mm~4000mm,所述副流道供气喷孔与水平方向的夹角为30°~85°,所述副流道供气喷孔出口中心点距离熔渣表面500mm~2000mm,所述副流道供气喷孔数量为3个~12个,所述副流道供气喷孔间夹角为30°~120°,所述单个副流道供气喷孔设计流量为50nm3/h ~300nm3/h,所述副流道供气喷孔的喷吹气体介质为纯氧气、纯空气、纯二氧化碳或不同比例的“氧气-空气-二氧化碳”的混合气。
3.根据权利要求1所述的用于铁水预处理脱磷过程的双流道喷枪的使用方法,其特征在于,包括如下步骤:
技术总结
一种用于铁水预处理脱磷过程的双流道喷枪及其使用方法,涉及铁水预处理技术领域。所述双流道喷枪包括枪体和喷头,所述枪体包括长距离中心金属管、短距离中层嵌套金属管及外围耐火结构,所述喷头包括主流道粉气喷孔与副流道供气喷孔,所述主流道粉气喷孔位于长距离中心金属管端面,所述主流道粉气喷孔与常规铁水预处理喷枪设计一致,所述副流道供气喷孔均匀分布在短距离中层嵌套金属管侧壁的同一水平高度位置,利用高于脱磷熔渣表面的副流道供气喷孔提供高速含氧射流提高脱磷熔渣内FeO含量与流动速度,降低脱磷熔渣黏度,改善脱磷熔渣动力学条件,满足铁水高效脱磷需求,提高铁水预处理工艺的技术指标与经济效益。
技术研发人员:刘福海,牟润,宋泽霖,朱荣,孙晨,董凯,魏光升,冯超,刘润藻,赵鸿琛,任鑫,逯送超,童斌
受保护的技术使用者:北京科技大学
技术研发日:
技术公布日:2024/9/2
技术研发人员:刘福海,牟润,宋泽霖,朱荣,孙晨,董凯,魏光升,冯超,刘润藻,赵鸿琛,任鑫,逯送超,童斌
技术所有人:北京科技大学
备 注:该技术已申请专利,仅供学习研究,如用于商业用途,请联系技术所有人。
声 明 :此信息收集于网络,如果你是此专利的发明人不想本网站收录此信息请联系我们,我们会在第一时间删除
