一种退火辅助设备和退火加工方法与流程

本发明属于退火设备的,更具体地说,是涉及一种退火辅助设备和退火加工方法。
背景技术:
1、焊接在船舶制造许多工序都存在,贯穿始终,焊接存在的应力如果不消除的情况下,小则影响后续的装配经精度,大则影响船舶的性能。因此消除应力普遍采用退火的办法,船舶焊接量大对应的退火量也大。退火的方式一般是通通过喷火器对焊接部位两侧分别进行灼烧,灼烧过程中将焊接部位两侧分别提升到一定温度后再进行冷却,从而消除焊接部位内部的应力。目前小中组件一般采用手持具有单喷火口的喷火器进行退火,用户手持喷火器很容易抖动,稳定性差,造成退火不均匀和质量不稳定的问题。另外,焊缝两侧由于分别都需要进行灼烧,只是具有单喷火口的喷火器需要依次分别在焊缝两侧进行灼烧,效率低下。
技术实现思路
1、本发明的目的在于提供一种退火辅助设备,以解决现有技术中存在用户手持喷火器很容易抖动,稳定性差,造成退火不均匀和质量不稳定的问题的技术问题。
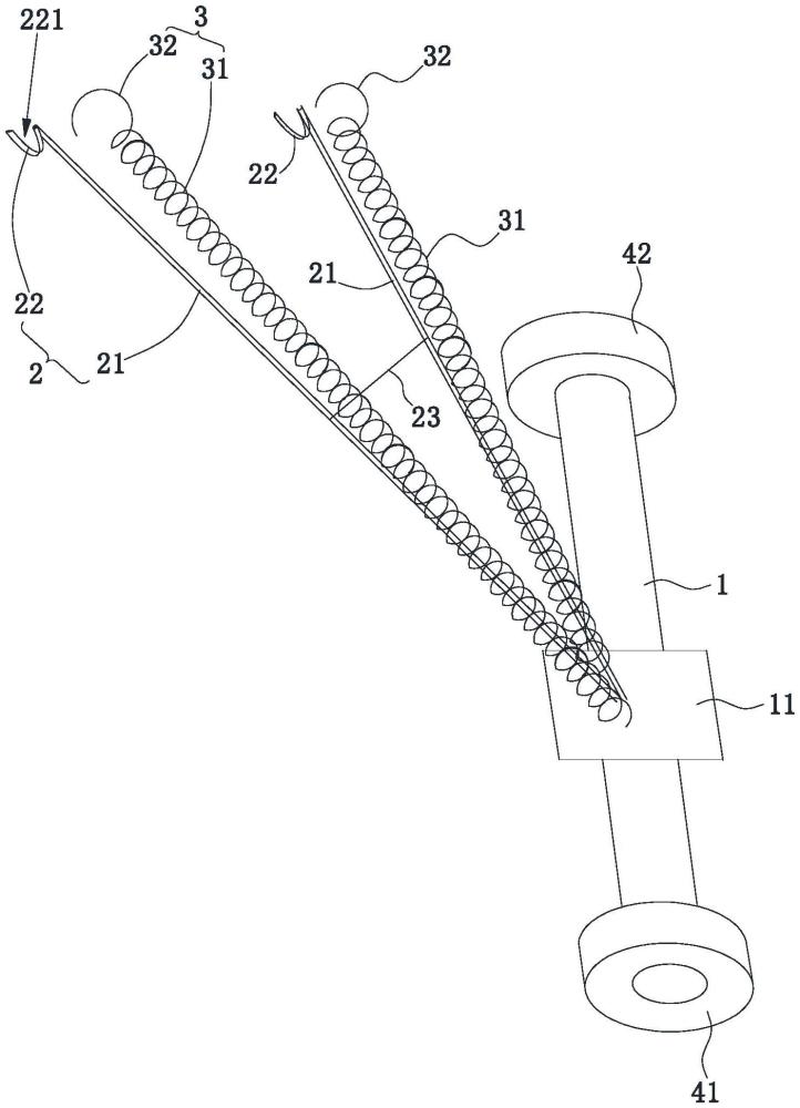
2、为实现上述目的,本发明采用的技术方案是:提供一种退火辅助设备,包括:架体、设置在所述架体上并用于支撑喷火器的支撑架、设置在所述架体上并用于将所述喷火器固定在所述支撑架上的固定装置,以及设置所述架体上并用于在板材上滚动的滚轮组件;所述支撑架上具有供所述喷火器卡入的凹槽。
3、进一步地,所述支撑架包括:支撑杆和钩体;所述支撑杆的一端固定在所述架体的顶部,所述钩体固定在所述支撑杆的另一端;所述钩体弯曲围合形成开口朝上的所述凹槽。
4、进一步地,所述支撑杆的数量为多个,所述钩体的数量为多个;多个所述支撑杆和多个所述钩体之间一一对应。
5、进一步地,所述支撑杆和所述钩体分别为两个。
6、进一步地,还包括:连接杆;两个所述支撑杆之间通过所述连接杆固定连接。
7、进一步地,所述钩体和所述支撑杆为一体件。
8、进一步地,所述滚轮组件包括:第一滚轮和第二滚轮;所述第一滚轮和所述第二滚轮分别设置在所述支撑架的底部,所述第一滚轮和所述第二滚轮同轴设置。
9、进一步地,所述固定装置包括:弹簧和用于钩挂在所述喷火器上的挂钩;所述弹簧的一端固定在所述架体上,所述挂钩固定在所述弹簧的另一端上。
10、进一步地,所述弹簧的数量为多个,所述挂钩的数量为多个;多个所述弹簧和多个所述挂钩之间一一对应。
11、本发明还提供了一种退火加工方法,包括:所述退火辅助设备;
12、准备所述退火辅助设备;
13、将具有焊缝的板材铺设在工作台或地面上;
14、准备具有两个喷火口的喷火器,并将所述喷火器卡设在所述凹槽内,通过所述固定装置将所述喷火器固定在所述支撑架上;
15、分别在所述焊缝两侧的所述板材上绘制加热线,每个喷火口对应一条加热线,两条加热线分别与所述焊缝相互平行设置;
16、所述架体通过所述滚轮组件支撑在板材上;
17、将两个所述喷火口分别对准所述焊缝两侧的所述加热线后进行点火;
18、所述喷火器随所述滚轮组件在所述板材上滚动以使两个所述喷火口分别沿着对应的所述加热线移动。
19、本发明提供的退火辅助设备的有益效果在于:与现有技术相比,本发明提供的退火辅助设备,架体上设置有支撑架,支撑架上设置有凹槽,喷火器可卡设在凹槽内;喷火器卡设在凹槽内后,喷火器可以通过固定装置固定在支撑架上;支撑架的底部设置有滚轮组件;使得支撑架可以随着滚轮组件在板材上(或地面上滚动)以调节喷火器的位置;喷火器随着支撑架移动的过程中可以调节喷火器喷口的轨迹,且喷火器在移动过程中更加平稳。
技术特征:
1.一种退火辅助设备,其特征在于,包括:架体、设置在所述架体上并用于支撑喷火器的支撑架、设置在所述架体上并用于将所述喷火器固定在所述支撑架上的固定装置,以及设置所述架体上并用于在板材上滚动的滚轮组件;所述支撑架上具有供所述喷火器卡入的凹槽。
2.如权利要求1所述的退火辅助设备,其特征在于,所述支撑架包括:支撑杆和钩体;所述支撑杆的一端固定在所述架体的顶部,所述钩体固定在所述支撑杆的另一端;所述钩体弯曲围合形成开口朝上的所述凹槽。
3.如权利要求2所述的退火辅助设备,其特征在于,所述支撑杆的数量为多个,所述钩体的数量为多个;多个所述支撑杆和多个所述钩体之间一一对应。
4.如权利要求3所述的退火辅助设备,其特征在于,所述支撑杆和所述钩体分别为两个。
5.如权利要求4所述的退火辅助设备,其特征在于,还包括:连接杆;两个所述支撑杆之间通过所述连接杆固定连接。
6.如权利要求2所述的退火辅助设备,其特征在于,所述钩体和所述支撑杆为一体件。
7.如权利要求1所述的退火辅助设备,其特征在于,所述滚轮组件包括:第一滚轮和第二滚轮;所述第一滚轮和所述第二滚轮分别设置在所述支撑架的底部,所述第一滚轮和所述第二滚轮同轴设置。
8.如权利要求1至7任一项所述的退火辅助设备,其特征在于,所述固定装置包括:弹簧和用于钩挂在所述喷火器上的挂钩;所述弹簧的一端固定在所述架体上,所述挂钩固定在所述弹簧的另一端上。
9.如权利要求8所述的退火辅助设备,其特征在于,所述弹簧的数量为多个,所述挂钩的数量为多个;多个所述弹簧和多个所述挂钩之间一一对应。
10.退火加工方法,其特征在于,包括:如权利要求1至9任一项所述的退火辅助设备;
技术总结
本发明涉及退火设备的技术领域,提供了一种退火辅助设备和退火加工方法,包括:架体、设置在所述架体上并用于支撑喷火器的支撑架、设置在所述架体上并用于将所述喷火器固定在所述支撑架上的固定装置、设置所述架体上并用于在板材上滚动的滚轮组件、设置在所述架体底部的第二滚轮;所述支撑架上具有供所述喷火器卡入的凹槽。
技术研发人员:李军龙,周红权,邢浩奇,何开平
受保护的技术使用者:广州文冲船厂有限责任公司
技术研发日:
技术公布日:2024/9/2
技术研发人员:李军龙,周红权,邢浩奇,何开平
技术所有人:广州文冲船厂有限责任公司
备 注:该技术已申请专利,仅供学习研究,如用于商业用途,请联系技术所有人。
声 明 :此信息收集于网络,如果你是此专利的发明人不想本网站收录此信息请联系我们,我们会在第一时间删除
