一种多材质冷冻砂型分类回收设备的制作方法

本发明涉及砂型回收,具体为一种多材质冷冻砂型分类回收设备。
背景技术:
1、冷冻铸型是一种新型绿色铸造工艺,其利用水作为黏结剂,在冰点下可使砂型获得足够的强度。冷冻铸型在造型的过程中产生的粉尘少,浇注时也不会产生有害气体,型砂溃散后可全部回收利用,没有废砂。此外,铸件表层急冷凝固,能防止黏砂,提高铸件表面质量。
2、冷冻砂型采用多材质型砂混合,能够有效提高铸件的力学性能,对于采用多材质的砂型,其溃散后也需要对砂型进行分类收集,现有技术中有部分对此的研究,例如公开号为cn114918368a的中国发明专利申请公开的多材质混合冷冻砂型分类回收方法及装置,该装置包括箱体、布设在箱体正上方的进料口、布设在箱体内的振动结构、电磁吸附结构和离心分散结构、以及布设在箱体下方的四个出料口,砂粒从进料口放入,经过振动结构筛去陶粒砂,经过电磁吸附结构筛去铬铁矿砂,经过离心分散结构筛分硅砂和锆英砂,陶粒砂、铬铁矿砂、硅砂和锆英砂四种砂的分类与回收同时进行,出料口的正下方装载装砂槽用于收集分类好后的砂。
3、在实际生产过程中,采用包括上述装置在内的现有技术中的回收装置难以对不同材质的型砂进行充分分离,主要是因为砂型在铸造过程中并不会完全溃散,进入回收装置中的型砂还存在部分尚未溃散的团状砂块,这些团状砂块中的型砂得不到筛分。如果对型砂预先进行破碎再筛分,则需要在生产线上额外增加一套破碎设备,这无疑会增加生产的成本,且对生产场地的面积要求较高,不符合中小型生产厂的要求。基于此,如何在不额外增加破碎设备的情况下对砂型进行充分筛分并分类回收,是本领域技术人员需要解决的问题。
技术实现思路
1、本发明的目的是提供一种多材质冷冻砂型分类回收设备,以解决现有技术中的上述不足之处。
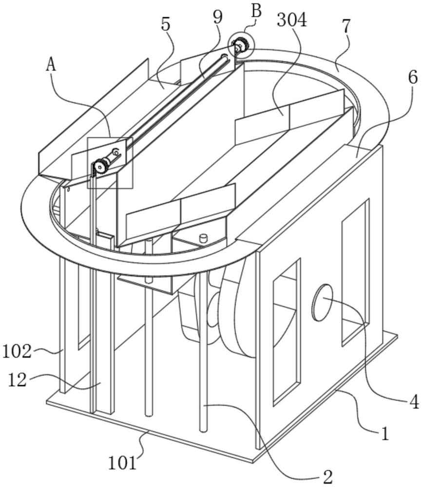
2、为了实现上述目的,本发明提供如下技术方案:一种多材质冷冻砂型分类回收设备,包括基座,基座包括水平板,以及两个固定安装在水平板上且相互平行的竖直板,水平板上竖直固定安装有导向杆,导向杆上竖直滑动安装有三组沿水平方向布置的筛分组件;筛分组件包括与导向杆滑动配合的底板,底板的上表面中间高,两侧低;底板的一侧边缘竖直固定安装有挡板,挡板的顶部边缘固定安装有倾斜的筛分板;
3、中间一组筛分组件的筛分板底部边缘与剩余其中一组筛分组件的挡板相贴合;中间一组筛分组件的挡板与剩余另一组筛分组件的筛分板底部边缘相贴合。
4、作为本发明的一种优选技术方案,所述多材质冷冻砂型分类回收设备还包括用于驱动筛分组件沿竖直方向运动的驱动组件,驱动组件包括转动安装在两个竖直板间的水平轴,三组筛分组件沿水平轴的轴向布置;水平轴上对应每组筛分组件的位置均固定安装有与对应底板相贴合的凸轮。
5、作为本发明的一种优选技术方案,两个竖直板上分别安装有倾斜的接料板和送料板,接料板和送料板之间固定连接有弧形导料板,弧形导料板一端与接料板对接,且高于其与送料板对接的另一端。
6、作为本发明的一种优选技术方案,所述送料板的一侧边缘与其中一个筛分组件的挡板相贴合,与该筛分组件不相邻的筛分组件中筛分板的底部边缘与其中一个竖直板的侧壁相贴合。
7、作为本发明的一种优选技术方案,所述竖直板上通过支架固定安装有竖直的伸缩板,伸缩板的伸缩段侧壁与接料板的底部边缘相贴合。
8、作为本发明的一种优选技术方案,所述筛分板上表面固定安装有两个竖直的限位板,两个对应的限位板之间固定连接有水平的电磁棒。
9、作为本发明的一种优选技术方案,两个对应的限位板之间转动安装有与电磁棒同轴的半圆管,半圆管的端部固定安装有圆形的端板,端板上开设有出料口;限位板上开设有与半圆管配合的弧形槽,以及与弧形槽相连的过料槽。
10、作为本发明的一种优选技术方案,所述水平板上固定安装有与端板位置上下对应的下料管。
11、作为本发明的一种优选技术方案,所述端板上固定安装有与半圆管同轴的安装轴,安装轴上固定套设有齿轮,水平板上通过支架竖直固定安装有与齿轮啮合的齿条。
12、作为本发明的一种优选技术方案,所述半圆管的内弧面上固定安装有导料块,导料块的厚度从两端向中间逐渐增加。
13、在上述技术方案中,本发明提供的一种多材质冷冻砂型分类回收设备,通过三组筛分组件的升降运动,使得型砂在一个周期中先后三次于筛分板表面滑动,然后与挡板撞击,这样,既实现了型砂的筛分,又实现了型砂的破碎;筛分组件上升过程中对其表面的型砂还能起到扬抛的作用,促进型砂在筛分板上均匀分散;此外,本发明只需要通过外力驱动水平轴持续转动,就能实现型砂往复循环筛分。
技术特征:
1.一种多材质冷冻砂型分类回收设备,包括基座(1),基座(1)包括水平板(101),以及两个固定安装在水平板(101)上且相互平行的竖直板(102),其特征在于,水平板(101)上竖直固定安装有导向杆(2),导向杆(2)上竖直滑动安装有三组沿水平方向布置的筛分组件(3);筛分组件(3)包括与导向杆(2)滑动配合的底板(301),底板(301)的上表面中间高,两侧低;底板(301)的一侧边缘竖直固定安装有挡板(302),挡板(302)的顶部边缘固定安装有倾斜的筛分板(303);
2.根据权利要求1所述的一种多材质冷冻砂型分类回收设备,其特征在于,还包括用于驱动筛分组件(3)沿竖直方向运动的驱动组件(4),驱动组件(4)包括转动安装在两个竖直板(102)间的水平轴(401),三组筛分组件(3)沿水平轴(401)的轴向布置;水平轴(401)上对应每组筛分组件(3)的位置均固定安装有与对应底板(301)相贴合的凸轮(402)。
3.根据权利要求2所述的一种多材质冷冻砂型分类回收设备,其特征在于,两个竖直板(102)上分别安装有倾斜的接料板(5)和送料板(6),接料板(5)和送料板(6)之间固定连接有弧形导料板(7),弧形导料板(7)一端与接料板(5)对接,且高于其与送料板(6)对接的另一端。
4.根据权利要求3所述的一种多材质冷冻砂型分类回收设备,其特征在于,所述送料板(6)的一侧边缘与其中一个筛分组件(3)的挡板(302)相贴合,与该筛分组件(3)不相邻的筛分组件(3)中筛分板(303)的底部边缘与其中一个竖直板(102)的侧壁相贴合。
5.根据权利要求4所述的一种多材质冷冻砂型分类回收设备,其特征在于,所述竖直板(102)上通过支架固定安装有竖直的伸缩板(8),伸缩板(8)的伸缩段侧壁与接料板(5)的底部边缘相贴合。
6.根据权利要求5所述的一种多材质冷冻砂型分类回收设备,其特征在于,所述筛分板(303)上表面固定安装有两个竖直的限位板(304),两个对应的限位板(304)之间固定连接有水平的电磁棒(9)。
7.根据权利要求6所述的一种多材质冷冻砂型分类回收设备,其特征在于,两个对应的限位板(304)之间转动安装有与电磁棒(9)同轴的半圆管(10),半圆管(10)的端部固定安装有圆形的端板(11),端板(11)上开设有出料口(1101);限位板(304)上开设有与半圆管(10)配合的弧形槽(305),以及与弧形槽(305)相连的过料槽(306)。
8.根据权利要求7所述的一种多材质冷冻砂型分类回收设备,其特征在于,所述水平板(101)上固定安装有与端板(11)位置上下对应的下料管(12)。
9.根据权利要求7所述的一种多材质冷冻砂型分类回收设备,其特征在于,所述端板(11)上固定安装有与半圆管(10)同轴的安装轴(13),安装轴(13)上固定套设有齿轮(14),水平板(101)上通过支架竖直固定安装有与齿轮(14)啮合的齿条(15)。
10.根据权利要求9所述的一种多材质冷冻砂型分类回收设备,其特征在于,所述半圆管(10)的内弧面上固定安装有导料块(16),导料块(16)的厚度从两端向中间逐渐增加。
技术总结
本发明公开了一种多材质冷冻砂型分类回收设备,涉及砂型回收技术领域,包括基座,基座包括水平板,以及两个固定安装在水平板上且相互平行的竖直板,水平板上竖直固定安装有导向杆,导向杆上竖直滑动安装有三组沿水平方向布置的筛分组件;筛分组件包括与导向杆滑动配合的底板,底板的上表面中间高,两侧低;底板的一侧边缘竖直固定安装有挡板,挡板的顶部边缘固定安装有倾斜的筛分板。本发明通过三组筛分组件的升降运动,使得型砂在一个周期中先后三次于筛分板表面滑动,然后与挡板撞击,既实现了型砂的筛分,又实现了型砂的破碎;筛分组件上升过程中对其表面的型砂还能起到扬抛的作用,促进型砂在筛分板上均匀分散。
技术研发人员:杨树宏,李纯思
受保护的技术使用者:滁州市樵雅模具有限公司
技术研发日:
技术公布日:2024/9/2
技术研发人员:杨树宏,李纯思
技术所有人:滁州市樵雅模具有限公司
备 注:该技术已申请专利,仅供学习研究,如用于商业用途,请联系技术所有人。
声 明 :此信息收集于网络,如果你是此专利的发明人不想本网站收录此信息请联系我们,我们会在第一时间删除
