串联式两联供空调及恒温除湿控制方法与流程

本发明涉及空调器,具体是一种串联式两联供空调及恒温除湿控制方法。
背景技术:
1、现有恒温除湿示意图如图1,功能开启时,冷媒由室外机1流出,依次流经第一室内换热器2011、室内机节流装置2012和第二室内换热器2013,回到室外机1,此时室内机节流装置2012节流运行,第一节流装置104不节流,第一室内换热器2011做冷凝散热,第二室内换热器2013作蒸发除湿,室外风扇105根据室内温度负荷需求调节转速,实现一边除湿一边加热的恒温除湿效果。
2、上述恒温除湿技术存在以下缺点:(1)需在室内机安装节流装置,一般是电磁阀、电子膨胀阀或电磁阀组件等,同时流路分配更加复杂,需加大室内机尺寸,从而增加成本;(2)冷媒依次流经第一室内换热器、节流装置和第二室内换热器,这种布局会降低室内机的换热能力,降低制冷制热能效;(3)室内机中节流时产生冷媒流动声,降低了用户舒适性;(4)恒温除湿功能室内机结构与无恒温除湿功能室内机不通用。
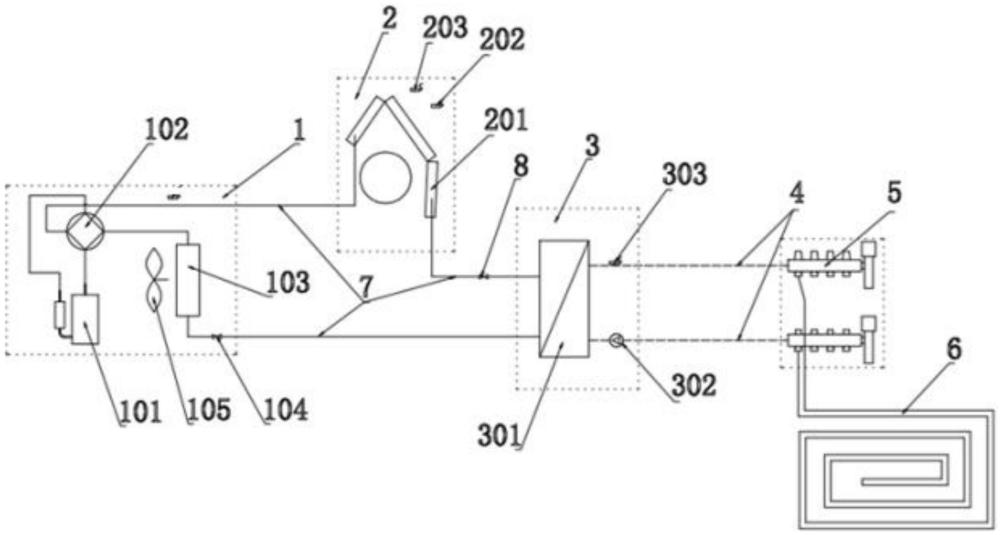
3、串联式两联供空调是地暖空调两联供产品的一个全新种类,冷媒环路由空调室外机、空调室内机和水氟换热机组串联组成,如图2,制冷时,冷媒由室外机1流出,经过水氟换热机组3,进入室内机2,再流回室外机1,此时可实现空调制冷和/或辐射制冷;制热时,冷媒由室外机1流出,经过室内机2,进入水氟换热机组3,再流回室外机1,此时可实现空调制热和/或地暖制热。
4、若将现有恒温除湿技术直接用于串联式两联供空调,其缺点同样会被继承,但串联式两联供空调本身具有地暖制热功能,可以采用地暖制热+室内机除湿的方案实现恒温除湿功能,避免了现有恒温除湿技术的上述缺点,但地暖制热需先加热水,再由水加热地板实现制热,该过程比传统恒温除湿技术制热更慢,因此可能会出现某段控制过程无法实现恒温除湿的情况。
技术实现思路
1、本申请所要解决的技术问题是:实现两联供空调的恒温除湿。
2、本发明解决上述问题所采用的技术方案是:
3、串联式两联供空调,包括:室外风扇,室内风扇,通过冷媒管路依次串联的压缩机、四通阀、室外换热器、第一节流装置、水氟热交换器和室内换热器,所述水氟热交换器通过水管依次串联分水器、地暖盘管、集水器和水泵,还包括控制单元,所述水氟热交换器与室内换热器间的冷媒管路上还设置有第二节流装置,所述控制单元根据室内环境温度、室内环境湿度、送水温度、设定温度及设定湿度控制压缩机、水泵、地暖、第一节流装置、第二节流装置、室外风扇及室内风扇工作。
4、进一步地,所述第二节流装置为带节流孔的常开电磁阀、电磁阀与毛细管组合、或电磁阀与电子膨胀阀组合。
5、恒温除湿控制方法,应用于串联式两联供空调,包括:
6、步骤1、设定恒温除湿运行模式,获取设定温度ts和设定湿度фs;
7、步骤2、实时检测室内环境温度tr和室内环境湿度фr;
8、步骤3、比较室内环境温度tr和设定温度ts,若室内环境温度tr大于设定温度ts+常数δt1,则进入步骤4,若室内环境温度tr小于设定温度ts-常数δt1,则进入步骤5,否则,进入步骤6;
9、步骤4、室内机制冷运行,压缩机运转,室外风扇运转,室内风扇运转,水泵停止,第一节流装置不节流,第二节流装置节流,直至室内环境温度tr小于设定温度ts-常数δt2,进入步骤2,其中δt2<δt1;
10、步骤5、地暖制热运行,压缩机运转,室外风扇运转,室内风扇不运转,水泵运转,第一节流装置节流,第二节流装置不节流,直至室内环境温度tr大于设定温度ts+常数δt2,进入步骤2;
11、步骤6、比较室内环境湿度фr和设定湿度фs,若室内环境湿度фr大于设定湿度фs+常数δф,进入步骤7,否则进入步骤2;
12、步骤7、水泵运转,实时检测送水温度tw,并将送水温度tw与设定温度ts比较,若送水温度tw小于设定温度ts+常数δt3,则进入步骤8,否则进入步骤9;
13、步骤8、地暖预热,压缩机运转,室外风扇运转,室内风扇不运转,水泵运转,第一节流装置节流,第二节流装置不节流,直至送水温度tw大于设定温度ts+常数δt4,进入步骤9,其中δt4>δt3;
14、步骤9、恒温除湿运行,压缩机运转,水泵运转,室内风扇低速运转或低速间隙运转,第一节流装置不节流,第二节流装置节流,室外风扇根据所述室内环境温度tr和设定温度ts的比较结果运行,直至室内环境湿度фr小于设定湿度фs-常数δф,进入步骤2。
15、进一步地,所述步骤9中,室外风扇根据所述室内环境温度tr和所述设定温度ts的比较结果运行,具体为:刚进入恒温除湿运行时,室外风扇不运转,每隔一段时间对室内环境温度tr和设定温度ts进行比较,若室内环境温度tr大于设定温度ts+常数δt5,则室外风扇启动或者提高转速,直至最高转速为止,若室内环境温度tr小于设定温度ts-常数δt5,则室外风扇降低转速或者降至最低转速后停止,否则,室外风扇状态保持不变。
16、本发明相比于现有技术具有的有益效果是:通过在水氟热交换器与室内换热器间的冷媒管路上设置第二节流装置,利用室内机除湿+地暖制热+室外风扇转速调整的方式实现恒温除湿功能。在具体的控制过程中,首先通过室温判断实现高温时室内机制冷或低温时地暖制热,优先解决温度舒适性问题;然后进行送水温度判断,并在送水温度偏低时先开启地暖预热,避免了因送水温度长时间偏低导致的除湿不制热问题;当室内温度与送水温度均满足要求后再进入恒温除湿运行,从而达到全程恒温除湿的目的。
技术特征:
1.串联式两联供空调,包括:室外风扇,室内风扇,通过冷媒管路依次串联的压缩机、四通阀、室外换热器、第一节流装置、水氟热交换器和室内换热器,所述水氟热交换器通过水管依次串联分水器、地暖盘管、集水器和水泵,其特征在于,还包括控制单元,所述水氟热交换器与室内换热器间的冷媒管路上还设置有第二节流装置,所述控制单元根据室内环境温度、室内环境湿度、送水温度、设定温度及设定湿度控制压缩机、水泵、地暖、第一节流装置、第二节流装置、室外风扇及室内风扇工作。
2.根据权利要求1所述的串联式两联供空调,其特征在于,所述第二节流装置为带节流孔的常开电磁阀、电磁阀与毛细管组合、或电磁阀与电子膨胀阀组合。
3.恒温除湿控制方法,应用于权利要求1或2所述的串联式两联供空调,其特征在于,包括:
4.根据权利要求3所述的恒温除湿控制方法,其特征在于,所述步骤9中,室外风扇根据所述室内环境温度tr和所述设定温度ts的比较结果运行,具体为:刚进入恒温除湿运行时,室外风扇不运转,每隔一段时间对室内环境温度tr和设定温度ts进行比较,若室内环境温度tr大于设定温度ts+常数δt5,则室外风扇启动或者提高转速,直至最高转速为止,若室内环境温度tr小于设定温度ts-常数δt5,则室外风扇降低转速或者降至最低转速后停止,否则,室外风扇状态保持不变。
技术总结
本发明涉及空调器技术领域,为了实现两联供空调的恒温除湿,提供了串联式两联供空调及恒温除湿控制方法,通过在水氟热交换器与室内换热器间的冷媒管路上设置第二节流装置,利用室内机除湿+地暖制热+室外风扇转速调整的方式实现恒温除湿功能。在具体的控制过程中,首先通过室温判断实现高温时室内机制冷或低温时地暖制热,优先解决温度舒适性问题;然后进行送水温度判断,并在送水温度偏低时先开启地暖预热,避免了因送水温度长时间偏低导致的除湿不制热问题;当室内温度与送水温度均满足要求后再进入恒温除湿运行,从而达到全程恒温除湿的目的。
技术研发人员:邱名友,文菊宝
受保护的技术使用者:四川长虹空调有限公司
技术研发日:
技术公布日:2024/9/2
技术研发人员:邱名友,文菊宝
技术所有人:四川长虹空调有限公司
备 注:该技术已申请专利,仅供学习研究,如用于商业用途,请联系技术所有人。
声 明 :此信息收集于网络,如果你是此专利的发明人不想本网站收录此信息请联系我们,我们会在第一时间删除
