羧甲基纤维素生产用冷凝装置的制作方法

本技术涉及冷凝,具体为羧甲基纤维素生产用冷凝装置。
背景技术:
1、羧甲基纤维素是最重要的纤维素醚类之一。天然纤维素是自然界中分布最广、含量最多的多糖,来源十分丰富。当前纤维素的改性技术主要集中在醚化和酯化两方面。羧甲基化反应是醚化技术的一种。纤维素经羧甲基化后得到羧甲基纤维素(cmc),其水溶液具有增稠、成膜、黏接、水分保持、胶体保护、乳化及悬浮等作用,广泛应用于石油、食品、医药、纺织和造纸等行业,是最重要的纤维素醚类之一。
2、目前羧甲基纤维素在进行生产时,需要经过不同工艺的加工处理,在进行不同工艺加工处理的过程中则需要使用对应的加工装置,其中包含有冷凝装置。但是现有的冷凝装置通常不能够对所产生的热量进行利用,进而会造成热量流失,造成浪费。因此,发明羧甲基纤维素生产用冷凝装置。
技术实现思路
1、鉴于上述和/或现有羧甲基纤维素生产用冷凝装置中存在的问题,提出了本实用新型。
2、因此,本实用新型的目的是提供羧甲基纤维素生产用冷凝装置,能够解决上述提出现有的问题。
3、为解决上述技术问题,根据本实用新型的一个方面,本实用新型提供了如下技术方案:
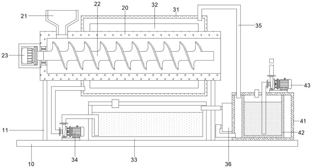
4、羧甲基纤维素生产用冷凝装置,其包括底板和用于对羧甲基纤维素原料进行输送的物料输送管,所述底板的顶部两端均固定安装支撑杆,所述物料输送管的底部两端均固定安装支撑杆,所述物料输送管的顶部一侧设有进料斗,且底板和物料输送管上设有冷凝组件,还包括:
5、能够对冷凝组件中的热量进行利用的清洗组件,且清洗组件设在底板的顶部上。
6、作为本实用新型所述的羧甲基纤维素生产用冷凝装置的一种优选方案,其中:所述物料输送管的侧壁通过轴承转动连接螺旋输送杆,且螺旋输送杆位于物料输送管的内腔。
7、作为本实用新型所述的羧甲基纤维素生产用冷凝装置的一种优选方案,其中:所述物料输送管的外侧固定安装伺服电机,且伺服电机的输出轴与螺旋输送杆固定连接。
8、作为本实用新型所述的羧甲基纤维素生产用冷凝装置的一种优选方案,其中:所述冷凝组件包括冷凝壳体、散热翅片、储存箱、第一水泵、回流管和冷却器,所述冷凝壳体套在物料输送管的中部上,所述物料输送管的中部外表面设有散热翅片,且散热翅片位于冷凝壳体的内腔。
9、作为本实用新型所述的羧甲基纤维素生产用冷凝装置的一种优选方案,其中:所述底板的顶部固定安装其内腔设有冷却水的储存箱,所述底板的顶部固定安装第一水泵,所述第一水泵的进水端通过第一管道与储存箱内腔相连通,所述第一水泵的出水端通过第二管道与冷凝壳体内腔相连通。
10、作为本实用新型所述的羧甲基纤维素生产用冷凝装置的一种优选方案,其中:所述冷凝壳体的顶端固定安装回流管,且回流管与清洗组件相连接,所述冷却器安装在清洗组件上,所述冷却器的进水端通过第三管道与清洗组件相连接,所述冷却器的出水端通过第四管道与储存箱内腔相连通。
11、作为本实用新型所述的羧甲基纤维素生产用冷凝装置的一种优选方案,其中:所述清洗组件包括加热外箱、换热内箱和第二水泵,所述底板的顶部固定安装加热外箱,且加热外箱的内腔固定安装其内腔设有清洗水的换热内箱,所述加热外箱的顶端固定安装回流管,所述加热外箱的底端固定安装第三管道。
12、作为本实用新型所述的羧甲基纤维素生产用冷凝装置的一种优选方案,其中:所述加热外箱的顶部固定安装第二水泵,所述第二水泵的进水端通过第五管道与换热内箱内腔相连通,所述第二水泵的出水端固定安装软管。
13、与现有技术相比:
14、通过设置清洗组件,不仅能够实现对物料输送管内腔进行清洗,避免影响到物料输送管的下次使用,还能够实现对冷凝组件中的热量进行利用,避免造成热量浪费,其中,通过利用热水对物料输送管内腔进行清洗,进而会在一定程度上提高清洗效果,此外,通过所设置的清洗组件,还能够实现对冷却水进行一次冷却,进而能够在一定程度上提高对冷却水的冷却效果。
技术特征:
1.羧甲基纤维素生产用冷凝装置,包括底板(10)和用于对羧甲基纤维素原料进行输送的物料输送管(20),所述底板(10)的顶部两端均固定安装支撑杆(11),所述物料输送管(20)的底部两端均固定安装支撑杆(11),所述物料输送管(20)的顶部一侧设有进料斗(21),且底板(10)和物料输送管(20)上设有冷凝组件,其特征在于,还包括:
2.根据权利要求1所述的羧甲基纤维素生产用冷凝装置,其特征在于,所述物料输送管(20)的侧壁通过轴承转动连接螺旋输送杆(22),且螺旋输送杆(22)位于物料输送管(20)的内腔。
3.根据权利要求2所述的羧甲基纤维素生产用冷凝装置,其特征在于,所述物料输送管(20)的外侧固定安装伺服电机(23),且伺服电机(23)的输出轴与螺旋输送杆(22)固定连接。
4.根据权利要求1所述的羧甲基纤维素生产用冷凝装置,其特征在于,所述冷凝组件包括冷凝壳体(31)、散热翅片(32)、储存箱(33)、第一水泵(34)、回流管(35)和冷却器(36),所述冷凝壳体(31)套在物料输送管(20)的中部上,所述物料输送管(20)的中部外表面设有散热翅片(32),且散热翅片(32)位于冷凝壳体(31)的内腔。
5.根据权利要求4所述的羧甲基纤维素生产用冷凝装置,其特征在于,所述底板(10)的顶部固定安装其内腔设有冷却水的储存箱(33),所述底板(10)的顶部固定安装第一水泵(34),所述第一水泵(34)的进水端通过第一管道与储存箱(33)内腔相连通,所述第一水泵(34)的出水端通过第二管道与冷凝壳体(31)内腔相连通。
6.根据权利要求5所述的羧甲基纤维素生产用冷凝装置,其特征在于,所述冷凝壳体(31)的顶端固定安装回流管(35),且回流管(35)与清洗组件相连接,所述冷却器(36)安装在清洗组件上,所述冷却器(36)的进水端通过第三管道与清洗组件相连接,所述冷却器(36)的出水端通过第四管道与储存箱(33)内腔相连通。
7.根据权利要求1所述的羧甲基纤维素生产用冷凝装置,其特征在于,所述清洗组件包括加热外箱(41)、换热内箱(42)和第二水泵(43),所述底板(10)的顶部固定安装加热外箱(41),且加热外箱(41)的内腔固定安装其内腔设有清洗水的换热内箱(42),所述加热外箱(41)的顶端固定安装回流管(35),所述加热外箱(41)的底端固定安装第三管道。
8.根据权利要求7所述的羧甲基纤维素生产用冷凝装置,其特征在于,所述加热外箱(41)的顶部固定安装第二水泵(43),所述第二水泵(43)的进水端通过第五管道与换热内箱(42)内腔相连通,所述第二水泵(43)的出水端固定安装软管。
技术总结
本技术公开的属于冷凝技术领域,具体为羧甲基纤维素生产用冷凝装置,包括底板和用于对羧甲基纤维素原料进行输送的物料输送管,所述底板的顶部两端均固定安装支撑杆,所述物料输送管的底部两端均固定安装支撑杆,所述物料输送管的顶部一侧设有进料斗,且底板和物料输送管上设有冷凝组件,还包括:能够对冷凝组件中的热量进行利用的清洗组件,且清洗组件设在底板的顶部上,本技术通过设置清洗组件,不仅能够实现对物料输送管内腔进行清洗,避免影响到物料输送管的下次使用,还能够实现对冷凝组件中的热量进行利用,避免造成热量浪费。
技术研发人员:周伟明
受保护的技术使用者:江阴市恒达新材料科技有限公司
技术研发日:20240118
技术公布日:2024/9/2
技术研发人员:周伟明
技术所有人:江阴市恒达新材料科技有限公司
备 注:该技术已申请专利,仅供学习研究,如用于商业用途,请联系技术所有人。
声 明 :此信息收集于网络,如果你是此专利的发明人不想本网站收录此信息请联系我们,我们会在第一时间删除
