无人机机翼

本发明涉及无人机领域,具体地涉及一种无人机机翼。
背景技术:
1、无人机,即无人驾驶飞行器,它是一种自带动力,能搭载各种电子设备,执行多种任务,可由操作员通过无线电远程遥控设备进行操纵或由无人机自带的自动遥控程序装置进行自我操纵的无人驾驶的航空器。
2、现有无人机的机翼一般包括中间主翼段和两侧外翼段两部分,主翼段翼梁由一根外径5mm,内径3mm碳杆、两根5mm桐木缘条及1mm轻木梁腹板组成,轻木梁腹板厚度为1mm,两侧靠近翼梁桐木条位置开小孔以方便组装时滴胶固定;机翼后部65%翼弦处设置两根桁条以支撑机翼蒙皮,协助翼梁维持机翼结构,其材料为3mm桐木条;外翼段翼梁与主翼段结构类似,由上下两根5mm桐木缘条和1mm轻木梁腹板组成,中间无5mm碳杆;主翼段后缘缘条为3mm轻木板切成,用以维持机翼后缘形状,方便蒙皮贴附;主翼段前缘与外翼段前缘安置一前缘缘条,材料为5mm轻木条,机翼前缘设置1mm轻木蒙板,包裹机翼前30%翼弦范围部分,翼梁、梁腹板、前缘轻木蒙板、机翼轻木前缘缘条共同组成d型翼盒结构,共同承受机翼的扭矩与弯矩。然而,在实际的使用过程中发现,这种机翼主要依靠翼梁和前缘缘条承受弯矩,其中,翼梁的主要承力部位仅为两根桐木缘条和轻木梁腹板,承力能力较差,可靠性较低。
3、因此,本领域需要一种新的技术方案来解决上述问题。
技术实现思路
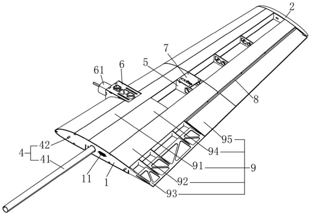
1、为了改善或解决现有技术中无人机机翼承力结构可靠性低的技术问题,本发明提供了一种可靠性强的无人机机翼。所述无人机机翼包括:骨架,包括翼根、与所述翼根相对布置的翼尖、以及连接所述翼根与所述翼尖的梁桁;所述梁桁包括主梁、以及与所述主梁并排布置的后墙;所述主梁包括连接所述翼根与所述翼尖的支杆、以及安装在所述支杆上的第一腹板和第二腹板;所述第一腹板从所述翼根延伸至所述翼尖,并且所述第二腹板靠近所述翼根;连接结构,安装在所述骨架上并适于与无人机的机身相连。
2、在本发明无人机机翼中,包括骨架和连接结构。其中,连接结构用于连接骨架和无人机机身。骨架包括翼根、翼尖和梁桁,梁桁连接翼根和翼尖。梁桁包括主梁和后墙,两者并排布置,承受弯矩应力。主梁包括支杆、第一腹板和第二腹板,第一腹板从翼根延伸至翼尖,第二腹板靠近翼根;即在支杆连接后再增加腹板进行连接,增强主梁的稳定性和可靠性;同时,靠近翼根处采用双层腹板进行加固,靠近翼尖处采用单层腹板以减轻机翼重量,兼顾了重量和可靠性,无人机机翼的设计更加合理。通过上述的设置,本发明无人机机翼通过合理设置承力结构,兼顾了重量和可靠性,设计更加合理。
3、在上述无人机机翼的优选技术方案中,所述第一腹板拼接布置,并且在所述第一腹板的拼接处布置有连接板。通过上述的设置,第一腹板拼接布置,便于第一腹板的安装和维护;连接板布置在第一腹板的拼接处,能够增强第一腹板的结构强度,提高第一腹板的结构稳定性,减少第一腹板拼接处松动或分离的风险。
4、在上述无人机机翼的优选技术方案中,所述支杆拼接布置,并且所述支杆的拼接处与所述第一腹板的拼接处沿所述骨架的长度方向错开布置。通过上述的设置,将支杆的拼接处与第一腹板的拼接处错开,可以避免应力在同一位置集中,提高主梁的结构强度和稳定性。
5、在上述无人机机翼的优选技术方案中,所述梁桁还包括与所述主梁并排布置的横桁,所述横桁包括布置在所述主梁与所述后墙之间的第一横桁和布置在所述主梁远离所述后墙一侧的第二横桁;所述第一横桁连接所述翼根与所述翼尖;所述第二横桁从所述翼根延伸至所述主梁中部。通过上述的设置,第二横桁从翼根延伸至主梁中部能够进一步的对翼根进行加固,增强无人机机翼的可靠性。
6、在上述无人机机翼的优选技术方案中,连接结构包括安装在所述骨架上的碳管、以及安装在所述翼根上的定位销;所述定位销布置在所述碳管的相对两侧。通过上述的设置,碳管连接机身和机翼,可以稳定机身和机翼,并且承受较大的外力和扭矩,机翼结构更加稳定可靠;定位销安装在翼根上,能够传递机翼扭矩,防止机翼绕碳管转动,使机翼与机身连接牢靠。
7、在上述无人机机翼的优选技术方案中,还包括沿所述梁桁的长度方向间隔布置的翼肋,靠近所述翼根的所述翼肋之间的间隔小于靠近所述翼尖的所述翼肋之间的间隔;所述碳管贯穿部分所述靠近所述翼根的所述翼肋。通过上述的设置,翼肋在梁桁的长度方向上呈不均匀分布,靠近翼根处较为密集,靠近翼尖处较为稀疏,能够进一步的对翼根进行加固,增强无人机机翼的可靠性。碳管贯穿部分靠近翼根的翼肋,梁桁的弯矩通过碳管传递给机身,能够进一步的增强无人机机翼的结构稳定,使得无人机机翼更加牢固。
8、在上述无人机机翼的优选技术方案中,靠近所述翼根的所述翼肋的实心度大于所述靠近所述翼尖的所述翼肋的实心度。通过上述的设置,靠近翼根处的翼肋实心度较高,能够增强翼根的稳定性;靠近翼尖处的翼肋实心度较低,能够减轻机翼的重量;两种翼肋相结合,使得机翼内部的密度非均匀分布,结构更加紧凑。
9、在上述无人机机翼的优选技术方案中,还包括发动机短舱和舵机组件,在发动机短舱内布置有电调和动力电机;在所述翼根上布置有与所述舵机组件和电调连接的快速对接插头,所述快速对接插头包括两根用于供电的粗针和若干用于传输控制信号的细针。通过上述的设置,通过快速对接插头连接机翼和机身,可实现机翼的快速拆装。
10、在上述无人机机翼的优选技术方案中,所述发动机短舱镂空布置。通过上述的设置,发动机短舱镂空布置,能够美化外观,减轻机翼重量,便于动力电机和电调排热,进而在一定程度上延长动力电池和电调的寿命。
11、在上述无人机机翼的优选技术方案中,还包括通过合页与所述骨架形成铰接配合的副翼,所述副翼与所述舵机组件相连。通过上述的设置,舵机组件控制副翼绕合页转动,改变气动载荷和升力大小,构成气动力外形,改变气动力方向,提升机翼的稳定性和操控性。
技术特征:
1.一种无人机机翼,其特征在于,包括:
2.根据权利要求1所述的无人机机翼,其特征在于,所述第一腹板(312)拼接布置,并且在所述第一腹板(312)的拼接处布置有连接板(314)。
3.根据权利要求2所述的无人机机翼,其特征在于,所述支杆(311)拼接布置,并且所述支杆(311)的拼接处与所述第一腹板(312)的拼接处沿所述骨架的长度方向错开布置。
4.根据权利要求1所述的无人机机翼,其特征在于,所述梁桁(3)还包括与所述主梁(31)并排布置的横桁(33),所述横桁(33)包括布置在所述主梁(31)与所述后墙(32)之间的第一横桁(331)和布置在所述主梁(31)远离所述后墙(32)一侧的第二横桁(332);所述第一横桁(331)连接所述翼根(1)与所述翼尖(2);所述第二横桁(332)从所述翼根(1)延伸至所述主梁(31)中部。
5.根据权利要求1所述的无人机机翼,其特征在于,连接结构(4)包括安装在所述骨架上的碳管(41)、以及安装在所述翼根(1)上的定位销(42);所述定位销(42)布置在所述碳管(41)的相对两侧。
6.根据权利要求5所述的无人机机翼,其特征在于,还包括沿所述梁桁(3)的长度方向间隔布置的翼肋(5),靠近所述翼根(1)的所述翼肋(5)之间的间隔小于靠近所述翼尖(2)的所述翼肋(5)之间的间隔;所述碳管(41)贯穿部分所述靠近所述翼根(1)的所述翼肋(5)。
7.根据权利要求6所述的无人机机翼,其特征在于,靠近所述翼根(1)的所述翼肋(5)的实心度大于所述靠近所述翼尖(2)的所述翼肋(5)的实心度。
8.根据权利要求1所述的无人机机翼,其特征在于,还包括发动机短舱(6)和舵机组件(7),在发动机短舱(6)内布置有电调和动力电机(61);在所述翼根(1)上布置有与所述舵机组件(7)和电调连接的快速对接插头(11),所述快速对接插头(11)包括两根用于供电的粗针和若干用于传输控制信号的细针。
9.根据权利要求8所述的无人机机翼,其特征在于,所述发动机短舱(6)镂空布置。
10.根据权利要求8所述的无人机机翼,其特征在于,还包括通过合页与所述骨架形成铰接配合的副翼(8);所述副翼(8)与所述舵机组件(7)相连。
技术总结
本发明涉及无人机领域,具体地涉及一种无人机机翼。该无人机机翼包括:骨架,包括翼根、与翼根相对布置的翼尖、以及连接翼根与翼尖的梁桁;梁桁包括主梁、以及与主梁并排布置的后墙;主梁包括连接翼根与翼尖的支杆、以及安装在支杆上的第一腹板和第二腹板;第一腹板从翼根延伸至翼尖,并且第二腹板靠近翼根;连接结构,安装在骨架上并适于与无人机的机身相连。本发明无人机机翼通过合理设置承力结构,兼顾了重量和可靠性,设计更加合理。
技术研发人员:张兵,张式建,张鑫,侯明,王殿宇,盛子豪,董友亮,汉田,王冬冬,范庚,孙维峰,窦泽超
受保护的技术使用者:中国人民解放军海军航空大学
技术研发日:
技术公布日:2024/9/2
技术研发人员:张兵,张式建,张鑫,侯明,王殿宇,盛子豪,董友亮,汉田,王冬冬,范庚,孙维峰,窦泽超
技术所有人:中国人民解放军海军航空大学
备 注:该技术已申请专利,仅供学习研究,如用于商业用途,请联系技术所有人。
声 明 :此信息收集于网络,如果你是此专利的发明人不想本网站收录此信息请联系我们,我们会在第一时间删除
