一种地理测绘用无人机的制作方法

本技术涉及无人机领域,尤其涉及一种地理测绘用无人机。
背景技术:
1、目前,随着地理信息系统与数字城市建设的发展与推广,地理测绘技术也逐渐在发展,现在人们多使用无人机对地理进行测绘,大大提高了地理测绘效率,在使用无人机对地理进行测绘后,需对无人机进行停机下降,但是由于测绘地区地形的复杂,因此有时无人机停机区域也相对复杂,在一些倾斜的地形上下落无人时会造成无人机的倾斜,甚至会造成无人机的损坏。
2、因此,有必要提供一种新的地理测绘用无人机解决上述技术问题。
技术实现思路
1、为解决上述技术问题,本实用新型提供一种地理测绘用无人机。
2、本实用新型提供的地理测绘用无人机包括:
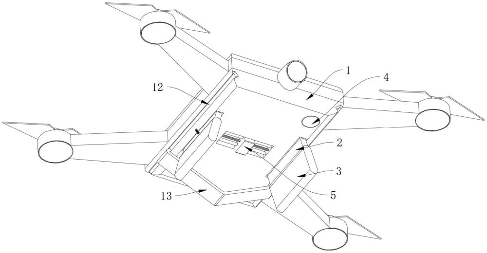
3、无人机本体,无人机本体的底部对称转动安装有转板,转板的底端外侧滑动安装有用于支撑无人机本体的支撑板,转板远离无人机本体的一端对称固定安装有缓冲弹簧,缓冲弹簧远离转板的一端与支撑板的内腔底部固定连接;
4、电子水平传感器,电子水平传感器固定安装在无人机本体的机舱底部,电子水平传感器与无人机本体的控制器电性连接;
5、配重块,配重块滑动安装在无人机本体的底部,配重块的移动受电子水平传感器的监测控制。
6、优选的,所述电子水平传感器偏于无人机本体的中线设置。
7、优选的,所述无人机本体的底部安装有用于驱动配重块左右移动的螺杆移动组件,所述配重块的两侧对称开设有限位孔,无人机本体的机舱底部对应限位孔的位置固定安装有限位杆,限位杆与限位孔滑动连接。
8、优选的,所述转板远离无人机本体的一端对称开设有定位孔,支撑板的内腔底部对应定位孔的位置对称固定安装有定位杆,定位杆与定位孔滑动连接,缓冲弹簧套设在定位杆的外侧设置。
9、优选的,所述支撑板的底部呈圆弧形设置。
10、优选的,所述转板的外侧固定安装有拉动弹簧,拉动弹簧远离转板的一端与无人机本体的机舱一侧固定连接。
11、优选的,所述无人机本体的机舱两侧对称开设有滑槽,两个滑槽之间滑动安装有用于对两个支撑板进行挤压收纳的收纳板。
12、优选的,两个所述支撑板在收纳时与收纳板的底部内壁贴合设置。
13、与现有技术相比较,本实用新型提供的地理测绘用无人机具有如下有益效果:
14、本实用新型提供一种地理测绘用无人机使用时,在地理测绘完毕对无人机本体进行停机下降时,选取较为平坦的地面,控制无人机本体下降,在处于相对有坡度的地面上时,无人机本体将出现倾斜的情况,此时支撑板将在转板的外侧滑动,通过缓冲弹簧将先对无人机本体的下降进行缓冲,对无人机本体的下落进行缓冲,电子水平传感器将检测到无人机本体的倾斜情况,螺杆移动组件将运作带动配重块移动至高处的一侧无人机本体,此时高处的一侧无人机本体上的支撑板将在转板的外侧,保证无人机本体的相对水平状态,提高无人机本体停机下落的稳定。
技术特征:
1.一种地理测绘用无人机,其特征在于,包括:
2.根据权利要求1所述的地理测绘用无人机,其特征在于,所述电子水平传感器(4)偏于无人机本体(1)的中线设置。
3.根据权利要求1所述的地理测绘用无人机,其特征在于,所述无人机本体(1)的底部安装有用于驱动配重块(5)左右移动的螺杆移动组件(6),所述配重块(5)的两侧对称开设有限位孔(7),无人机本体(1)的机舱底部对应限位孔(7)的位置固定安装有限位杆(8),限位杆(8)与限位孔(7)滑动连接。
4.根据权利要求3所述的地理测绘用无人机,其特征在于,所述转板(2)远离无人机本体(1)的一端对称开设有定位孔(9),支撑板(3)的内腔底部对应定位孔(9)的位置对称固定安装有定位杆(10),定位杆(10)与定位孔(9)滑动连接,缓冲弹簧(14)套设在定位杆(10)的外侧设置。
5.根据权利要求4所述的地理测绘用无人机,其特征在于,所述支撑板(3)的底部呈圆弧形设置。
6.根据权利要求1所述的地理测绘用无人机,其特征在于,所述转板(2)的外侧固定安装有拉动弹簧(11),拉动弹簧(11)远离转板(2)的一端与无人机本体(1)的机舱一侧固定连接。
7.根据权利要求6所述的地理测绘用无人机,其特征在于,所述无人机本体(1)的机舱两侧对称开设有滑槽(12),两个滑槽(12)之间滑动安装有用于对两个支撑板(3)进行挤压收纳的收纳板(13)。
8.根据权利要求7所述的地理测绘用无人机,其特征在于,两个所述支撑板(3)在收纳时与收纳板(13)的底部内壁贴合设置。
技术总结
本技术涉及无人机领域,尤其涉及一种地理测绘用无人机,所述地理测绘用无人机包括:无人机本体,无人机本体的底部对称转动安装有转板,本技术提供的地理测绘用无人机使用时,在地理测绘完毕对无人机本体进行停机下降时,在无人机本体处于相对有坡度的地面下降时,无人机本体将出现倾斜的情况,通过缓冲弹簧将先对无人机本体的下降进行缓冲,对无人机本体的下落进行缓冲,电子水平传感器将检测到无人机本体的倾斜情况,螺杆移动组件将运作带动配重块移动至高处的一侧无人机本体,此时高处的一侧无人机本体上的支撑板将在转板的外侧,保证无人机本体的相对水平状态,提高无人机本体停机下落的稳定。
技术研发人员:卢彬
受保护的技术使用者:卢彬
技术研发日:20240201
技术公布日:2024/9/2
技术研发人员:卢彬
技术所有人:卢彬
备 注:该技术已申请专利,仅供学习研究,如用于商业用途,请联系技术所有人。
声 明 :此信息收集于网络,如果你是此专利的发明人不想本网站收录此信息请联系我们,我们会在第一时间删除
