一种锅炉热控调节器的制作方法

本发明涉及锅炉热控,尤其涉及一种锅炉热控调节器。
背景技术:
1、电厂锅炉,火电厂三大主设备之一,由锅炉本体和辅助设备构成,它利用燃料燃烧时产生的热量使水变成具有一定温度和压力的过热蒸汽,以驱动汽轮发电机发电,在使用与维护时,对其安全性要求极高。
2、如公告号为cn214664581u的发明公开了一种电厂用锅炉炉膛压力热控调节器,属于压力调控技术领域,包括炉体,炉体的一侧设有泄压孔,泄压孔的上下两侧均固定连接有滑杆,两个滑杆靠近炉体的一端均滑动套接有滑套,两个滑套相对的一侧通过调节板固定连接,调节板靠近泄压孔的一侧固定连接有活塞,活塞的一侧与泄压孔相抵,两个滑杆远离炉体的一端通过支撑座固定连接,支撑座内转动连接有螺杆,螺杆的一端与支撑座的顶部内壁转动连接,螺杆的另一端贯穿支撑座的底部内壁并向下延伸,螺杆的另一端固定连接有电机,此发明中通过压力调节装置对炉体内部的压力进行调节,其调节方便,通过温度监控装置对温度进行监控,其安全措施好,大大提高了该炉体的使用安全性。
3、然而上述技术存在以下问题:电厂用锅炉炉膛压力热控调节器在使用的过程中压力调节装置对炉体内部的压力进行调节,以大大提高了该炉体的使用安全性,但大多数密封机构在使用的过程中仅通过驱动机构对密封板的移动位置进行限制,使得后续密封板遭受较大压力是驱动机构容易产生弯折,因此降低了该设备的实用性。
技术实现思路
1、有鉴于此,本发明提出了一种锅炉热控调节器。
2、为了实现上述目的,本发明采用了如下技术方案:
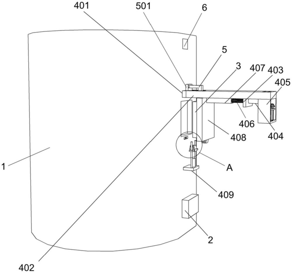
3、一种锅炉热控调节器,包括锅炉主体;所述锅炉主体的正面开设有排气孔;所述排气孔内嵌入卡设有密封板;所述锅炉主体的正面设有驱动机构;
4、所述驱动机构包括固定板组件、水平运动驱动组件、垂直运动驱动组件、齿条一和齿条二;所述锅炉主体的正面设有固定板组件;所述固定板组件上设有水平运动驱动组件;所述水平运动驱动组件的背面和所述密封板的正面固定连接;所述水平运动驱动组件的下端固定设有齿条一;所述锅炉主体的正面设有垂直运动驱动组件;所述垂直运动驱动组件的上端固定设有齿条二;所述齿条一的下端齿牙和所述齿条二的上端齿牙相互啮合。
5、进一步地,所述固定板组件包括固定块、固定板和u型固定板;
6、所述锅炉主体的正面和所述固定块的背面固定连接;
7、所述固定块的正面上端和所述固定板的背面上端通过合页销接连接;
8、所述固定板的正面下端和所述u型固定板的上端固定连接。
9、进一步地,所述水平运动驱动组件包括电机、锥形齿轮一、锥形齿轮二、旋转杆、连接块、螺杆、固定套筒和推板;
10、所述电机固定设于所述u型固定板的内壁上;
11、所述电机的输出轴和所述锥形齿轮一的中心轴固定连接;
12、所述锥形齿轮一和所述锥形齿轮二相互啮合;
13、所述锥形齿轮二的中心轴和所述旋转杆的正面固定连接;
14、所述连接块的上端和所述固定板的下端固定连接;所述旋转杆穿设过所述连接块;
15、所述旋转杆的背面和所述螺杆的正面固定连接;
16、所述螺杆的外周面和所述固定套筒螺纹连接;
17、所述固定套筒的背面和所述推板的正面固定连接;
18、所述推板的背面和所述密封板的正面固定连接。
19、进一步地,所述齿条一的上端和所述推板的下端固定连接。
20、进一步地,所述推板的背面开设有回字形凹槽;
21、所述回字形凹槽的内部嵌入设有密封垫;
22、所述密封垫的背面和所述锅炉主体的正面相贴。
23、进一步地,所述垂直运动驱动组件包括底座、液压缸和顶板;
24、所述锅炉主体的正面固定设有底座;
25、所述底座的上端固定设有液压缸;
26、所述液压缸的活塞杆的上端和所述顶板的下端固定连接;
27、所述顶板的上端和所述齿条二的下端固定连接。
28、进一步地,所述垂直运动驱动组件的侧端设有固定机构;
29、所述固定机构包括定位块和固定杆;
30、所述定位块的侧端和所述顶板的侧端固定连接;
31、所述固定杆穿设过所述定位块;
32、所述固定杆的下端和所述底座的上端固定连接。
33、进一步地,所述锅炉主体的正面设置有压力传感器;
34、所述锅炉主体的正面开设有定位卡槽;所述定位卡槽的内部固定设有触点式开关;
35、所述触点式开关的外端面和所述锅炉主体的正面相互平行;所述触点式开关的底端高度高于所述推板的底端高度;
36、所述压力传感器的输出端、所述触点式开关的输出端分别和控制器的输入端电气连接,控制器的输出端分别和所述电机的输入端、所述液压缸的输入端电气连接。
37、进一步地,所述驱动机构的上端设有限位机构;
38、所述限位机构包括回字形固定块及l型限位块;
39、所述固定块的上端固定设有回字形固定块;
40、所述固定板的上端面纵向开设有卡槽;所述l型限位块的竖直部和所述卡槽滑动连接;所述l型限位块的水平部嵌入设于所述回字形固定块的槽内;
41、所述l型限位块的水平部底面和所述固定板的上端面之间的距离小于所述固定块的前后两侧面之间的宽度。
42、进一步地,还包括定位机构;
43、所述定位机构包括铁片和磁块;
44、所述锅炉主体的正面固定设有所述铁片;
45、所述固定板的上端面固定设有所述磁块;所述固定板沿着合页转动,所述磁块转动至和所述铁片磁性相吸。
46、与现有的技术相比,本发明的有益效果是:
47、(1)本发明提供的锅炉热控调节器,通过推板的背面抵接在触点式开关的正面,使得触点式开关触发启动液压缸,液压缸推动顶板带动齿条二进行移动,将齿条二的齿牙和齿条一的齿牙相互啮合,进而使得齿条一及齿条二对推板底端的位置进行限制;再通过固定套筒的背面抵接在推板的正面,使得推板上下两端的位置均被限制定位,从而尽量避免后续密封板遭受锅炉主体内部压力挤压时推板的一端翘起而导致驱动机构产生弯折,因此提高了驱动机构的使用寿命;
48、(2)本发明提供的锅炉热控调节器,通过两组定位块对顶板进行移动过程中的移动路径进行限制,从而尽量避免后续顶板在移动的过程中位置出现偏移而导致两组液压缸出现弯折。
技术特征:
1.一种锅炉热控调节器,包括锅炉主体(1);其特征在于,所述锅炉主体(1)的正面开设有排气孔;所述排气孔内嵌入卡设有密封板(3);所述锅炉主体(1)的正面设有驱动机构(4);
2.根据权利要求1所述的一种锅炉热控调节器,其特征在于,所述固定板(402)组件包括固定块(401)、固定板(402)和u型固定板(405);
3.根据权利要求2所述的一种锅炉热控调节器,其特征在于,所述水平运动驱动组件包括电机(413)、锥形齿轮一(414)、锥形齿轮二(415)、旋转杆(404)、连接块(403)、螺杆(406)、固定套筒(407)和推板(408);
4.根据权利要求3所述的一种锅炉热控调节器,其特征在于,所述齿条一(412)的上端和所述推板(408)的下端固定连接。
5.根据权利要求3所述的一种锅炉热控调节器,其特征在于,所述推板(408)的背面开设有回字形凹槽;
6.根据权利要求1所述的一种锅炉热控调节器,其特征在于,所述垂直运动驱动组件包括底座(409)、液压缸(410)和顶板(411);
7.根据权利要求6所述的一种锅炉热控调节器,其特征在于,所述垂直运动驱动组件的侧端设有固定机构(7);
8.根据权利要求6所述的一种锅炉热控调节器,其特征在于,所述锅炉主体(1)的正面设置有压力传感器(2);
9.根据权利要求1所述的一种锅炉热控调节器,其特征在于,所述驱动机构(4)的上端设有限位机构(5);
10.根据权利要求2所述的一种锅炉热控调节器,其特征在于,还包括定位机构(6);
技术总结
本发明公开了一种锅炉热控调节器,包括锅炉主体;锅炉主体的正面开设有排气孔;排气孔内卡设有密封板;锅炉主体的正面设有驱动机构;驱动机构包括固定板组件、水平运动驱动组件、垂直运动驱动组件、齿条一和齿条二;锅炉主体的正面设有固定板组件;固定板组件上设有水平运动驱动组件;水平运动驱动组件的背面和密封板的正面连接;水平运动驱动组件的下端固定设有齿条一;锅炉主体的正面设有垂直运动驱动组件;垂直运动驱动组件的上端设有齿条二;齿条一和齿条二相互啮合。本发明提供的一种锅炉热控调节器,解决了大多数密封机构在使用的过程中仅通过驱动机构对密封板的移动位置进行限制,使得后续密封板遭受较大压力容易产生弯折的问题。
技术研发人员:梁超,陈林,曾祖亮,刘霞,郭时胜,杨飞,陶俊龙,张卫
受保护的技术使用者:四川广安发电有限责任公司
技术研发日:
技术公布日:2024/9/2
技术研发人员:梁超,陈林,曾祖亮,刘霞,郭时胜,杨飞,陶俊龙,张卫
技术所有人:四川广安发电有限责任公司
备 注:该技术已申请专利,仅供学习研究,如用于商业用途,请联系技术所有人。
声 明 :此信息收集于网络,如果你是此专利的发明人不想本网站收录此信息请联系我们,我们会在第一时间删除
