一种物流自动输送分拣机的制作方法

本实用新型涉及一种分拣机,特别涉及一种物流输送自动分拣机,属于物流机械技术领域。
背景技术:
在电子商务蓬勃发展的现代社会,物流业的规模也日益壮大,各种各样的物品每天通过物流从商家送至消费者,其件数计量的话将是天文数字,伴随着物流业的快速发展,物件的分拣作业量也剧烈猛增,人工分拣无论从效率、质量和准确性上均无法满足分拣作业的要求,为了高效准确进行物件的分拣作业,各大电商/物流商纷纷成立的大的分拣中心,采用大型分拣设备对各物件进行分拣,由于我国的物流情况十分复杂,各物流商的业务规模不同,即使同一物流商在不同地域的业务类型和规模也有很大的差异,所以大的分拣中心自动化程度高、价格昂贵的设备比较适用于大型集散地,对于一些规模较小的转运地还需要各种价格低廉、结构简答的物流自动输送分拣机,目前分拣机中有一种滑槽式分拣机,靠多根并列的皮带输送物件,在皮带间隙中设置有顶升结构,在顶升结构出配合设置倾斜向下的滑槽,当物件到来时,如果控制系统确认是进入该滑槽的物品,则控制顶升机构顶起,使物品从滑槽中滑入滑槽中,该机构在应用时有如下缺陷,因为物品在皮带上是向前运行的,顶升机构顶升起物品后,由于物品还有向前行进的惯性,为了克服这种惯性,要求物品与相接触的顶升机构之间有一定的摩擦力,但由于顶升起物品后还要使其进入滑槽中,为了克服摩擦力,就要求顶升机构具有一定的倾斜度,而且滑槽本身也要求有倾斜度,这就为传输带的安装高度有了一定的要求,对顶升机构的倾斜度和形成也有较高的要求,这些均不利于分拣机的制造和正常工作使用。
技术实现要素:
本实用新型的目在于克服目前的物件分拣机存在的上述缺陷,提供一种物流自动输送分拣机。
为实现本实用新型的目的,采用了下述的技术方案:一种物流自动输送分拣机,包括多条并列的同步输送皮带,多条并列的输送皮带之间具有间隙,在输送皮带的侧面设置有多个倾斜向下的滑槽,各滑槽位于输送皮带的端部具有槽口,在各槽口部位的皮带下方设置有顶升装置,所述的顶升装置包括多个位于皮带下方的顶升辊,顶升辊连接有顶升驱动装置,所述的顶升辊在皮带宽度方向上与多条并列的输送皮带之间的间隙位置相对应,所述的顶升辊穿设在辊轴上,远离槽口的顶升辊高度高于接近槽口的顶升辊高度,所述的各顶升辊在物料行进方向上外径逐渐增大,进一步的,所述的顶升辊外表面具有螺旋凸齿结构,螺旋凸齿在在物料行进方向上外径逐渐增大,进一步的,所述的同步输送皮带两侧设置有挡沿,进一步的,所述的同步输送皮带前方设置有自动扫码装置,自动扫码装置连接至控制系统,所述的顶升装置也连接至控制系统。
本实用新型的积极有益技术效果在于:本实用新型采用在物料行进方向上外径逐渐增大顶升辊,顶升起物件时可以克服物料行进时的惯性,降低对顶升面的摩擦力的要求,采用在顶升辊外表面设置螺旋凸齿结构,物件向滑槽口滑动时从传统的面接触变为线接触甚至点接触,大大的降低了物件滑动时的摩擦阻力,能够有效的防止物件滞留,又能够降低对传送带高度的硬性要求。
附图说明
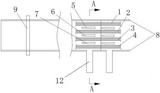
图1是本实用新型的俯视示意图。
图2是图1中A-A向的剖视示意图。
图3是本实用新型顶升辊的一种示意图。
图4是本实用新型顶升辊的另一种示意图。
具体实施方式
为了更充分的解释本实用新型的实施,提供本实用新型的实施实例。这些实施实例仅仅是对本实用新型的阐述,不限制本实用新型的范围。
结合附图对本实用新型进一步详细的解释,附图中各标记为:1:输送皮带一;2:输送皮带二;3:输送皮带三;4:输送皮带四;5:顶升辊一;51:顶升辊一小径端;52:顶升辊一大径端;53:螺旋凸齿;6:顶升辊二;7:顶升辊三;8:挡沿;9:自动扫码装置;10:顶升气缸;11:气缸底座;12:滑槽。如各附图所示,一种物流自动输送分拣机,包括多条并列的同步输送皮带,图中1、2、3、4所示为四条并列的同步输送带,四条并列的输送皮带之间具有间隙,在输送皮带的侧面设置有多个倾斜向下的滑槽,12所示为滑槽,各滑槽位于输送皮带的端部具有槽口,在各槽口部位的皮带下方设置有顶升装置,所述的顶升装置包括多个位于皮带下方的顶升辊,所述的顶升辊在皮带宽度方向上与多条并列的输送皮带之间的间隙位置相对应,图中示出的5、6、7分别为三个并列的顶升辊,所述的顶升辊穿设在辊轴上,远离槽口的顶升辊高度高于接近槽口的顶升辊高度,图中顶升辊一的高度大于顶升辊三的高度,所述的各顶升辊在物料行进方向上外径逐渐增大,顶升辊连接有图中顶升驱动装置采用顶升气缸10,顶升气缸缸尾连接在气缸底座11上,缸杆通过支架连接各顶升辊,图1中从左至右为物料行进方向,更为优化的,在顶升辊外表面具有螺旋凸齿结构,如图4所示,53为螺旋凸齿,螺旋凸齿在在物料行进方向上外径逐渐增大,同步输送皮带两侧设置有挡沿8,在同步输送皮带前方设置有自动扫码装置9,自动扫码装置9连接至控制系统,顶升装置也连接至控制系统。本实用新型工作时,经过扫码后的物件信息传输至控制系统,当物件到达其相应的滑槽位置时,控制系统控制该处的顶升装置快速升起是物件通过滑槽完成分拣。
在详细说明本实用新型的实施方式之后,熟悉该项技术的人士可清楚地了解,在不脱离上述申请专利范围与精神下可进行各种变化与修改,凡依据本实用新型的技术实质对以上实施例所作的任何简单修改、等同变化与修饰,均属于本实用新型技术方案的范围,且本实用新型亦不受限于说明书中所举实例的实施方式。
技术研发人员:王萌皎
技术所有人:王萌皎
备 注:该技术已申请专利,仅供学习研究,如用于商业用途,请联系技术所有人。
声 明 :此信息收集于网络,如果你是此专利的发明人不想本网站收录此信息请联系我们,我们会在第一时间删除
