一种西瓜种子浸泡装置的制作方法

本技术涉及西瓜种植,尤其涉及一种西瓜种子浸泡装置。
背景技术:
1、西瓜种子是指用来种植西瓜的种子,西瓜是一种夏季常见的水果,种植西瓜需要选择好品种的种子,适当的土壤、水分和光照条件,以及适宜的种植方法,种植西瓜可以通过种子直接撒播或是先在苗床育苗后移植至田地,通过合理的管理和护理,西瓜种子能够长成茁壮的西瓜植株,最终结果出甜美的西瓜果实。
2、而在种植西瓜时,常常会对西瓜种子进行浸泡处理,浸泡有助于提高西瓜种子的萌发率和抗病能力,促进幼苗生长,浸泡的方法可以是将西瓜种子放入水中浸泡一定的时间,也可以加入适量的营养液进行浸泡。
3、在对西瓜种子进行浸泡时,有时可能会忘记浸泡时间,导致西瓜种子浸泡时间过长,时间过长则导致吸水过多,造成咧嘴,影响西瓜种子发芽,故而提出了一种西瓜种子浸泡装置来解决以上问题。
技术实现思路
1、(一)实用新型目的
2、为解决背景技术中存在的技术问题,本实用新型提出一种西瓜种子浸泡装置,通过升降机构与定时控制器相配合,从而可以对定时控制器进行定时,当时间到后,升降机构可以带动浸泡组件上升,防止有时可能会忘记浸泡时间,影响西瓜种子发芽。
3、(二)技术方案
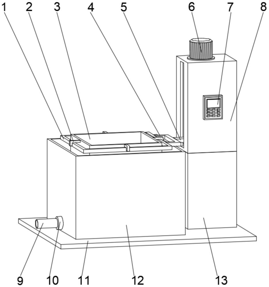
4、本实用新型提供了一种西瓜种子浸泡装置,包括底板,所述底板的上端面设有水箱与垫块,所述水箱位于所述垫块的左侧,所述垫块的上端面设有安装外壳,所述水箱左端面的下方设有出水组件,所述安装外壳的内部设有可进行上下移动的升降机构,所述升降机构的升降端贯穿于所述安装外壳的左端面并与连接架相连接,所述连接架的左侧设有安装架且位于所述水箱的上方,所述安装架内部放置有浸泡组件,所述浸泡组件位于所述水箱的内部,所述安装外壳的正面设有定时控制器,所述定时控制器与所述升降机构之间为电性连接。
5、优选的,所述升降机构包括驱动组件、升降板、螺纹杆以及滑杆,所述滑杆设于所述安装外壳内顶壁与内底壁之间,所述驱动组件设于所述安装外壳的上端面上,所述螺纹杆下端面与所述安装外壳的内底壁之间为转动连接,所述螺纹杆的顶部贯穿于所述安装外壳的上端面并与所述驱动组件的驱动端相连接,所述螺纹杆与所述滑杆贯穿于所述升降板,所述螺纹杆与所述升降板之间为螺纹连接,所述升降板通过开槽贯穿于所述安装外壳的左端面,所述升降板的左端面通过所述连接架与所述安装架相连接。
6、优选的,所述驱动组件包括驱动电机,所述驱动电机设于所述安装外壳的上端面上,所述螺纹杆的顶部与所述驱动电机下侧输出端通过联轴器同轴连接,所述定时控制器与所述驱动电机之间为电性连接。
7、优选的,所述浸泡组件包括安装勾与浸泡箱,所述浸泡箱的多个外端面均分别与所述安装勾相连接,所述浸泡箱通过多个所述安装勾放置于所述安装架上,且所述浸泡箱位于所述安装架的内部且位于所述水箱的内部。
8、优选的,所述浸泡箱的下端面贯穿有多个间隔分布的开孔。
9、优选的,所述出水组件包括出水管与控制阀,所述出水管贯穿于所述水箱左端面的下方,所述控制阀设于所述出水管的外端面上。
10、与现有技术相比,本实用新型的上述技术方案具有如下有益的技术效果:该西瓜种子浸泡装置,通过升降机构与定时控制器相配合,从而可以对定时控制器进行定时,当时间到后,升降机构可以带动浸泡组件上升,防止有时可能会忘记浸泡时间,导致浸泡组件内部的西瓜种子浸泡时间过长,影响西瓜种子发芽。
技术特征:
1.一种西瓜种子浸泡装置,其特征在于,包括底板(11),所述底板(11)的上端面设有水箱(12)与垫块(13),所述水箱(12)位于所述垫块(13)的左侧,所述垫块(13)的上端面设有安装外壳(8),所述水箱(12)左端面的下方设有出水组件,所述安装外壳(8)的内部设有可进行上下移动的升降机构,所述升降机构的升降端贯穿于所述安装外壳(8)的左端面并与连接架(4)相连接,所述连接架(4)的左侧设有安装架(1)且位于所述水箱(12)的上方,所述安装架(1)内部放置有浸泡组件,所述浸泡组件位于所述水箱(12)的内部,所述安装外壳(8)的正面设有定时控制器(7),所述定时控制器(7)与所述升降机构之间为电性连接。
2.根据权利要求1所述的一种西瓜种子浸泡装置,其特征在于,所述升降机构包括驱动组件、升降板(5)、螺纹杆(15)以及滑杆(16),所述滑杆(16)设于所述安装外壳(8)内顶壁与内底壁之间,所述驱动组件设于所述安装外壳(8)的上端面上,所述螺纹杆(15)下端面与所述安装外壳(8)的内底壁之间为转动连接,所述螺纹杆(15)的顶部贯穿于所述安装外壳(8)的上端面并与所述驱动组件的驱动端相连接,所述螺纹杆(15)与所述滑杆(16)贯穿于所述升降板(5),所述螺纹杆(15)与所述升降板(5)之间为螺纹连接,所述升降板(5)通过开槽贯穿于所述安装外壳(8)的左端面,所述升降板(5)的左端面通过所述连接架(4)与所述安装架(1)相连接。
3.根据权利要求2所述的一种西瓜种子浸泡装置,其特征在于,所述驱动组件包括驱动电机(6),所述驱动电机(6)设于所述安装外壳(8)的上端面上,所述螺纹杆(15)的顶部与所述驱动电机(6)下侧输出端通过联轴器同轴连接,所述定时控制器(7)与所述驱动电机(6)之间为电性连接。
4.根据权利要求1所述的一种西瓜种子浸泡装置,其特征在于,所述浸泡组件包括安装勾(2)与浸泡箱(3),所述浸泡箱(3)的多个外端面均分别与所述安装勾(2)相连接,所述浸泡箱(3)通过多个所述安装勾(2)放置于所述安装架(1)上,且所述浸泡箱(3)位于所述安装架(1)的内部且位于所述水箱(12)的内部。
5.根据权利要求4所述的一种西瓜种子浸泡装置,其特征在于,所述浸泡箱(3)的下端面贯穿有多个间隔分布的开孔(14)。
6.根据权利要求1所述的一种西瓜种子浸泡装置,其特征在于,所述出水组件包括出水管(9)与控制阀(10),所述出水管(9)贯穿于所述水箱(12)左端面的下方,所述控制阀(10)设于所述出水管(9)的外端面上。
技术总结
本技术公开了一种西瓜种子浸泡装置,包括底板,所述底板的上端面设有水箱与垫块,所述水箱位于所述垫块的左侧,所述垫块的上端面设有安装外壳,所述水箱左端面的下方设有出水组件,所述安装外壳的内部设有可进行上下移动的升降机构,所述升降机构的升降端贯穿于所述安装外壳的左端面并与所述连接架相连接,所述连接架的左侧设有安装架且位于所述水箱的上方,所述安装架内部放置有浸泡组件,所述浸泡组件位于所述水箱的内部,所述安装外壳的正面设有定时控制器,所述定时控制器与所述升降机构之间为电性连接。本技术,防止有时可能会忘记浸泡时间,导致浸泡组件内部的西瓜种子浸泡时间过长,影响西瓜种子发芽。
技术研发人员:刘伟
受保护的技术使用者:荆门市荆双井农业发展有限公司
技术研发日:20231127
技术公布日:2024/8/16
技术研发人员:刘伟
技术所有人:荆门市荆双井农业发展有限公司
备 注:该技术已申请专利,仅供学习研究,如用于商业用途,请联系技术所有人。
声 明 :此信息收集于网络,如果你是此专利的发明人不想本网站收录此信息请联系我们,我们会在第一时间删除
