农田药物施用设备的制作方法

本技术涉及农业机械设备领域,具体涉及一种农田药物施用设备。
背景技术:
1、打药是设施蔬菜生产中关键的作业环节,由于设施空间有限及日光温室多以南北向定植管理为主,大型打药机无法正常通行,小型打药机多数需要人工背负或近距离操作,劳动强度大,存在农药中毒的风险,导致使用不便。
技术实现思路
1、本实用新型为了解决现有技术的打药机使用不便的技术问题,提供一种调节杆可折叠的农田药物施用设备。
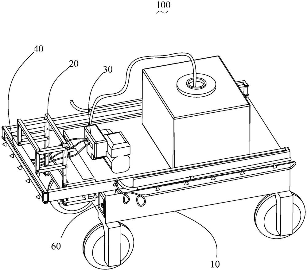
2、一种农田药物施用设备,包括车体、农田药物抽取器、支架、调节杆、喷头及软管,所述农田药物抽取器固定于所述车体,所述支架固定于所述车体一侧,所述调节杆包括主杆和连杆,所述主杆固定于所述支架远离所述车体端,所述连杆包括第一杆体和第二杆体,所述第一杆体的第一端与所述主杆端部铰接,所述第一杆体的第二端与所述第二杆体的第一端铰接,所述喷头固定于所述第二杆体,通过所述软管与所述农田药物抽取器连通。
3、一实施例中,所述第一杆体的第一端与所述主杆端部90度铰接,所述第一杆体的第二端与所述第二杆体的第一端180度铰接。
4、一实施例中,还包括第一旋转电机和第二旋转电机,所述第一旋转电机设于所述第一杆体的第一端与所述主杆端部铰接处,所述第二旋转电机设于所述第一杆体的第二端与所述第二杆体的第一端铰接处。
5、一实施例中,还包括控制器,所述控制器固定于所述车体,与所述农田药物抽取器、所述第一旋转电机及所述第二旋转电机电连接。
6、一实施例中,所述支架,包括第一横杆、竖杆及第二横杆,所述第一横杆一端固定于所述车体,所述第二横杆一端与所述主杆固定连接,所述竖杆具有多个竖直方向分布的安装孔,所述第一横杆和所述第二横杆的另一端可安装于不同的所述安装孔,以调节所述调节杆相对于所述车体的安装高度。
7、一实施例中,所述第二横杆两端具有u型夹,所述主杆和所述竖杆嵌入所述u型夹,通过螺栓固定,所述主杆和所述竖杆与所述u型夹的底面初始保持预定间隙。
8、一实施例中,还包括多个固定件,沿所述调节杆分布固定,固定所述软管,引导所述软管沿所述调节杆延伸,所述喷头临近所述第二杆体的第二端设置。
9、一实施例中,还包括扫描器,所述车体包括底盘和车轮,所述车轮固定于所述底盘朝向农田侧,所述扫描器和所述支架固定于所述底盘前进侧。
10、一实施例中,所述扫描器为激光雷达。
11、一实施例中,还包括农药收容器,所述农药收容器固定于所述车体,与所述农田药物抽取器连通。
12、相较于现有技术,本实用新型提供的农田药物使用设备的调节杆通过所述支架固定于所述车体,所述调节杆设置铰接的主杆和连杆,所述连杆设置铰接的所述第一杆体和所述第二杆体,所述第一杆体的第一端与所述主杆端部铰接,所述第一杆体的第二端与所述第二杆体的第一端铰接,通过所述主杆和所述第一杆体的铰接,所述第一杆体与所述第二杆体的铰接,实现折叠所述调节杆,在折叠状态下体积小,在设施内的非垄面区可以正常通行,打开状态下,可以对垄面打药,使用方便。
技术特征:
1.一种农田药物施用设备,其特征在于,包括:
2.根据权利要求1所述的农田药物施用设备,其特征在于,所述第一杆体的第一端与所述主杆端部90度铰接,所述第一杆体的第二端与所述第二杆体的第一端180度铰接。
3.根据权利要求1所述的农田药物施用设备,其特征在于,还包括第一旋转电机和第二旋转电机,所述第一旋转电机设于所述第一杆体的第一端与所述主杆端部铰接处,所述第二旋转电机设于所述第一杆体的第二端与所述第二杆体的第一端铰接处。
4.根据权利要求3所述的农田药物施用设备,其特征在于,还包括控制器,所述控制器固定于所述车体,与所述农田药物抽取器、所述第一旋转电机及所述第二旋转电机电连接。
5.根据权利要求1所述的农田药物施用设备,其特征在于,所述支架,包括第一横杆、竖杆及第二横杆,所述第一横杆一端固定于所述车体,所述第二横杆一端与所述主杆固定连接,所述竖杆具有多个竖直方向分布的安装孔,所述第一横杆和所述第二横杆的另一端可安装于不同的所述安装孔,以调节所述调节杆相对于所述车体的安装高度。
6.根据权利要求5所述的农田药物施用设备,其特征在于,所述第二横杆两端具有u型夹,所述主杆和所述竖杆嵌入所述u型夹,通过螺栓固定,所述主杆和所述竖杆与所述u型夹的底面初始保持预定间隙。
7.根据权利要求1所述的农田药物施用设备,其特征在于,还包括多个固定件,沿所述调节杆分布固定,固定所述软管,引导所述软管沿所述调节杆延伸,所述喷头临近所述第二杆体的第二端设置。
8.根据权利要求1所述的农田药物施用设备,其特征在于,还包括电连接的扫描器及控制器,所述车体包括底盘和车轮,所述车轮固定于所述底盘朝向农田侧,所述扫描器和所述支架固定于所述底盘前进侧。
9.根据权利要求8所述的农田药物施用设备,其特征在于,所述扫描器为激光雷达。
10.根据权利要求1所述的农田药物施用设备,其特征在于,还包括农药收容器,所述农药收容器固定于所述车体,与所述农田药物抽取器连通。
技术总结
本技术提供一种农田药物施用设备,包括车体、农田药物抽取器、支架、调节杆、喷头及软管,所述农田药物抽取器固定于所述车体,所述支架固定于所述车体,所述调节杆包括主杆和连杆,所述主杆固定于所述支架远离所述车体端,所述连杆包括第一杆体和第二杆体,所述第一杆体的第一端与所述主杆端部铰接,所述第一杆体的第二端与所述第二杆体的第一端铰接,所述喷头固定于所述第二杆体,通过所述软管与所述农田药物抽取器连通。本技术的农田药物施用设备通过所述主杆与所述第一杆体铰接,所述第一杆体和所述第二杆体铰接,实现折叠所述调节杆,在折叠状态下体积小,在设施内的非垄面区可以正常通行,打开状态下,可以对垄面打药,使用方便。
技术研发人员:禹振军,安红艳,胡浩,盛顺,刘旺,秦贵,王硕,张京开
受保护的技术使用者:北京市农业机械试验鉴定推广站
技术研发日:20231231
技术公布日:2024/8/27
技术研发人员:禹振军,安红艳,胡浩,盛顺,刘旺,秦贵,王硕,张京开
技术所有人:北京市农业机械试验鉴定推广站
备 注:该技术已申请专利,仅供学习研究,如用于商业用途,请联系技术所有人。
声 明 :此信息收集于网络,如果你是此专利的发明人不想本网站收录此信息请联系我们,我们会在第一时间删除
