一种农业种植用的水肥一体储料装置的制作方法

本技术涉及一种储料装置,尤其涉及一种农业种植用的水肥一体储料装置。
背景技术:
1、水利是农业的命脉,农业的发展离不开各种施肥机器,小到农民家里都有的背负式喷雾打药机,大到大田经济作物栽培用的水肥一体机施肥系统,大部分的储料装置都是将水和肥料放置到同一个储料箱内,容易导致储料较多,水和一些固体肥料无法充分搅拌均匀,搅拌不均匀容易导致出料口堵塞。
2、因此,我们需要设计一种具有搅拌功能的农业种植用的水肥一体储料装置。
技术实现思路
1、本实用新型为了克服储料箱内储料较多时,水和固体肥料无法充分搅拌均匀,搅拌不均匀容易导致出料口堵塞的缺点,本实用新型要解决的技术问题是提供一种具有搅拌功能的农业种植用的水肥一体储料装置。
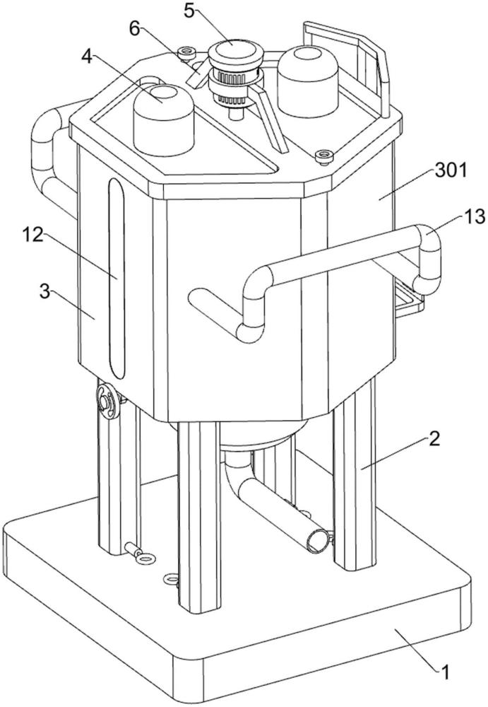
2、为了解决上述技术问题,本实用新型提供了一种农业种植用的水肥一体储料装置,包括有底板、支撑脚、储水箱、肥料箱、隔离板、放料口、出料口和搅拌机构,底板上开设有若干个凹槽,底板顶部安装有若干对支撑脚,支撑脚上安装有储水箱和肥料箱,储水箱和肥料箱之间设有隔离板,储水箱和肥料箱上均设置有放料口,隔离板底部安装有搅拌机构,搅拌机构底部开设有出料口。
3、优选地,还包括有搅拌机构,所述搅拌机构包括电机、混料盒、连接杆、搅拌扇叶、球阀、手轮和支撑架,储水箱和肥料箱底部均安装有球阀,球阀一侧均设置有手轮,手轮均贯穿混料盒一侧旋转式安装在储水箱和肥料箱的底部,储水箱和肥料箱的底部共同安装有混料盒,隔离板顶部相对称安装有支撑架,支撑架上安装有电机,电机的输出轴通过联轴器连接有连接杆,连接杆上设置有搅拌扇叶,搅拌扇叶在混料盒内部。
4、优选地,还包括有梯形清理条、连接架和第一把手,肥料箱内滑动式贯穿连接有连接架的一部分,连接架底部安装有梯形清理条,连接架位于肥料箱外侧部分安装有第一把手。
5、优选地,还包括有卡板、拉杆和弹性件,支撑脚底部均贯穿设置有拉杆,拉杆上套有弹性件,拉杆一端安装有卡板,卡板与底板上的凹槽活动式卡接。
6、优选地,还包括有观测条,储水箱和肥料箱一侧均设置有观测条。
7、优选地,还包括有第二把手,储水箱和肥料箱上共同相对称设有第二把手。
8、本实用新型的有益效果:工作人员转动手轮打开球阀,将水和肥料配比好后,转动手轮关闭球阀,接通电源,电机工作带动搅拌机构转动,将水和肥料充分搅拌后从出料口流出,达到水肥搅拌均匀,不易堵塞出料口的效果。
技术特征:
1.一种农业种植用的水肥一体储料装置,包括有底板(1)和支撑脚(2),底板(1)顶部安装有若干对支撑脚(2),其特征在于,还包括有储水箱(3)、肥料箱(301)、隔离板(302)、放料口(4)、出料口(7)和搅拌机构,底板(1)上开设有若干个凹槽,支撑脚(2)上安装有储水箱(3)和肥料箱(301),储水箱(3)和肥料箱(301)之间设有隔离板(302),储水箱(3)和肥料箱(301)上均设置有放料口(4),隔离板(302)底部安装有搅拌机构,搅拌机构底部开设有出料口(7)。
2.根据权利要求1所述的一种农业种植用的水肥一体储料装置,其特征在于,还包括有搅拌机构,所述搅拌机构包括电机(5)、混料盒(501)、连接杆(502)、搅拌扇叶(503)、球阀(504)、手轮(505)和支撑架(6),储水箱(3)和肥料箱(301)底部均安装有球阀(504),球阀(504)一侧均设置有手轮(505),手轮(505)均贯穿混料盒(501)一侧旋转式安装在储水箱(3)和肥料箱(301)的底部,储水箱(3)和肥料箱(301)的底部共同安装有混料盒(501),隔离板(302)顶部相对称安装有支撑架(6),支撑架(6)上安装有电机(5),电机(5)的输出轴通过联轴器连接有连接杆(502),连接杆(502)上设置有搅拌扇叶(503),搅拌扇叶(503)在混料盒(501)内部。
3.根据权利要求2所述的一种农业种植用的水肥一体储料装置,其特征在于,还包括有梯形清理条(8)、连接架(801)和第一把手(802),肥料箱(301)内滑动式贯穿连接有连接架(801)的一部分,连接架(801)底部安装有梯形清理条(8),连接架(801)位于肥料箱(301)外侧部分安装有第一把手(802)。
4.根据权利要求3所述的一种农业种植用的水肥一体储料装置,其特征在于,还包括有卡板(9)、拉杆(10)和弹性件(11),支撑脚(2)底部均贯穿设置有拉杆(10),拉杆(10)上套有弹性件(11),拉杆(10)一端安装有卡板(9),卡板(9)与底板(1)上的凹槽活动式卡接。
5.根据权利要求4所述的一种农业种植用的水肥一体储料装置,其特征在于,还包括有观测条(12),储水箱(3)和肥料箱(301)一侧均设置有观测条(12)。
6.根据权利要求5所述的一种农业种植用的水肥一体储料装置,其特征在于,还包括有第二把手(13),储水箱(3)和肥料箱(301)上共同相对称设有第二把手(13)。
技术总结
本技术涉及一种储料装置,尤其涉及一种农业种植用的水肥一体储料装置。本技术提供一种具有搅拌功能的农业种植用的水肥一体储料装置,包括有底板、支撑脚、储水箱、肥料箱、隔离板、放料口、出料口和搅拌机构等;底板上开设有若干个凹槽,底板顶部安装有若干对支撑脚,支撑脚上安装有储水箱和肥料箱,储水箱和肥料箱之间设有隔离板,储水箱和肥料箱上均设置有放料口,隔离板底部安装有搅拌机构,搅拌机构底部开设有出料口。工作人员转动手轮打开球阀,将水和肥料配比好后,转动手轮关闭球阀,接通电源,电机工作带动搅拌机构转动,将水和肥料充分搅拌后从出料口流出,达到水肥搅拌均匀,不易堵塞出料口的效果。
技术研发人员:王冰
受保护的技术使用者:王冰
技术研发日:20231213
技术公布日:2024/9/2
技术研发人员:王冰
技术所有人:王冰
备 注:该技术已申请专利,仅供学习研究,如用于商业用途,请联系技术所有人。
声 明 :此信息收集于网络,如果你是此专利的发明人不想本网站收录此信息请联系我们,我们会在第一时间删除
