一种番茄无土栽培装置的制作方法

本技术涉及番茄无土栽培设备,特别涉及一种番茄无土栽培装置。
背景技术:
1、番茄,即西红柿,是茄科番茄属一年生或多年生草本植物,体高0.6-2米,全体生粘质腺毛,有强烈气味,茎易倒伏,叶羽状复叶或羽状深裂,花序总梗长2-5厘米,常3-7朵花,花萼辐状,花冠辐状,浆果扁球状或近球状,肉质而多汁液,种子黄色,花果期夏秋季。番茄的无土栽培是一种高产、方便的栽培方式。
2、参考现有已授权公告号cn 208144103 u的“一种番茄无土栽培装置”,其为了解决番茄存在茎较脆弱,挂果后易折断,不利于生长和提高产量在箱体顶部的盖体上增设支撑架来对番茄苗提供支撑,但是其支撑架高度相对固定,为了能够更好的适应不断长大的番茄苗,往往需要设置一个相对偏高的支撑架,或者根据番茄苗的生长状况由工作人员对支撑架的高度进行调节,同时在需要对用于种植番茄的种植网筒进行取放时要卸下支撑架才能实现,存在一定的操作繁琐性,因此,本实用新型提出了一种番茄无土栽培装置用以解决上述问题。
3、公开于该背景技术部分的信息仅仅旨在增加对本实用新型的总体背景的理解,而不应当被视为承认或以任何形式暗示该信息构成已为本领域一般技术人员所公知的现有技术。
技术实现思路
1、本实用新型的目的是为了解决现有技术的缺点,而提出的一种番茄无土栽培装置。
2、本实用新型的上述技术目的是通过以下技术方案得以实现的:一种番茄无土栽培装置,包括箱体、支架、格栅网板、多个种植网筒、浮板、传动组件、限位组件和进水管;
3、所述进水管固定安装在箱体的一侧,所述浮板滑动安装在箱体的内侧壁上,所述箱体的顶部呈开口设置,所述格栅网板卡接安装在开口内,所述格栅网板上开设有多个安装口,多个种植网筒分别卡接安装在对应的安装口内,所述传动组件设置在格栅网板上,所述支架设置在箱体的上方,且传动组件与浮板和支架相连接,所述限位组件设置在格栅网板上,且限位组件与传动组件相适配。
4、优选的,所述传动组件包括多个转轴、多个棘轮、多个传动齿轮、多个齿板一和多个齿板二,格栅网板上竖直滑动安装有多个齿板一和多个齿板二,多个齿板一的底端均固定安装在浮板顶侧,多个齿板二的顶端均固定安装在支架上,多个齿板二均与浮板滑动连接,箱体的前后两侧内壁上转动安装有多个转轴,多个转轴上均固定套设有多个棘轮和多个传动齿轮,多个齿板一分别与对应的传动齿轮相啮合,多个齿板二分别与对应的棘轮相啮合。
5、优选的,所述限位组件包括固定块、限位板和限位槽,其中一个齿板二上开设有多个限位槽,格栅网板的顶侧固定安装有固定块,固定块上铰接安装有限位板,限位板卡接安装在对应的限位槽内。
6、优选的,所述箱体的底部内壁上竖直固定安装有多个导向杆,多个导向杆均与浮板滑动连接。
7、优选的,所述箱体远离进水管的一侧固定安装有透明管,透明管呈u形设置,且透明管的两端均与箱体相连通。
8、优选的,所述浮板上开设有多个通过口,多个种植网筒分别贯穿对应的通过口。
9、优选的,所述格栅网板的顶侧两端均固定安装有拉环。
10、优选的,所述种植网筒的外侧顶部固定安装有限位环,限位环与格栅网板的顶侧相抵接。
11、本实用新型的有益效果是:通过设置的浮板能够通过箱体内混合液水位高度的变化配合传动组件将支架的高度向上进行缓慢调节,同时在限位组件的配合下能够避免水位液位上升时出现支架在其自身重力等作用下出现下降的情况,且在呈u形设置的透明管的配合下能够方便工作人员实时了解箱体内的液位高度,还方便对种植网筒进行取放操作,操作简单便捷,能够随着水位的降低能够实现支架自行向上缓慢调节,从而能够满足番茄苗在慢慢长大至挂果后不至于出现茎过度弯折影响其正常生长的情况,同时无需人工对支架的高度进行调节,且无需搭设较高的支架来适应不断长大的番茄苗的支撑,大大降低了工作人员的工作强度。
技术特征:
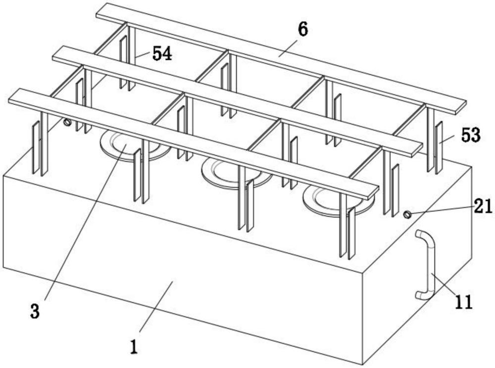
1.一种番茄无土栽培装置,其特征在于,包括箱体(1)、支架(6)、格栅网板(2)、多个种植网筒(3)、浮板(4)、传动组件、限位组件和进水管(12);
2.根据权利要求1所述的一种番茄无土栽培装置,其特征在于:所述传动组件包括多个转轴(5)、多个棘轮(51)、多个传动齿轮(52)、多个齿板一(53)和多个齿板二(54),格栅网板(2)上竖直滑动安装有多个齿板一(53)和多个齿板二(54),多个齿板一(53)的底端均固定安装在浮板(4)顶侧,多个齿板二(54)的顶端均固定安装在支架(6)上,多个齿板二(54)均与浮板(4)滑动连接,箱体(1)的前后两侧内壁上转动安装有多个转轴(5),多个转轴(5)上均固定套设有多个棘轮(51)和多个传动齿轮(52),多个齿板一(53)分别与对应的传动齿轮(52)相啮合,多个齿板二(54)分别与对应的棘轮(51)相啮合。
3.根据权利要求2所述的一种番茄无土栽培装置,其特征在于:所述限位组件包括固定块、限位板(542)和限位槽(541),其中一个齿板二(54)上开设有多个限位槽(541),格栅网板(2)的顶侧固定安装有固定块,固定块上铰接安装有限位板(542),限位板(542)卡接安装在对应的限位槽(541)内。
4.根据权利要求1所述的一种番茄无土栽培装置,其特征在于:所述箱体(1)的底部内壁上竖直固定安装有多个导向杆,多个导向杆均与浮板(4)滑动连接。
5.根据权利要求1所述的一种番茄无土栽培装置,其特征在于:所述箱体(1)远离进水管(12)的一侧固定安装有透明管(11),透明管(11)呈u形设置,且透明管(11)的两端均与箱体(1)相连通。
6.根据权利要求1所述的一种番茄无土栽培装置,其特征在于:所述浮板(4)上开设有多个通过口,多个种植网筒(3)分别贯穿对应的通过口。
7.根据权利要求1所述的一种番茄无土栽培装置,其特征在于:所述格栅网板(2)的顶侧两端均固定安装有拉环(21)。
8.根据权利要求1所述的一种番茄无土栽培装置,其特征在于:所述种植网筒(3)的外侧顶部固定安装有限位环,限位环与格栅网板(2)的顶侧相抵接。
技术总结
本技术属于番茄无土栽培设备技术领域,尤其为一种番茄无土栽培装置,包括箱体、支架、格栅网板、多个种植网筒、浮板、传动组件、限位组件和进水管,所述进水管固定安装在箱体的一侧,所述浮板滑动安装在箱体的内侧壁上,所述箱体的顶部呈开口设置。本技术设计合理,操作简单便捷,不仅方便进行对种植网筒进行取放,而且能够随着水位的降低能够实现支架自行向上缓慢调节,从而能够满足番茄苗在慢慢长大至挂果的整个过程中不至于出现茎过度弯折影响其正常生长的情况,同时无需人工对支架的高度进行调节,且无需搭设较高的支架来适应不断长大的番茄苗的支撑,大大降低了工作人员的工作强度。
技术研发人员:秦金响,郝俊光,李金育,董浩,孟德来
受保护的技术使用者:白朗七彩庄园生态农业有限公司
技术研发日:20231013
技术公布日:2024/5/29
技术研发人员:秦金响,郝俊光,李金育,董浩,孟德来
技术所有人:白朗七彩庄园生态农业有限公司
备 注:该技术已申请专利,仅供学习研究,如用于商业用途,请联系技术所有人。
声 明 :此信息收集于网络,如果你是此专利的发明人不想本网站收录此信息请联系我们,我们会在第一时间删除
