中药种植用育苗装置的制作方法

本技术涉及育苗,具体的说,尤其涉及中药种植用育苗装置。
背景技术:
1、中药材种植是中药行业发展的一个重要项目,中药种植和栽培技术一般有选地、选种育苗、移栽、中耕管理、病虫害防治、采收等内容,中草药生长期间每一步骤出问题,都有可能导致草药生长不良,尤其是名贵中药材
2、现有技术中的中药种植用育苗装置在使用过程中,由于不能对对水箱内的营养液进行搅拌处理,导致营养液储箱内的营养液在储存过程中容易出现分层或有效成分絮凝沉淀的现象,降低了营养液的使用效果,影响中药育苗的生长存活率,同时喷淋时喷淋不均匀,导致局部重要缺水影响生长,为此,我们提成一种中药种植用育苗装置。
技术实现思路
1、本实用新型的目的在于提供中药种植用育苗装置,以解决上述背景技术中提出的问题。
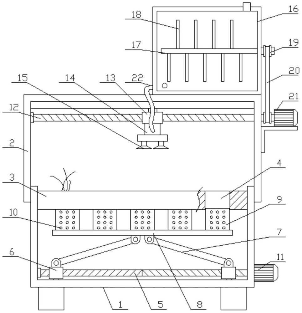
2、为实现上述目的,本实用新型提供如下技术方案:中药种植用育苗装置,其中,包括下u型架和上u型架,所述下u型架固定设置在上u型架的下端;所述下u型架的内部上端固定安装有育苗架;所述育苗架上开设有若干个育苗孔;所述下u型架的内部位于育苗架的下方设置有取苗机构;所述上u型架的上端通过轴承转动设置有丝杆;所述丝杆的外壁螺纹连接有丝套;所述丝套的底端设置有进水柱;所述进水柱的底端连通设置有若干个喷淋头;所述上u型架的顶端安装有水箱;所述水箱的内部设置有搅拌杆;所述搅拌杆的外壁设置有多个搅拌叶;所述搅拌杆与丝杆的一端安装有驱动机构。
3、优选的,所述取苗机构包括通过轴承转动设置在下u型架内侧的螺杆和固定安装在下u型架外侧的电机一和连接板,所述螺杆的外壁两侧分别螺纹连接有螺套;两个所述螺套的顶端转动设置有移动杆;所述移动杆的顶端与连接板的底端中部转动连接;所述连接板的顶端阵列分布有若干个顶柱;所述电机一的输出端与螺杆传动连接。
4、优选的,所述驱动机构包括固定安装在上u型架侧面的电机二,所述电机二的输出端与丝杆传动连接;所述丝杆、搅拌杆的一端均贯穿上u型架延伸至外部并安装有皮带轮;两个皮带轮的外壁传动设置有皮带。
5、优选的,所述顶柱呈圆柱形结构,且顶柱的顶端及外壁均开设有若干个相互贯通的透气孔;所述顶柱分别与对应设置的育苗孔相适配。
6、优选的,所述螺杆的外壁两侧分别设置有左螺纹、右螺纹;两个所述螺套分别与左螺纹、右螺纹螺纹连接。
7、优选的,所述进水柱的前后两侧均连通有软管;所述软管远离进水柱的一端通过水泵与水箱相通连接。
8、有益效果:与现有技术相比,本实用新型的有益效果是:通过育苗孔、螺杆、螺套、移动杆、连接板、顶柱、透气孔、电机一的设置,顶柱上升能够带动育苗孔内的中药苗上升,能够一次性取出多个带的基质的中药苗,解决传统需要工作人员一个一个的手工取出的问题,解决劳动力,省时省力,同时减少对基质的损坏;通过丝杆、丝套、进水柱、喷淋头、水箱、搅拌杆、搅拌叶与驱动机构相互配合,能够在均匀浇水的同时对水箱内的水和营养液进行充分搅拌后再喷洒在育苗架上,有效地防止水箱内的营养液在储存过程中容易出现分层或有效成分絮凝沉淀的现象,保证水箱内营养液的使用效果,有利于提高中药育苗的生长存活率。
技术特征:
1.中药种植用育苗装置,其特征在于:包括下u型架和上u型架,所述下u型架固定设置在上u型架的下端;所述下u型架的内部上端固定安装有育苗架;所述育苗架上开设有若干个育苗孔;所述下u型架的内部位于育苗架的下方设置有取苗机构;所述上u型架的上端通过轴承转动设置有丝杆;所述丝杆的外壁螺纹连接有丝套;所述丝套的底端设置有进水柱;所述进水柱的底端连通设置有若干个喷淋头;所述上u型架的顶端安装有水箱;所述水箱的内部设置有搅拌杆;所述搅拌杆的外壁设置有多个搅拌叶;所述搅拌杆与丝杆的一端安装有驱动机构。
2.根据权利要求1所述的中药种植用育苗装置,其特征在于:所述取苗机构包括通过轴承转动设置在下u型架内侧的螺杆和固定安装在下u型架外侧的电机一和连接板,所述螺杆的外壁两侧分别螺纹连接有螺套;两个所述螺套的顶端转动设置有移动杆;所述移动杆的顶端与连接板的底端中部转动连接;所述连接板的顶端阵列分布有若干个顶柱;所述电机一的输出端与螺杆传动连接。
3.根据权利要求1所述的中药种植用育苗装置,其特征在于:所述驱动机构包括固定安装在上u型架侧面的电机二,所述电机二的输出端与丝杆传动连接;所述丝杆、搅拌杆的一端均贯穿上u型架延伸至外部并安装有皮带轮;两个皮带轮的外壁传动设置有皮带。
4.根据权利要求2所述的中药种植用育苗装置,其特征在于:所述顶柱呈圆柱形结构,且顶柱的顶端及外壁均开设有若干个相互贯通的透气孔;所述顶柱分别与对应设置的育苗孔相适配。
5.根据权利要求2所述的中药种植用育苗装置,其特征在于:所述螺杆的外壁两侧分别设置有左螺纹、右螺纹;两个所述螺套分别与左螺纹、右螺纹螺纹连接。
6.根据权利要求1所述的中药种植用育苗装置,其特征在于:所述进水柱的前后两侧均连通有软管;所述软管远离进水柱的一端通过水泵与水箱相通连接。
技术总结
本技术公开了中药种植用育苗装置,其中,包括下U型架和上U型架,所述下U型架固定设置在上U型架的下端;所述下U型架的内部上端固定安装有育苗架;所述育苗架上开设有若干个育苗孔;所述下U型架的内部位于育苗架的下方设置有取苗机构;所述丝套的底端设置有进水柱;所述进水柱的底端连通设置有若干个喷淋头;能够在均匀浇水的同时对水箱内的水和营养液进行充分搅拌后再喷洒在育苗架上,有效地防止水箱内的营养液在储存过程中容易出现分层或有效成分絮凝沉淀的现象,保证水箱内营养液的使用效果,有利于提高中药育苗的生长存活率;本技术结构简单,操作方便,值得推广。
技术研发人员:解心景,孙浩,马雪永
受保护的技术使用者:山东悦如农业发展有限公司
技术研发日:20231111
技术公布日:2024/9/2
技术研发人员:解心景,孙浩,马雪永
技术所有人:山东悦如农业发展有限公司
备 注:该技术已申请专利,仅供学习研究,如用于商业用途,请联系技术所有人。
声 明 :此信息收集于网络,如果你是此专利的发明人不想本网站收录此信息请联系我们,我们会在第一时间删除
