一种定量投喂的饲喂器

本技术属于饲喂器,尤其涉及一种定量投喂的饲喂器。
背景技术:
1、现如今养殖业的发展越来越快速,养猪是比较常见的养殖业之一,一般养猪需要建造猪舍,然后将猪圈养在猪舍中,每天养殖者都需要定时投食,保证猪正常生长。
2、根据申请号:202020604993。名称:一种猪舍定时定量喂食装置,它包含料仓、定时定量机构、步进电机、定时器、壳体、转盘、转轴、喂食盆、溢流孔、溢流管、驱动隔板、驱动器、控制器、水管,料仓下方设置定时定量机构,步进电机右下角设置定时器,壳体焊接固定在料仓下方,壳体内部设置转盘,转轴与步进电机电连接,定时定量机构下方设有喂食盆,溢流管与溢流孔连接,驱动隔板与驱动器连接,水管上固定连接控制器。采用上述技术方案后,本实用新型的有益效果为:它的结构设计合理,具有可自动投喂的功能,并且可以定时、定量投喂,可以实现对喂食盆自动清洗的功能,具有使用干净、卫生的优点,节省了人力,实用性强,适合推广使用。
3、由此可知,现有的猪舍为了提高喂食效率,使用定量投放饲料的喂食器进行喂食,但是由于猪舍内通常会将猪仔分开喂养,每个猪圈内放置一定数量的猪仔,而现有喂食器的喂食区域较小,不便于满足多个猪仔同时进行进食,容易导致猪仔抢食的情况,由于是定量喂食,容易导致有些猪仔吃的多,有些猪仔吃的少。
技术实现思路
1、本实用新型目的在于提供一种定量投喂的饲喂器,以解决背景技术中所提出的现有喂食器的喂食区域较小,不便于满足多个猪仔同时进行进食,容易导致猪仔抢食的情况,由于是定量喂食,容易导致有些猪仔吃的多,有些猪仔吃的少的技术问题。
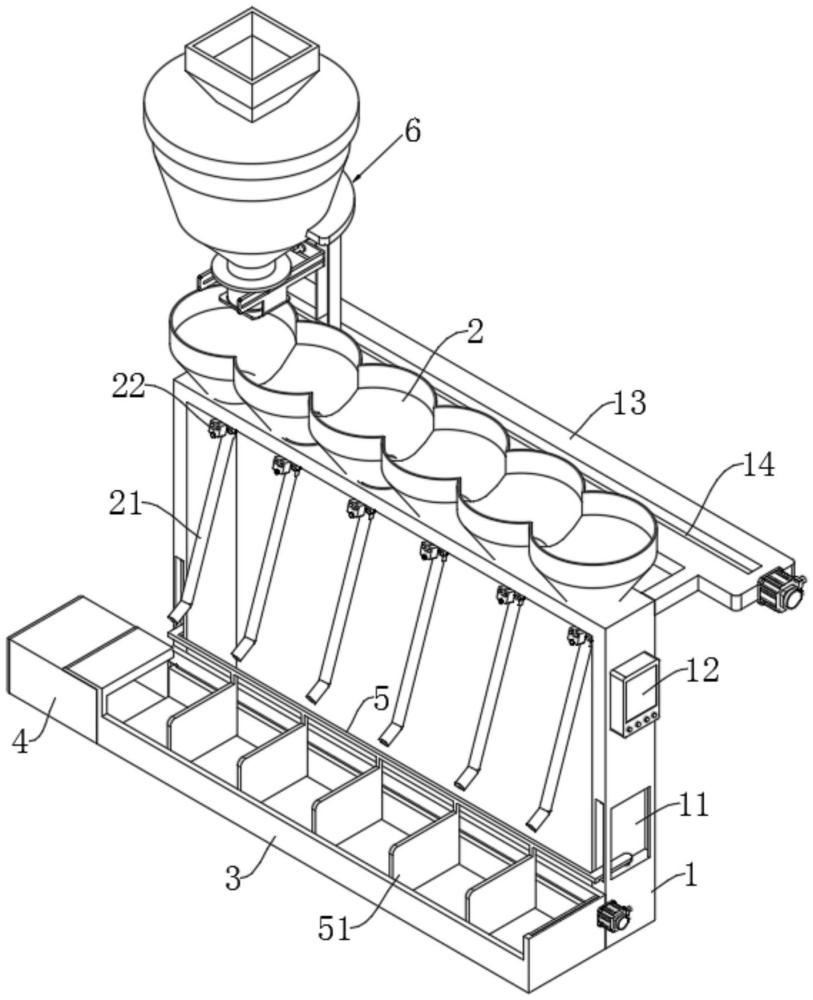
2、为实现上述目的,本实用新型的具体技术方案如下:一种定量投喂的饲喂器,包括支撑架,所述支撑架上端设有多个投料斗,所述支撑架上端的一侧设有滑轨,所述滑轨内滑动连接有定量机构,所述定量机构的出料口位于投料斗上侧,所述支撑架的下端设有喂料槽,所述喂料槽内设有多个隔板,所述隔板将喂料槽分割成多个喂料区,多个所述投料斗的出料口与多个喂料区对应。
3、优选的,所述定量机构包括滑动设置在滑轨内的支撑杆,所述支撑杆的一侧设有存料器,所述存料器的上侧设有进料斗。
4、优选的,所述存料器下侧的出料口处设有u形板,所述u形板的两侧开设有滑槽二,所述滑槽二内滑动设有密封板,所述密封板的一侧连接有定量筒,所述密封板的另一侧与气缸二的活塞端连接。
5、优选的,所述定量筒的下侧铰接有密封盖,所述u形板的下侧设有底板,所述底板位于密封盖下侧。
6、优选的,所述滑轨内转动设有丝杆一,所述丝杆一与支撑杆螺纹连接,所述丝杆一的一端与电机的输出轴连接。
7、优选的,所述投料斗的出料口处连接有下料管,所述下料管上安装有阀门。
8、优选的,所述隔板的上侧与连接杆连接,所述连接杆的两端分别滑动在支撑架两侧开设的安装槽内。
9、优选的,所述支撑架的内部安装有气缸一,所述气缸一的活塞端与连接杆相连。
10、优选的,所述喂料槽的内壁上开设有滑槽一,所述滑槽一内转动设有丝杆二,所述喂料槽的一侧开设有收纳槽,所述收纳槽内设有清料板,所述丝杆二与清料板螺纹连接。
11、优选的,所述支撑架的一侧安装有控制器,所述喂料槽的一侧活动安装有回收箱,所述回收箱的进料口与喂料槽的出料口连通。
12、本实用新型的一种定量投喂的饲喂器具有以下优点:
13、1.该一种定量投喂的饲喂器,在投料时,通过控制器控制气缸二推动密封板,使定量筒移出存料器的出料口处,当密封盖离开底板时,密封盖打开,定量筒内的饲料进入投料斗内,同时利用丝杆二的旋转,使支撑杆带着存料器进行移动,进而使饲料被定量投放在投料斗内,保证猪仔的健康生长。
14、2.该一种定量投喂的饲喂器,在气缸一带着连接杆向下移动时,使隔板进入喂料槽内,利用隔板将喂料槽分隔成多个进食区域,并且打开阀门后,使饲料从下料管进入喂料槽的进食区域内,保证每个猪仔同时进食。
15、3.该一种定量投喂的饲喂器,将隔板向上移动,在丝杆一旋转时,促使清料板对喂料槽的内部进行推动,将剩余的饲料推动至回收箱内,避免出现喂食的饲料量不精确的情况。
技术特征:
1.一种定量投喂的饲喂器,包括支撑架(1),其特征在于:所述支撑架(1)上端设有多个投料斗(2),所述支撑架(1)上端的一侧设有滑轨(13),所述滑轨(13)内滑动连接有定量机构(6),所述定量机构(6)的出料口位于投料斗(2)上侧,所述支撑架(1)的下端设有喂料槽(3),所述喂料槽(3)内设有多个隔板(51),所述隔板(51)将喂料槽(3)分割成多个喂料区,多个所述投料斗(2)的出料口与多个喂料区对应。
2.根据权利要求1所述的定量投喂的饲喂器,其特征在于:所述定量机构(6)包括滑动设置在滑轨(13)内的支撑杆(63),所述支撑杆(63)的一侧设有存料器(61),所述存料器(61)的上侧设有进料斗(62)。
3.根据权利要求2所述的定量投喂的饲喂器,其特征在于:所述存料器(61)下侧的出料口处设有u形板(64),所述u形板(64)的两侧开设有滑槽二(66),所述滑槽二(66)内滑动设有密封板(68),所述密封板(68)的一侧连接有定量筒(69),所述密封板(68)的另一侧与气缸二(65)的活塞端连接。
4.根据权利要求3所述的定量投喂的饲喂器,其特征在于:所述定量筒(69)的下侧铰接有密封盖(691),所述u形板(64)的下侧设有底板(67),所述底板(67)位于密封盖(691)下侧。
5.根据权利要求4所述的定量投喂的饲喂器,其特征在于:所述滑轨(13)内转动设有丝杆一(14),所述丝杆一(14)与支撑杆(63)螺纹连接,所述丝杆一(14)的一端与电机的输出轴连接。
6.根据权利要求1所述的定量投喂的饲喂器,其特征在于:所述投料斗(2)的出料口处连接有下料管(21),所述下料管(21)上安装有阀门(22)。
7.根据权利要求6所述的定量投喂的饲喂器,其特征在于:所述隔板(51)的上侧与连接杆(5)连接,所述连接杆(5)的两端分别滑动在支撑架(1)两侧开设的安装槽(11)内。
8.根据权利要求7所述的定量投喂的饲喂器,其特征在于:所述支撑架(1)的内部安装有气缸一(52),所述气缸一(52)的活塞端与连接杆(5)相连。
9.根据权利要求1所述的定量投喂的饲喂器,其特征在于:所述喂料槽(3)的内壁上开设有滑槽一(31),所述滑槽一(31)内转动设有丝杆二(32),所述喂料槽(3)的一侧开设有收纳槽(34),所述收纳槽(34)内设有清料板(33),所述丝杆二(32)与清料板(33)螺纹连接。
10.根据权利要求9所述的定量投喂的饲喂器,其特征在于:所述支撑架(1)的一侧安装有控制器(12),所述喂料槽(3)的一侧活动安装有回收箱(4),所述回收箱(4)的进料口与喂料槽(3)的出料口连通。
技术总结
本技术公开了一种定量投喂的饲喂器,涉及饲喂器技术领域,包括支撑架,支撑架上端设有多个投料斗,所述支撑架上端的一侧设有滑轨,滑轨内滑动连接有定量机构,定量机构的出料口位于投料斗上侧,支撑架的下端设有喂料槽,喂料槽内设有多个隔板,隔板将喂料槽分割成多个喂料区,多个投料斗的出料口与多个喂料区对应。本技术在气缸一带着连接杆向下移动时,使隔板进入喂料槽内,利用隔板将喂料槽分隔成多个进食区域,并且打开阀门后,使饲料从下料管进入喂料槽的进食区域内,保证每个猪仔同时进食。
技术研发人员:岳宝昌,樊晓宇
受保护的技术使用者:安徽科技学院
技术研发日:20231205
技术公布日:2024/7/11
技术研发人员:岳宝昌,樊晓宇
技术所有人:安徽科技学院
备 注:该技术已申请专利,仅供学习研究,如用于商业用途,请联系技术所有人。
声 明 :此信息收集于网络,如果你是此专利的发明人不想本网站收录此信息请联系我们,我们会在第一时间删除
