小型旋翼喷洒自动投饵机的制作方法

本发明提供一种小型旋翼喷洒自动投饵机,属于投饵机领域。
背景技术:
鱼类养殖户在对鱼类进行喂食时,往往使用投饵机进行投饵,投饵机可以连续不间断的通过风机将饵料吹送到鱼池当中,而且喷洒均匀,投饵的效率远远的高于人工的投饵。但是现有的投饵机工作原理为使用鼓风机将饵料吹送喷到养殖池中。这种工作原理的投饵机往往结构复杂,体积庞大,加工制作复杂。
技术实现要素:
本发明目在于提供一种小型旋翼喷洒自动投饵机,结构简单,功率小,便捷轻巧,可自由扩充储料量。
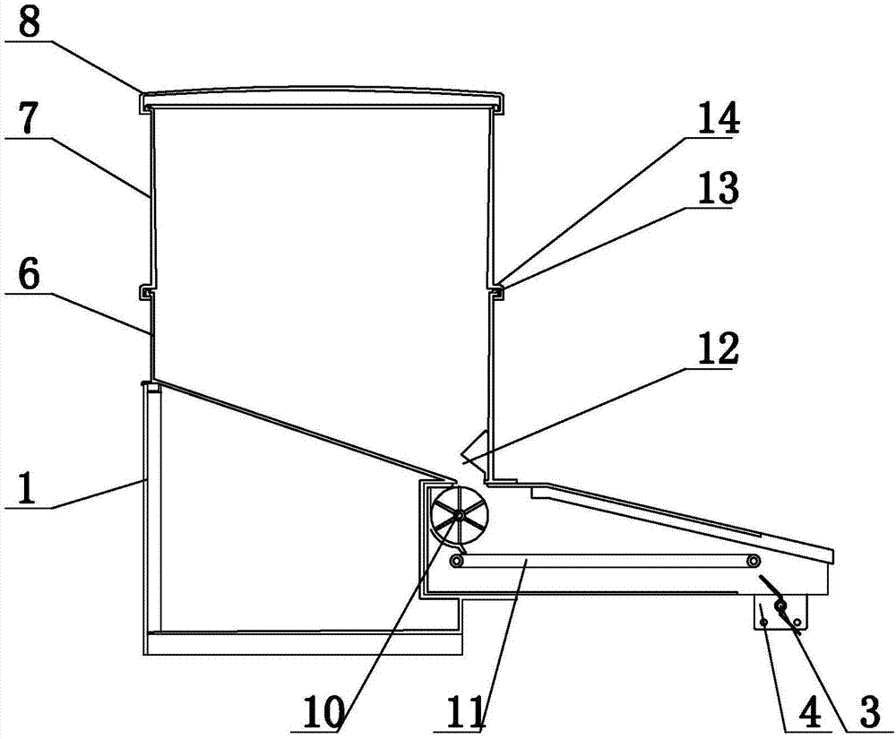
本发明所述的小型旋翼喷洒自动投饵机,包括底座,底座顶部连接有储料仓,底座上安装有输料盒,储料仓底部为漏斗状逐渐收缩,形成出料口,物料通过出料口进入输料盒,输料盒内将物料喷出。
所述的小型旋翼喷洒自动投饵机,输料盒内设有风机叶轮,风机叶轮由安装在输料盒内的动力装置a驱动,风机叶轮位于出料口下方,接住出料口中洒落的物料,并将其运送到安装在输料盒内的传送带系统上,输料盒底部设有喷料口,喷料口上方设有旋转叶片,旋转叶片还位于传送带系统的传送方向末端的下方,旋转叶片由安装在输料盒内的动力装置b驱动,将落下的物料甩出。
所述的小型旋翼喷洒自动投饵机,储料仓顶部设有储料桶,储料仓与储料桶连接处旋转倒扣盖合。
所述的小型旋翼喷洒自动投饵机,储料桶顶部加盖有储料盖,储料盖与储料桶旋转倒扣盖合。
所述的小型旋翼喷洒自动投饵机,输料盒侧面上设有观察窗,透过观察窗可观察传送带系统的输料情况。
所述的小型旋翼喷洒自动投饵机,底座侧面设有用于固定安装支架的方槽。
本发明与现有技术相比有益效果为:
本发明所述的小型旋翼喷洒自动投饵机,相对于现有的投饵机
本技术:
使用动力装置a驱动风机叶轮将饵料转至传送带系统上,传送带系统将饵料输送至传送带另一端,饵料在重力作用下,掉落至旋转叶片上,旋转叶片由动力装置b驱动,转动将饵料旋转喷洒至养殖池中,使用分级叶轮将输送到传送带系统上的饵料均匀洒落,使旋转叶片功率输出均匀,致使整个装置使用功率小。本申请所使用的结构节省了输送管道的使用,将分级叶轮、传送带系统和旋转叶片上下安装,合理利用了空间,使本申请便捷轻巧。储料仓、储料桶分级设计易加工制作,结构简单;储料仓、储料桶和储料盖密闭盖合为了防止饵料受水潮湿,在储料仓堆积不能顺利进入输料盒。主要防护投饵机运行过程中喷溅的水,避免造成饵料被水喷溅后潮湿。
附图说明
图1为本发明结构示意图;
图2为本发明剖视图。
图中:1、底座;2、方槽;3、旋转叶片;4、喷料口;5、输料盒;6、储料仓;7、储料桶;8、储料盖;9、观察窗;10、风机叶轮;11、传送带系统;12、出料口;13、卡扣;14、卡槽。
具体实施方式
下面结合本发明对本发明实施例做进一步说明:
实施例1:如图1和图2所示,本发明所述的小型旋翼喷洒自动投饵机,包括底座1,底座1顶部连接有储料仓6,底座1上安装有输料盒5,储料仓6底部为漏斗状逐渐收缩,形成出料口12,物料通过出料口12进入输料盒5,输料盒5将物料喷出。
所述的小型旋翼喷洒自动投饵机,输料盒5内设有风机叶轮10,风机叶轮10由安装在输料盒5内的动力装置a驱动,风机叶轮10位于出料口12下方,接住出料口12中洒落的物料,并将其运送到安装在输料盒5内的传送带系统11上,输料盒5底部设有喷料口4,喷料口4上方设有旋转叶片3,旋转叶片3还位于传送带系统11的传送方向末端的下方,旋转叶片3由安装在输料盒5内的动力装置b驱动,将落下的物料甩出。动力装置a和动力装置b均选用电机。
所述的小型旋翼喷洒自动投饵机,储料仓6顶部设有储料桶7,储料仓6与储料桶7连接处旋转倒扣盖合。
所述的小型旋翼喷洒自动投饵机,储料桶7顶部加盖有储料盖8,储料盖8与储料桶7旋转倒扣盖合。
所述的小型旋翼喷洒自动投饵机,储料桶7和储料仓6顶部设有卡扣13,储料盖8和储料桶7底部设有卡槽14,储料仓6与储料桶7在储料仓6顶部旋转,使卡扣13旋入卡槽14中,实现储料桶7和储料仓6的密封连接;储料盖8在储料桶7顶部旋转,使卡扣13旋入卡槽14中,实现储料盖8和储料桶7的密封连接。储料仓、储料桶分级设计易加工制作,结构简单;储料仓、储料桶和储料盖密闭盖合为了防止饵料受水潮湿,在储料仓堆积不能顺利进入输料盒。主要防护投饵机运行过程中喷溅的水,避免造成饵料被水喷溅后潮湿。
所述的小型旋翼喷洒自动投饵机,输料盒5侧面上设有观察窗9,透过观察窗9可观察风机叶轮10的输料情况。
所述的小型旋翼喷洒自动投饵机,底座1侧面设有用于固定安装支架的方槽2,使底座1可以通过方槽2安装在支架上。
所述的小型旋翼喷洒自动投饵机,相对于现有的投饵机本申请使用动力装置a驱动风机叶轮10将储料仓6内掉落的饵料转运至传送带系统11上,传送带系统11将饵料输送至传送带另一端,饵料在重力作用下,掉落至旋转叶片3上,旋转叶片3由动力装置b驱动,转动将饵料旋转喷洒至养殖池中。
技术特征:
技术总结
本发明提供一种小型旋翼喷洒自动投饵机,属于投饵机领域,包括底座,底座顶部连接有储料仓,底座上安装有输料盒,储料仓底部为漏斗状逐渐收缩,形成出料口,物料通过出料口进入输料盒,输料盒内将物料喷出,结构简单,功率小,便捷轻巧,可自由扩充储料量。
技术研发人员:彭磊;王小洁;宋德东;刘毅;杜安东
受保护的技术使用者:中国海洋大学;青岛优佳生态农业开发有限公司
技术研发日:2017.05.24
技术公布日:2017.07.28
技术研发人员:彭磊,王小洁,宋德东,刘毅,杜安东
技术所有人:中国海洋大学,青岛优佳生态农业开发有限公司
备 注:该技术已申请专利,仅供学习研究,如用于商业用途,请联系技术所有人。
声 明 :此信息收集于网络,如果你是此专利的发明人不想本网站收录此信息请联系我们,我们会在第一时间删除
