一种捕鼠装置的制作方法

本发明涉及一种捕鼠装置,特别涉及一种带有能使鼠笼门关闭的动力传动机构以及利用探针的输出端输出探针浸入储水盒水中的长度值信号,从而发出语音和灯光提示的鼠类捕鼠设备,属于动物诱捕领域。
背景技术:
老鼠对人类的危害极大,老鼠每天在各种地方活动,身上带有很多的细菌,造成了严重的卫生问题,传统的杀灭手段均是采用化学药剂,但是老鼠药会被家畜等误食致死,造成重大的损失,放在家里还有可能会被小孩物食,后果不堪想象,而且化学药剂致死的老鼠尸体不能被及时的发现处理,不利于环境保护。
目前,也采用箱式捕鼠装置来防止鼠害扩散,形状单一,不适合摆放在拐角处等特殊位置,而且基本都是采用直接滑落的门来关闭捕杀装置内的老鼠,由于鼠笼门由上至下滑落,使进入的老鼠容易逃脱,最关键的是,当捕鼠装置捕捉到老鼠后,捕鼠装置没有设置可以发出提示音的警示装置,提醒人来处理老鼠,不能及时处理被捕捉的老鼠,也不能发挥捕鼠装置最大的捕鼠效率。
技术实现要素:
针对现有技术的不足,本发明的目的旨在提供一种捕鼠装置,将鼠笼设置为l型,方便放置在墙角等拐弯处,且设置为左右打开的对称的门,在鼠笼内设置能够使鼠笼门关闭的动力传动机构,同时能防止鼠笼门被老鼠打开,另外,利用探针的输出端输出探针浸入储水盒水中的长度值信号,当探针浸入储水盒中的长度大于等于预设值时,发出语音和灯光提示,提醒前来处理被捕捉的老鼠。
为实现上述目的,本发明采用如下技术方案:
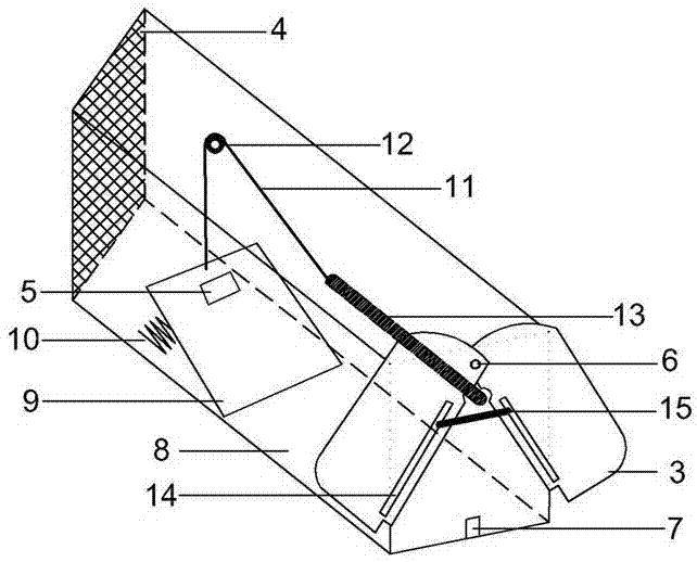
一种捕鼠装置,包括由铁丝制成的网式鼠笼,所述鼠笼为l型,l型鼠笼的两侧分别有入口,在所述入口处分别设有鼠笼门,所述l型鼠笼直角处设置有一块隔板,所述隔板两侧设置有相同结构,其特征在于,所述鼠笼门具有左右两扇门,两扇门具有对称的结构,通过连接杆铰接,位于所述连接杆下端的两扇门边缘分别具有一个半圆形的缺口,两个半圆形缺口相对称,两个半圆形缺口形成了开启限位孔,在两扇门底部设有一个限位缺口,该限位缺口与鼠笼底部中心设置的固定凸起块接触配合,在鼠笼底板上设置有踏板,在所述踏板上放置有诱饵,所述踏板通过转轴与底板活动连接,踏板与底板之间还设置有弹簧,所述踏板与转轴相对的一面固定有牵引绳,在所述鼠笼顶板上设置有滑轮,所述牵引绳穿过所述滑轮,在所述牵引绳的另一端连接移动杆的一端,所述移动杆另一端插入门上的开启限位孔内,所述鼠笼顶板上设置有两个固定圈,所述移动杆依次穿过所述固定圈,在所述鼠笼左右门上分别设置有一滑槽,所述滑槽的长度占左右门的长度的65%,设置一长销,所述长销的两端均设于滑槽内,所述长销可沿滑槽上下滑动;
在所述踏板下方的、靠近弹簧的鼠笼底板上固定有一个储水盒,所述储水盒内盛有水,所述踏板背面安装有两根探针,所述探针设置在所述储水盒内,探针的输出端分别与开关、非门电路相连,所述非门电路包括非门,非门的输入端经信号线与探针连接,所述开关与电池相连,所述非门电路与发光二极管、扬声器相连,发光二极管连接在非门的输出端,扬声器连接在非门的输出端,由探针的输出端输出探针浸入储水盒水中的长度值信号,当探针浸入储水盒中的长度大于等于预设值时,由开关闭合后生成电压,该电压经非门电路生成振荡信号,所述发光二极管根据振荡信号进行照亮,扬声器根据振荡信号生成音频信号并经放大后输出提示音。
进一步地,所述踏板与所述底板形成的夹角为40-45度。
进一步地,所述l型鼠笼直角边长均为40cm、宽为25cm、高为20cm。
进一步地,所述l型鼠笼可以由两个长方体鼠笼拼接而成。
本发明的有益效果是:将鼠笼设置为l型,方便摆放在墙角等拐弯的地方,不占用空间,且两边开口,捕捉效率更高,同时,将鼠笼门设置为左右对称的两扇门,左右打开鼠笼门,关闭速度快,且利用弹簧回位,移动杆再次插入开启限位孔内,鼠笼门关闭后防止被老鼠打开,保证其关闭的可靠性,另外,利用探针的输出端输出探针浸入储水盒水中的长度值信号,当探针浸入储水盒中的长度大于等于预设值时,发出语音和灯光提示,提醒前来处理被捕捉的老鼠。
附图说明
图1是本发明l型鼠笼的结构示意图。
图2是本发明l型鼠笼一侧的结构示意图。
图3是本发明的l型鼠笼一侧含有探针的结构示意图。
具体实施方式
如图1、图2、图3所示,一种捕鼠装置,包括由铁丝制成的网式鼠笼1,所述鼠笼1为l型,l型鼠笼1直角边长均为40cm、宽为25cm、高为20cm,方便将鼠笼摆放在墙角等拐弯处,不占用其他有用的空间,l型鼠笼的两侧分别有入口2,在所述入口2处分别设有鼠笼门3,所述l型鼠笼直角处设置有一块隔板4,或者,所述l型鼠笼可以由两个长方体鼠笼拼接而成。所述隔板4两侧设置有相同结构,其特征在于,所述鼠笼门3具有左右两扇门,两扇门具有对称的结构,通过连接杆6铰接,位于所述连接杆6下端的两扇门边缘分别具有一个半圆形的缺口,两个半圆形缺口相对称,两个半圆形缺口形成了开启限位孔,在两扇门底部设有一个限位缺口,该限位缺口与鼠笼底部中心设置的固定凸起块7接触配合,在鼠笼底板8上设置有踏板9,踏板9与所述底板8形成的夹角为40-45度,在所述踏板9上放置有诱饵5,所述踏板9通过转轴与底板8活动连接,踏板9与底板8之间还设置有弹簧10,所述踏板9与转轴相对的一面固定有牵引绳11,在所述鼠笼顶板上设置有滑轮12,所述牵引绳11穿过所述滑轮12,所述鼠笼顶板上设置有两个固定圈,移动杆13依次穿过所述固定圈,在所述牵引绳11的另一端连接移动杆13的一端,所述移动杆13另一端插入门上的开启限位孔内,在所述鼠笼左右门上分别设置有一滑槽14,所述滑槽14的长度占左右门的长度的65%,设置一长销15,所述长销15的两端均设于滑槽14内,所述长销15可沿滑槽14上下滑动。
工作时,鼠笼门处于开启状态,所述移动杆插入左右门上的开启限位孔内,将左右门处于打开的状态,所述长销固定在滑槽上部,当有老鼠进入鼠笼内,走上踏板觅食时,老鼠的重力将牵引绳拉动,牵引绳带动移动杆,将移动杆拉出开启限位孔,这时左右鼠笼门自动关闭,所述长销在滑槽内滑落,将左右门牢牢锁住,老鼠逃离踏板跑向鼠笼门时,由于弹簧的作用,将踏板复位,牵引绳带动移动杆向前移动,重新插入开启限位孔内,从而防止老鼠逃出鼠笼。
在所述踏板9下方的、靠近弹簧10的鼠笼底板8上固定有一个储水盒,所述储水盒内盛有水,所述踏板9背面安装有两根探针16,所述探针16设置在所述储水盒内,探针16的输出端分别与开关、非门电路相连,所述非门电路包括非门,非门的输入端经信号线与探针连接,所述开关与电池相连,所述非门电路与发光二极管、扬声器相连,发光二极管连接在非门的输出端,扬声器连接在非门的输出端,由探针的输出端输出探针浸入储水盒水中的长度值信号,当探针浸入储水盒中的长度大于等于预设值时,由开关闭合后生成电压,该电压经非门电路生成振荡信号,所述发光二极管根据振荡信号进行照亮,扬声器根据振荡信号生成音频信号并经放大后输出提示音,当老鼠踩到踏板上觅食时,由于其自身的重力,将踏板往下压,所述探针也往下浸泡更多于所述储水盒的水中,利用探针的输出端输出探针浸入储水盒水中的长度值信号,当探针浸入储水盒中的长度大于等于预设值时,发出语音和灯光提示,提醒前来处理被捕捉的老鼠。这个预设值可以根据一般重量的老鼠踩踏板使探针向下移动的距离来决定,当水面淹至探针预设值时,使发光二极管电量,同时扬声器发出语音提示,人们可以迅速处理被捕捉的老鼠,提高捕鼠装置的捕鼠效率。
上面结合附图对本发明的实施方式作了详细说明,但是本发明并不限于上述实施方式,在本领域普通技术人员具备的知识范围内,还可以在不脱离本发明宗旨的前提下做出各种变化。
技术研发人员:连云开
技术所有人:连云开
备 注:该技术已申请专利,仅供学习研究,如用于商业用途,请联系技术所有人。
声 明 :此信息收集于网络,如果你是此专利的发明人不想本网站收录此信息请联系我们,我们会在第一时间删除
