一种甘蔗种植机的制作方法

本发明涉及甘蔗种植技术领域,具体涉及一种甘蔗种植机。
背景技术:
甘蔗是制造蔗糖的原料,而蔗糖作为食用糖,是生活中重要的食品添加剂,因此,提高甘蔗产量进而提高蔗糖产量具有重要意义。目前的大面积种植甘蔗中已不再通过人工而改为采用甘蔗种植机进行种植,甘蔗种植机可同时实现开沟起垄、排种、施肥和覆膜等功能,相比人工种植大大节约了种植时间,提高了工作效率。因此,现今已公开了多种甘蔗种植机,但大多甘蔗种植机中的送蔗转动组件的输送板(或称刮板)为采用硬质的钢板材料制成,这容易损伤或折断甘蔗节中生长出的芽苗,导致甘蔗成活率低,甘蔗产量下降。
传统的地膜安装,是地膜辊通过地膜支架板上的圆孔,架在地膜支架板上。地膜与地面有一定的距离。工作时,随着地膜的铺设,地膜外径越来越小,地膜距地面的距离越来越大,很容易造成地膜破损。
技术实现要素:
针对上述问题,本发明的目的是提供一种甘蔗种植机,该甘蔗种植机能够提高种植效率,且能够避免与大土块硬碰硬而损坏地膜轮和刮裂地膜。
为了实现上述目的,本发明采用的技术方案为:
一种甘蔗种植机,包括机架及均与所述机架连接的行走轮、施肥装置、碎土开沟装置、覆膜机构和导种箱,所述机架前端设有液压驱动装置,所述液压驱动装置与拖拉机的液压输出油管相连;所述施肥装置设于所述机架的前端,所述碎土开沟装置设于所述施肥装置的下后方,所述覆膜机构设于所述机架的后端,所述覆膜机构通过弹簧缓冲器与所述机架连接,所述弹簧缓冲器的一端与所述机架铰接,所述弹簧缓冲器的另一端与所述覆膜机构连接;所述行走轮位于所述机架的下方且位于所述施肥装置和所述覆膜机构之间;所述导种箱位于所述机架上且位于所述施肥装置和覆膜机构之间,所述导种箱的顶部和底部分别设有投种口和排种口,所述导种箱内设有输送机构,所述输送机构包括两个转轴、设于所述两个转轴间的循环输送架和设于所述循环输送架上的输送板,所述转轴转动地装设于所述导种箱上并与所述液压驱动装置连接,所述输送板为塑料板;
所述排种口的下方还设有分行器,所述分行器与所述机架底部连接,所述分行器用于形成甘蔗的两行种植;所述分行器上还设有一块刮土板,用于调节覆盖蔗种的泥土量。
进一步地,所述导种箱的投种口处设有隔板,所述隔板下有调节机构,所述隔板通过所述调节机构连接于所述导种箱的内壁,所述调节机构与拖拉机中驾驶室内的控制台连接;所述调节机构通过控制隔板的移动量调节投种口开口的大小,进而控制蔗种进入输送板的量。
进一步地,所述调节机构包括液压缸,所述液压缸设于所述隔板下方与所述拖拉机连接,所述液压缸还与所述隔板连接,所述液压缸与所述拖拉机的驾驶室上液压操作手柄连接。
进一步地,所述调节机构包括凸轮,所述凸轮通过凸轮轴固定于所述导种箱内且设于所述隔板下方,所述凸轮与所述隔板接触,所述凸轮轴通过皮带与所述转轴连接。
进一步地,所述机架前端还设有限深轮,所述限深轮用于限制种植深度;所述输送机构为2个,所述2个输送机构为左右对称设置,且所述2个输送机构的转动方向相反。
进一步地,所述液压驱动装置包括液压马达,所述液压马达通过齿轮与所述转轴连接,所述导种箱的外壁上还设有调速阀,所述调速阀与所述输送机构、所述液压马达均通过液压管连接。
进一步地,所述施肥装置包括装设在所述机架上的第一肥料箱和第二肥料箱,所述第一肥料箱和第二肥料箱的底部分别连接有施肥导管,所述机架的前端还设有一犁头,两个所述施肥管的底端分别插入所述犁头上的两个孔内。
进一步地,所述覆膜机构包括主支架和覆土起垄板,所述主支架通过所述弹簧缓冲器与所述机架连接,所述覆土起垄板通过覆土起垄板支架与所述主支架固定连接,所述主支架上设有地膜支架、压膜轮支架和覆土铲支架,所述地膜支架包括与所述覆土起垄板连接的两块地膜架板及设于所述两块地膜架板之间的地膜辊,所述两块地膜架板上均开设有T型槽,所述地膜辊的两端通过所述T型槽架在所述两块地膜架板上,所述压膜轮支架的自由端部上连接有压膜轮,所述覆土铲支架的自由端部上连接有覆土铲,所述压膜轮与套于所述地膜辊上的地膜卷接触,所述压膜轮位于所述地膜辊和所述覆土铲之间,所述覆土铲位于所述压膜轮的后方。
进一步地,所述压膜轮为2个,所述2个压膜轮分别通过相应的压膜轮支架对称设于所述地膜支架两侧的后方,两个所述压膜轮支架分别通过铰接接头与所述主支架连接,且两个所述压膜轮支架与所述主支架的连接为可移动连接,以调节2个压膜轮之间的距离。
进一步地,所述覆土铲为2个,所述2个覆土铲分别通过相应的覆土铲支架对称设于所述地膜辊两侧的后方,两个所述覆土铲支架分别通过铰接接头与所述主支架连接,且两个所述覆土铲支架与所述主支架的连接为可移动连接,以调节2个覆土铲之间的距离。
综上所述,由于采用了上述技术方案,本发明的有益效果为:
(1)本发明在导种箱内设置两个转动方向相反的输送机构,两个转动方向相反的输送机构使蔗种经过分行器后,落入两行摆种沟中,实现两行种植,提高了种植效率。本发明还通过设置弹簧缓冲器,使甘蔗种植机在遇到有大块或硬的石块土块时,利用弹簧缓冲器可将整个主支架抬起,使地膜轮、地膜能够跳过大土块,即不与大土块硬碰硬而损坏地膜轮和刮裂地膜。
(2)本发明通过在地膜架板上设置T型槽,使地膜卷的外径随着覆膜的进行而变小的过程中,设于地膜架板上的地膜辊可顺着T型槽下移,地膜卷也随着地膜辊下移,进而保证了地膜始终贴着地面。经过试验发现,地膜直接贴着地面时覆膜效果最佳,且地膜不破损。
(3)同时,覆上地膜前首先用覆土起垄板将已落蔗种的沟覆盖上泥土并刮平起垄,可防止地膜被突起的泥土划破等。此外,将铰接接头与所述地膜支架的连接为可移动连接,通过移动铰接接头,可整体移动压膜轮,使2个压膜轮间的距离可以根据行距以及地膜的宽度而调节,即适用于多种规格的地膜,扩大了本发明的使用范围。
附图说明
图1为本发明实施例1一种甘蔗种植机的主视图;
图2为本发明实施例1一种甘蔗种植机的右视图;
图3为本发明实施例1一种甘蔗种植机的后视图;
图4为本发明实施例2一种甘蔗种植机的后视图。
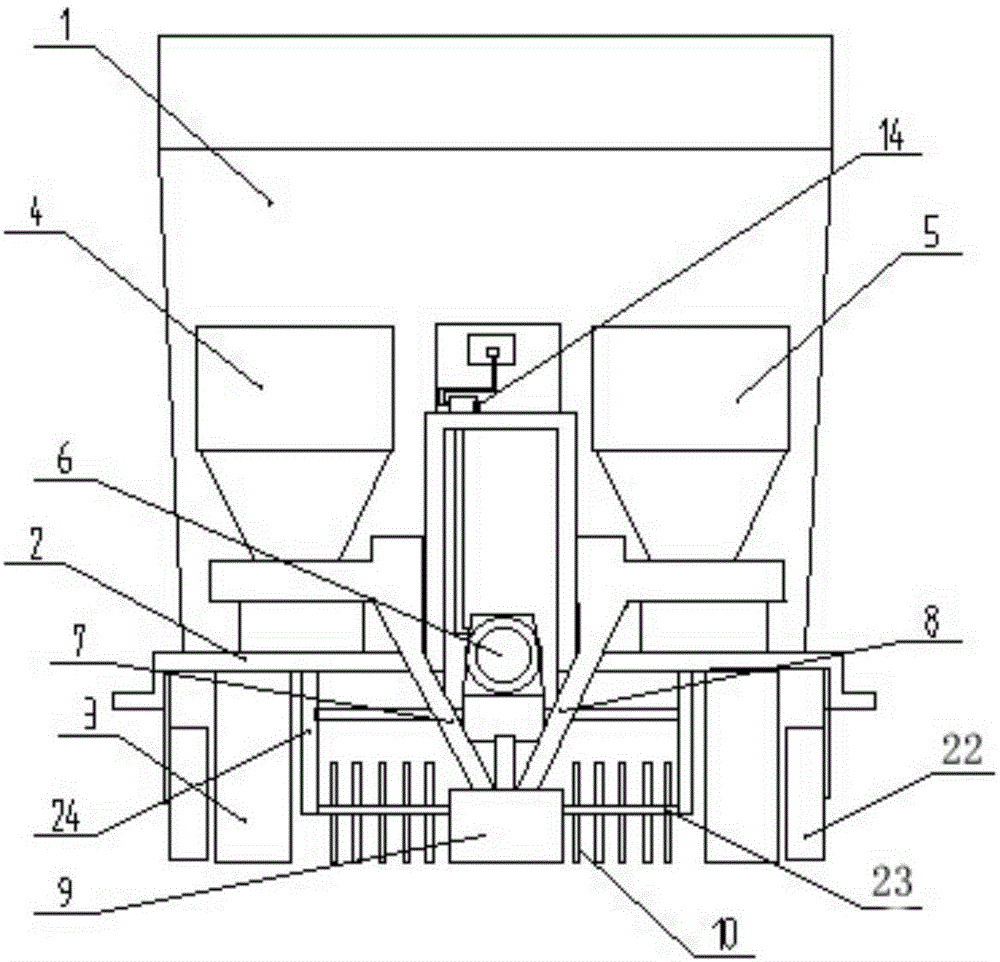
图中,1-导种箱,2-机架,3-行走轮,4-第一肥料箱,5-第二肥料箱,6-液压驱动装置,7-第一施肥管,8-第二施肥管,9-犁头,10-旋耕刀,11-覆土起垄板,12-1-主动轴,12-2-从动轴,13-输送板,14-调速阀,15-地膜支架,16-压膜轮支架,17-覆土铲支架,18-覆土铲,19-压膜轮,20-地膜辊,21-分行器,22-限深轮,23-旋耕轴,24-旋耕轴支架,25-弹簧缓冲器,26-主支架,27-隔板,28-隔板导轨,29-液压缸,30-隔板移动路线,31-凸轮。
具体实施方式
下面将结合本发明实施例中的附图,对本发明实施例中的技术方案进行清楚、完整地描述,显然,所描述的实施例仅仅是本发明一部分实施例,而不是全部的实施例。基于本发明中的实施例,本领域普通技术人员在没有做出创造性劳动前提下所获得的所有其他实施例,都属于本发明保护的范围。
需要说明的是,当组件被称为“固定于”另一个组件,它可以直接在另一个组件上或者也可以存在居中的组件。当一个组件被认为是“连接”另一个组件,它可以是直接连接到另一个组件或者可能同时存在居中组件。当一个组件被认为是“设置于”另一个组件,它可以是直接设置在另一个组件上或者可能同时存在居中组件。本文所使用的术语“垂直的”、“水平的”、“左”、“右”以及类似的表述只是为了说明的目的。
除非另有定义,本文所使用的所有的技术和科学术语与属于本发明的技术领域的技术人员通常理解的含义相同。本文中在本发明的说明书中所使用的术语只是为了描述具体的实施例的目的,不是旨在于限制本发明。本文所使用的术语“及/或”包括一个或多个相关的所列项目的任意的和所有的组合。
实施例1
如图1-图3,一种甘蔗种植机,包括机架2及均与所述机架2连接的行走轮3、施肥装置、碎土开沟装置、导种箱1、分行器21和覆膜机构,所述机架2前端设有液压驱动装置6,所述机架2前端与拖拉机连接,本发明实施例所选拖拉机为拖拉机,所述液压驱动装置6通过快速接头与拖拉机的液压输出油管相连。所述施肥装置设于所述机架2的前端,所述碎土开沟装置设于所述施肥装置的下后方,所述覆膜机构设于所述机架2的后端,所述覆膜机构通过弹簧缓冲器25与所述机架2连接,所述弹簧缓冲器25的一端与所述机架2铰接,所述弹簧缓冲器25的另一端与所述覆膜机构连接,所述行走轮3位于所述机架2的下方且位于所述施肥装置和所述覆膜机构之间,所述导种箱1位于所述机架2上且位于所述施肥装置和覆膜机构之间,所述分行器21位于所述导种箱1中排种口的下方且位于所述覆土起垄板11的前方,所述分行器21与所述机架2底部连接,分行器21用于形成甘蔗的两行种植。分行器21上还设有一块刮土板(图中未示出),刮土板用于调节覆盖蔗种的泥土量。所述机架2前端还设有限深轮22,所述限深轮22用于限制种植深度,同时还有平衡、支撑作用。
所述碎土开沟装置包括左右两组旋耕刀10、旋耕轴23和旋耕轴支架24,所述旋耕轴支架24安装在机架2上,所述旋耕轴23安装于旋耕轴支架24上,所述左右两组旋耕刀10间隔地装设在所述旋耕轴23上,用于开出左右两行种植沟。在本实施方式中,每组旋耕刀由4把旋耕刀10组成,所述4把旋耕刀10呈螺旋状均布在旋耕轴上。所述碎土开沟装置不仅具有碎土功能,还可开种植沟,蔗种经过分行器后落入碎土开沟装置开出的两行种植沟中,完成摆种工作。
所述导种箱1的顶部和底部分别设有投种口和排种口(图中未示出),所述导种箱1内设有输送机构,所述输送机构包括两个转轴、设于所述两个转轴间的循环输送架和设于所述循环输送架上的输送板13,所述两个转轴分别为位于上方的主动轴12-1和位于下方的从动轴12-2,所述主动轴12-1转动地装设于所述导种箱1上并与所述液压驱动装置6通过齿轮连接。所述输送板13为塑料板,采用PVC塑料板代替钢板,利用PVC塑料板的软质,大大减少了蔗种伤牙现象的发生,提高了蔗种的成活率和甘蔗的产量。所述投种口上还设有一隔板27,所述隔板27底部设有调节机构,所述隔板27通过所述调节机构连接于所述导种箱1的内壁,所述调节机构与拖拉机中驾驶室内的控制台连接,由驾驶员操作控制,所述调节机构用于控制隔板27在隔板导轨28上移动,隔板移动路线30如图3所示,当隔板27移动至最低点时,隔板27与导种箱1内壁之间的间隔最小(即隔板27开口最小);所述调节机构通过控制隔板27的移动量调整隔板27与导种箱1内壁之间的间隔大小(即隔板27开口大小),进而控制蔗种进入输送板13的量,防止从隔板27落下的蔗种堆积过多,影响输送板13的正常工作。
所述调节机构包括液压缸29,所述液压缸29设于隔板27下方且与拖拉机连接,所述液压缸29还与隔板27连接,液压缸29受拖拉机的驾驶室上液压操作手柄控制,控制手柄的拉压,使液压缸拉伸或压缩,从而推或拉动隔板27,使隔板27沿着隔板导轨28移动,调整隔板27与导种箱1内壁之间的间隔大小(即隔板27开口大小),至大小适宜。
进一步地,本发明实施例中所述液压驱动装置6包括液压马达,所述液压马达通过齿轮与所述主动轴12-1连接,所述导种箱1的外壁上还设有调速阀14,所述调速阀14与所述输送机构、所述液压马达均通过液压管连接。调速阀14用于调节输送机构的转速,进而调节蔗种的落种量。
进一步地,本发明实施例中所述输送机构为2个,所述2个输送机构为左右对称设置。所述调节机构也相应为2个,分别位于2个输送机构的上方,使蔗种从位于2个调节机构上方的投种口落至左右2个调节机构上的隔板后分别掉至左右两个输送机构的输送板13上。液压驱动装置6中的液压油经油管流至调速阀14,经过调节后的液压油输送至输送机构的液压马达,液压马达带动一对外啮合的齿轮,通过齿轮啮合,带动两根左右对称的主动轴12-1转动,主动轴12-1带动从动轴12-2,进而带动输送板13,使导种箱1内的蔗种,经输送板13送至排种口,掉至分行器21,落入种植沟内,实现两行摆种种植。
进一步地,本发明实施例中所述施肥装置包括第一肥料箱4和第二肥料箱5,所述第一肥料箱4的底部连接有第一施肥导管7,第二肥料箱5的底部连接有第二施肥导管8,所述机架2的前端还设有一犁头9,所述第一施肥管7和第二施肥管8的底端分别插入所述犁头上的两个孔内。本发明实施例首先通过与施肥装置连接的犁头9进行开沟后,再通过施肥装置将肥料撒入沟内,且第一施肥导管7和第二施肥导管8分别插入所述犁头9上的两个孔内可使土地上形成两路肥料,适于甘蔗的两行种植。
进一步地,本发明实施例中所述覆膜机构包括主支架26和覆土起垄板11,所述主支架26通过所述弹簧缓冲器25与所述机架2连接,所述覆土起垄板11通过覆土起垄板支架与所述主支架26固定连接,所述主支架26上设有地膜支架、压膜轮支架16和覆土铲支架17,所述地膜支架包括与所述覆土起垄板11连接的两块地膜架板15及设于所述两块地膜架板15之间的地膜辊20,所述两块地膜架板15上均开设有T型槽,所述地膜辊20的两端通过所述T型槽架在地膜架板15上,所述位于地膜架板15外的地膜辊的两端还焊接有T型头,用于防止地膜辊20轴向串动。工作时,地膜卷套于地膜辊20上,压膜轮19与地膜卷接触并压着铺设的地膜,铺设的地膜直接贴着地面,随着地膜的铺设,地膜卷的外径变小,地膜辊20可顺着T型槽下移,使地膜卷随之下移,进而保证地膜始终保持贴着地面。经过试验发现,由于地面已经经过覆土起垄板11刮平,地膜直接贴着地面时覆膜效果最佳,且地膜不破损。若遇到有大块或硬的石块、土块,因弹簧缓冲器25与机架2为铰接,碰到大土块时,则弹簧缓冲器25可将整个主支架26抬起,使压膜轮19、地膜能够跳过大土块,即不与大土块硬碰硬而损坏压膜轮19和刮裂地膜。
所述覆土起垄板11包括左右对称的两块覆土起垄板11,用于将土覆盖于蔗种上且形成垄。覆土起垄板11通过覆土起垄板支架固定在主支架26上。两块覆土起垄板11通过横轴连接,覆土起垄板11上设有横向长孔,松开螺栓,覆土起垄板11可以沿着长孔左右移动,以达到根据行距要求调节覆土起垄11的位置。本发明实施例首先利用覆土起垄板11将已落蔗种的沟覆盖上泥土并刮平起垄,防止了地膜被突起的泥土划破等情况的发生,避免地膜破损及蔗地的保温保水效果受到影响。
所述压膜轮支架16和覆土铲支架17均与主支架26连接,所述地膜支架15上套有地膜辊20,所述压膜轮支架16的自由端部上连接有压膜轮19,覆土铲支架17的自由端部上连接有覆土铲18,所述压膜轮19与所述地膜辊20上的地膜接触,所述压膜轮19外套设有橡胶外套,橡胶外套可防止地膜被压膜轮19划破。所述压膜轮19位于所述地膜辊20和覆土铲18之间,所述覆土铲18位于所述压膜轮19的后方。且所述覆土铲支架17与所述覆土铲18通过螺栓铰接,以使所述覆土铲18可相对所述覆土铲支架17旋转,调整所述覆土铲18与所述覆土铲支架17形成的角度,角度大则覆土量大,反之则覆土量小。
进一步地,本发明实施例中所述压膜轮19为2个,所述2个压膜轮19分别通过相应的压膜轮支架对称设于所述地膜支架15两侧的后方。本发明实施例采用对称设置的两个压膜轮19而不是仅采用设于地膜辊20中间的一个压膜轮,不仅可促使压膜轮19紧紧压设在地膜辊20上的地膜卷和拖出的地膜上,避免地膜卷松散及提高覆膜效果,还有助于后续的覆土。
进一步地,本发明实施例中所述压膜轮支架16通过铰接接头与所述主支架26连接,当工作时转动压膜轮支架16,使与压膜轮支架16连接的压膜轮19与地膜卷和铺设的地膜接触,当非工作状态时则可向上转动压膜轮支架16。且所述压膜轮支架16与所述主支架26的连接为可移动连接,以调节2个压膜轮19之间的距离。由于不同的种植地中的行距以及用到的地膜规格可能会有所不同,通过压膜轮支架16与所述主支架26的连接为可移动连接,可根据不同种植地的行距和不同地膜的规格移动压膜轮支架16,改变两个压膜轮支架16间的宽度,进而改变两个压膜轮19之间的宽度,扩大了本发明实施例甘蔗种植机的适用范围。同理,所述覆土铲18为2个,所述2个覆土铲18分别通过相应的覆土铲支架17对称设于所述地膜辊20两侧的后方。所述覆土铲支架17通过铰接接头与所述主支架26连接,且两个所述覆土铲支架17与所述主支架26的连接为可移动连接,以调节2个覆土铲18之间的距离。本发明实施例中的可移动连接为通过松开或紧固与压膜轮支架16或覆土铲支架17配合的螺母移动压膜轮支架16或覆土铲支架17,即当需要调节宽度时松开螺母移动压膜轮支架16或覆土铲支架17,移动至所需宽度后紧固螺母即可。
实施例2
本实施例除将实施例1中导种箱1内的调节机构由液压调节改为凸轮调节外,其他均与实施例1相同。即本实施例的所述调节机构包括凸轮31(如图4),所述凸轮31通过凸轮轴固定于所述导种箱1内且设于所述隔板27下方,以使所述凸轮31可与所述隔板27接触,所述凸轮轴通过皮带与所述主动轴12-1连接。通过凸轮31的转动,使隔板可上下抖动,进而调整隔板27与导种箱1内壁之间的间隔大小(即隔板27开口大小),控制蔗种进入输送板13的量,防止蔗种堆积过多,影响输送板13的正常工作。
工作时,蔗种首先从导种箱1顶部的投种口掉至隔板27上,再从隔板27落至输送机构的输送板13上,由于2个输送机构左右设置且传输方向相反,可使甘蔗在两个输送机构的传输下经排种口掉至分行器21,再经分行器21落至由碎土开沟装置开出的种植沟内,使甘蔗呈两行种植,最后由覆膜机构进行覆土盖膜即可。
上述说明是针对本发明较佳可行实施例的详细说明,但实施例并非用以限定本发明的专利申请范围,凡本发明所提示的技术精神下所完成的同等变化或修饰变更,均应属于本发明所涵盖专利范围。
技术研发人员:张坚敏,李孟洪,黄亦其,黄智刚,黄体森
技术所有人:广西双高农机有限公司
备 注:该技术已申请专利,仅供学习研究,如用于商业用途,请联系技术所有人。
声 明 :此信息收集于网络,如果你是此专利的发明人不想本网站收录此信息请联系我们,我们会在第一时间删除
